| Начало раздела Производственные, любительские Радиолюбительские Авиамодельные, ракетомодельные Полезные, занимательные | Хитрости мастеру Электроника Физика Технологии Изобретения | Тайны космоса Тайны Земли Тайны Океана Хитрости Карта раздела | |
| Использование материалов сайта разрешается при условии ссылки (для сайтов - гиперссылки) | |||
Навигация: => | На главную/ Рынок технологий / Актуальные изобретения и модели / Назад / |
|
ИЗОБРЕТЕНИЕ
Патент Российской Федерации RU2121585
ДВИГАТЕЛЬ ВНУТРЕННЕГО СГОРАНИЯ, СПОСОБ ЕГО РАБОТЫ, АВТОМОБИЛЬ И СТАЦИОНАРНАЯ ГЕНЕРАТОРНАЯ УСТАНОВКА С ИСПОЛЬЗОВАНИЕМ ЭТОГО ДВИГАТЕЛЯ
![]()
Имя заявителя: Юнайтед Фьюалс Лимитед (GB)
Имя изобретателя: Питер Джон Бриант (GB); Джэкоб Эпстейн (GB)
Имя патентообладателя: Юнайтед Фьюалс Лимитед (GB)
Адрес для переписки:
Дата начала действия патента: 1993.05.10
Двигатель, способ его работы, генераторная установка и автомобиль с таким двигателем могут быть использованы в энергомашиностроении и на транспорте. В двигателе внутреннего сгорания каждый цилиндр сообщен с источником воздуха и топлива, содержащегося в виде сжатого газа. Причем воздух в цилиндре сжимается в ходе такта сжатия, заканчивающегося непосредственно перед впуском топлива, а воспламенение образованной рабочей смеси начинает рабочий такт. Топливо может быть впущено в цилиндр через устройство, сочетающее в себе функции впускного клапана и воспламенителя. Причем обычный дизельный или бензиновый двигатели могут быть преобразованы путем установки данного устройства в гнездо форсунки обычного дизельного или в гнездо свечи зажигания обычного бензинового двигателей. Сжатым газообразным топливом может быть метан или другой природный газ. Изобретение значительно облегчает преобразование ДВС и его приспособление для работы на разных видах топлива.
ОПИСАНИЕ ИЗОБРЕТЕНИЯ
Изобретение касается двигателей внутреннего сгорания (ДВС), в которых используется в качестве источника энергии газообразное топливо, содержащееся в заправочной емкости в газообразном состоянии.
Большое количество подобных двигателей используется как в автомобилях, так и в стационарных установках. В обоих случаях необходим процесс создания топливовоздушной горючей смеси для каждого рабочего такта цикла путем соединения двух газообразных компонентов в определенных пропорциях для подачи ее в камеру сгорания способом и под давлением, аналогичными тем, что используются в обычных ДВС с жидким топливом. Таким образом, газ подается в смеситель в объеме, соизмеримом с объемом поступающего воздуха, что не создает условий для достижения максимальной мощности двигателя и необходимой экономии топлива. Кроме того, в связи с тем что для сохранения достаточного пробега между заправками газ в заправочной емкости должен содержаться под значительным давлением, обычно около 250 бар, возникает необходимость понижения давления газа на пути от заправочной емкости до смесителя примерно до 70 бар.
Настоящее изобретение основано на ряде преимуществ, исходящих из предварительного сжатия природного газа, применяемого в качестве топлива, перед подачей его в камеру сгорания. Первое из них - в том, что газообразное топливо подается непосредственно в камеру сгорания по шлангу высокого давления через впускной клапан/воспламенитель. Второе - устройство сконструировано таким образом, что оно может легко устанавливаться как в гнездо свечи зажигания обычного бензинового, так и в гнездо форсунки дизельного двигателя. Это облегчает переоборудование обоих типов двигателей для работы на сжатом газе. Третье - сочетание в одном устройстве функций впуска и зажигания топливной смеси. Воспламенение производится в момент начала рабочего такта, сразу после впуска топлива в конце такта сжатия, когда воздух в цилиндре находится под максимальным давлением. При использовании природного газа такие поздние впуск и зажигание необходимы из-за высокого октанового числа данного топлива. Включение в конструкцию впускного клапана системы зажигания значительно облегчает преобразование ДВС на жидком топливе. Особенно это относится к дизельным двигателям, не имеющим штатной системы зажигания.
Устройства для непосредственной подачи газа по топливопроводам высокого давления в камеру сгорания ДВС уже описаны во многих предыдущих публикациях. Среди них описание патента EP-A-0425327. В отличие от настоящего изобретения описанный в нем впускной клапан не осуществляет принципиального управления впуском топлива в камеру сгорания. Подавляющая часть, если не все топливо, впускается не им, а главная функция клапана заключается во впуске воздуха, ингибитора и т.п. Кроме того, EP-A-0425327 не содержит описания какого бы то ни было встроенного во впускной клапан устройства для образования искры. Описание US-A-4520763 содержит иллюстрированное описание устройства для образования искры, но оно предусматривает использование в качестве топлива только гидрогена. Документ не раскрывает предназначения устройства и не описывает преимущества принципа впуска топлива в камеру сгорания только в тот момент, когда воздух уже в значительной степени сжат. В противоположность вышеупомянутому описание US-A-3926169 предусматривает применение в качестве топлива природного газа, такого как метан, но и тут не упоминается потенциальное преимущество впуска газа в камеру сгорания во время такта сжатия, а и преимущество впуска именно в конце этого такта.

Фиг. 1 показана упрощенная схема автомобиля, оборудованного согласно изобретению
![]() Фиг. 2 - основной разрез впускного клапана/воспламенителя, установленного на двигателе | ![]() Фиг. 3 - вид того же впускного клапана/воспламенителя в плане |

Фиг. 4 - вид одного из вариантов впускного клапана/воспламенителя для установки на переоборудованном дизельном двигателе

Фиг. 5 - вид стационарной установки с двигателем, переоборудованным согласно изобретению
На фиг. 1 прямоугольный топливный бак, рассчитанный на содержание природного газа под давлением порядка 250 бар, расположен в задней части конструкции 2 автомобиля, например под багажником. Бак 1 может заправляться из газозаправочного устройства высокого давления через заправочную горловину 3 и штыковое соединение 4, имеет обычные средства безопасности, в том числе предохранительный клапан 5. Сжатые природные газы, в частности метан, имеют ряд качеств, делающих их особенно привлекательными для использования в качестве топлива для ДВС. Одно из таких преимуществ метана - высокое октановое число (около 130), обеспечивающее высокую удельную мощность и хорошие антидетонационные свойства. Другое преимущество - высокая температура воспламенения - вдвое выше, чем у бензино-воздушной смеси, что обеспечивает большую безопасность при аварии или утечке. Третье преимущество метана - низкий уровень вредных выбросов при сгорании, однако для того чтобы его достичь, необходима точная установка момента зажигания, что будет описано ниже.
Из бака 1 газ поступает в топливопровод высокого давления 7 через предохранительный выключатель 8, который замкнут на подобный заправочный выключатель 9. Оба выключателя замкнуты на ключ зажигания автомобиля 10. Топливопровод 7 может перекрываться ручным клапаном 11. Далее газ проходит датчик давления 12 и регулятор давления 13 и поступает к впускным клапанам/воспламенителям 14 (из них на фиг. 1 показан только один) четырех цилиндров (не показаны), расположенных в блоке цилиндров 15 двигателя 16. Четыре впускных коллектора 17 и четыре выхлопных коллектора 18 показаны на фиг. 1.
Электронный блок управления (ЭБУ) 20 получает данные о давлении газа в топливопроводе (от датчика 12), температуре газа в топливопроводе (датчик не показан), положение дроссельных заслонок (от датчика 21), регулирующих работу впускных коллекторов 17, положении коленчатого вала (от датчика 22), температуре охлаждающей жидкости (от датчика 23 на радиаторе 24), давлении воздуха во впускных коллекторах (от датчика 25). ЭБУ 20 запрограммирован на предварительно выбранные базовые рабочие и другие характеристики. Уровни поступающих к нему от вышеописанных датчиков сигналов постоянно соотносятся с запрограммированной эталонной информацией и, таким образом, выработанные командные сигналы подаются через линию 27 на катушку зажигания 28 и распределитель 29, выдерживающие соответствующие момент зажигания и длительность впуска топлива впускным клапаном/воспламенителем 14 в соответствии с действием водителя.
Реально, формируемые далее ЭБУ 20 командные сигналы адекватны понижению давления в топливопроводе 7, высоте автомобиля над уровнем моря и соответствующему ей атмосферному давлению, а и температуре охлаждающей жидкости и газа. В целом ЭБУ 20 запрограммирован на образование оптимальной по обогащенности рабочей смеси для достижения практически возможно низкого уровня выброса вредных веществ и, следовательно, система взаимосвязанных датчиков позволит улучшить первоначальные базовые характеристики двигателя.
Из вышеописанных средств безопасности главная функция предохранительного выключателя подачи топлива 8 заключается в блокировании топливопровода при каждой заправке. Этот выключатель может, к примеру, иметь в своей конструкции клапан с электрическим приводом, действующий в режиме "аварии", автоматически закрывающийся в случае разрыва электрической цепи.
Фиг. 2-4 иллюстрируют два варианта впускного клапана/воспламенителя (который будет в дальнейшем для краткости именоваться инжектором) 14 (фиг. 1) более подробно. Как видно на фиг. 2 и 3, инжектор состоит из металлического корпуса 31, в который подвижно вмонтирован клапан 32, открываемый соленоидом 33 и закрываемый пружиной 43. Катушка 35 соленоида 33 отделена и изолирована прокладками 36, якорем соленоида является стержень клапана 32, изолированный на необходимом участке керамическим слоем 42. Пружина 43 упирается в колпачок 44 из непроводящего материала, фиксируемый болтом 45, соединенным пружиной 47 с контактом высокого напряжения 46, проходящим через мягкий колпачок 50 из непроводящего материала. Контакт 46, в свою очередь, соединяется через распределитель 29 и катушку зажигания 28 с аккумулятором 30 автомобиля. Электрические импульсы, приводящие в действие соленоид 33, поступают к нему и от аккумулятора 30 через контакт низкого напряжения 48 по командам от ЭБУ 20.
Сжатый газ поступает в корпус 31 из топливопровода 7 через патрубок 41, проходит через кольцевой конец 39 к клапанному зазору, образованному между керамической поверхностью 34 на стержне клапана 32 и подобной поверхностью 37 на корпусе 31. В момент, когда соленоид 33 опускает стержень клапана 32 относительно корпуса 31, между поверхностями 34 и 37 образуется клапанный зазор и газ поступает из инжектора в камеру сгорания 55 цилиндра 56 (с поршнем 59). При этом корпус 31 ввинчен при помощи резьбового соединения 57 в гнездо свечи зажигания 58 двигателя, преобразованного для работы на газе.
По команде ЭБУ 20 клапан поднимается, перекрывая подачу газа. Когда поршень 59 находится в верхнем положении, такт сжатия закончен, полная доза воздуха (попавшего в цилиндр 56 в течение предыдущего такта впуска через впускной коллектор 17) сжата. ЭБУ 20 весь период этого такта сохраняет закрытое положение клапана, затем открывает его, а когда соответствующая доза газа впущена, снова закрывает его. К тому моменту, когда впускается газ, впущенный воздух должен быть сжат до максимально возможной степени с тем, чтобы повысить его температуру перед воспламенением. При повышении температуры воздуха возрастает и мощность двигателя.
Когда клапан закрывает четыре разрядных электрода 51, расположенных в нижней части клапана под одинаковым углом к оси инжектора, они оказываются на оптимальном расстоянии для разряда высокого напряжения от четырех соответствующих электродов 38, расположенных на нижней части корпуса 31. Разряд высокого напряжения, инициированный ЭБУ 20, воспламеняет топливовоздушную смесь в камере сгорания 55, начиная рабочий такт цикла. Характеристики стока тепла 49, расположенного в нижней части стержня клапана 32, могут быть специально подобраны для конкретного типа конверсируемого двигателя с целью компенсации разницы между температурами сгорания топлива в штатном и переоборудованном вариантах. Высокая степень сжатия воздуха перед впуском газа, повышающая его температуру, и способствует увеличению быстроты распространения фронта горения после воспламенения топливовоздушной смеси, что описано выше.
В стандартном ДВС, где поршни соединены шатунами с кривошипами коленчатого вала, такт сжатия составляет 180o его оборота, в конце которого поршень оказывается в верхней мертвой точке (ВМТ). Необходимым условием данного изобретения для этого типа двигателей является сжатие воздуха в цилиндре до впуска газа, причем впуск должен приходиться на последние 20o, а предпочтительнее - 10o поворота коленчатого вала до ВМТ. В этот момент давление внутри цилиндра обычного автомобильного двигателя со средними характеристиками составляет примерно 600-1000 пси.
Обогащенность газовоздушной смеси, находящейся в цилиндре в момент зажигания, регулируется длительностью впуска газа клапаном 32 по команде ЭБУ 20 на соленоид 33. Типичная длительность впуска равна 3 - 17 мс, то есть соизмерима с этим параметром современного гоночного автомобиля. Это становится возможным благодаря высокому давлению во всей системе подачи топлива вплоть до клапана 32, а высокая точность регулирования длительности впуска обеспечивается простотой конструкции и управления клапаном, который имеет только два положения - либо полностью открыт, когда на соленоид подается напряжение, либо полностью и быстро закрыт возвратной пружиной 43 при обесточивании соленоида. ЭБУ 20 регулирует длительность впуска в соответствии с температурой воздуха и атмосферным давлением, температурой головки цилиндра, содержанием кислорода в выхлопе и положением дроссельной заслонки. Последнее отражает степень затребованной водителем мощности. ЭБУ 20 определяет момент зажигания с учетом положения коленчатого вала двигателя и частоты его оборотов на этот момент. Точное управление зажиганием предотвращает детонацию, особенно при работе на бедной смеси.
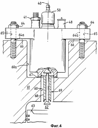
Поскольку инжектор для дизельного двигателя в основном по своей конструкции аналогичен изображенному на фиг. 2, 3, на фиг. 4 изображены только детали, показывающие особенности его установки в гнездо форсунки 60 в нише 60а головки цилиндра 62 (включая поршень 63) конверсированного дизельного двигателя. Вместо ввинчивания в гнездо 60 в отличие от гнезда свечи зажигания бензинового двигателя корпус инжектора 31 в данном случае крепится на головке цилиндра гайками 64 и винтами 64а, проходящими сквозь отверстия 65, просверленные в плечах 66, отступающих от корпуса, а уплотнение между корпусом инжектора и головкой блока обеспечивается прокладкой 67. В данном варианте осевое расстояние между клапанным зазором (34/37 на фиг. 2) и зазором между электродами (51/38) больше, чем в варианте конверсированного бензинового двигателя, что связано с большей толщиной головки цилиндра 61 дизельного двигателя, кроме того, гнездо форсунки дизельного двигателя имеет меньший диаметр, чем гнездо свечи зажигания 58 на фиг. 2 и 3. Когда клапанный зазор 34/37 открыт, газ проходит в цилиндр 62 одновременно двумя путями: через пространство между стенками гнезда форсунки 60 и внешней поверхностью удлиненной части 69 корпуса 31 инжектора, а и через пространство между внутренними стенками удлиненной части 69 корпуса и стержнем клапана. Когда клапан (поверхности 34/37) закрыт, электроды 51 и 38 оказываются на оптимальном расстоянии для разряда высокого напряжения.
Поскольку инжектор на фиг. 4 имеет сравнительно протяженные каналы прохождения газа, он мог бы оснащаться направляющими для предотвращения завихрений при прохождении газа через гнездо 60 в камеру сгорания 62, однако в этом нет необходимости, так как строгая направленность потока газа достигается путем точного совмещения оси инжектора 40 и оси цилиндра при помощи гаек 64 и винтов 64а.
На фиг. 5 показана стационарная генераторная установка, оборудованная согласно изобретению. Газ поступает по питающему трубопроводу 76, обходит ручной прерывающий кран 77, счетчик расхода газа 78, обратный клапан 79, выключатель низкого давления 80. Обратный клапан 79 предохраняет счетчик 78 и питающий трубопровод 76 от обратного удара, а выключатель 80 автоматически выключает установку в случае падения давления газа в питающем трубопроводе ниже определенного уровня.
Далее газ поступает в компрессор 82, где его давление повышается и попадает в баллон-накопитель 75, предназначенный для исключения влияния на работу двигателя возможных колебаний давления в питающем трубопроводе и для содержания достаточного резерва сжатого газа для пуска установки после простоя. Таким образом, баллон 75 выполняет ту же функцию, что и топливный бак 1 на фиг. 1. Из баллона 75 сжатый газ проходит через второй ручной перекрывающий кран 83 в регулятор давления 84, понижающий давление газа до расчетного уровня для топливопровода 85, подающего газ под этим давлением к впускным клапанам/воспламенителям 86 и далее в камеры сгорания двигателя 87, приводящего в действие генератор 88 и компрессор 82, соединенные общим валом 89.
Управление работой двигателя осуществляет ЭБУ 95, подобный ЭБУ 20 на фиг. 1, который получает данные о положении дроссельной заслонки (от датчика 96), температуре охлаждающей жидкости (от датчика 97) и положении коленчатого вала (от датчика 98).
Забор воздуха в двигатель 87 осуществляется через фильтр/глушитель 99, а выхлоп - через фильтр/глушитель 99а. Требуемая частота оборотов коленчатого вала устанавливается рычагом 100 и отображается тахометром 101. Заданная вручную частота оборотов далее автоматически поддерживается ЭБУ 95. На распределительном щите 104 помещены выходные разъемы 105 генератора 88, главный изолятор 106, пусковая система низкого напряжения, включающая аккумулятор 108, зарядное устройство 109, подключенное к источнику высокого напряжения 110. Аккумулятор подает питание на стартер 111 двигателя при нажатии на пусковую кнопку 112. Двигатель может быть заглушен при помощи выключателя зажигания 113. Если двигатель перегревается, ЭБУ 95 понижает его обороты вплоть до холостых, а в случае падения давления в питающем трубопроводе 76 до слишком низкого уровня ЭБУ выключает зажигание. ЭБУ выключает зажигание и в случае падения давления масла в двигателе, уровень которого индицируется на шкале манометра 115, подключенного к датчику 116.
Вместо генератора 88 в установке могут монтироваться другие агрегаты, приводимые в действие двигателем 87, например жидкостный насос или компрессор.
ФОРМУЛА ИЗОБРЕТЕНИЯ
1. Двигатель внутреннего сгорания, включающий по меньшей мере один комплект поршень-цилиндр, в котором цилиндр связан с источниками поступления воздуха и топлива, содержащегося как газ под давлением, в котором рабочий цикл включает такт сжатия, в ходе которого цилиндр принимает полную дозу воздуха и сжимает его, и в котором такт сжатия, по существу, закончен перед тем, как газообразное топливо под давлением подается в цилиндр из источника топлива через устройство для впуска, и полученная топливно-воздушная смесь соответственно воспламеняется посредством воспламенителя для начала рабочего такта цикла, отличающийся тем, что, по существу, все газообразное топливо подается в цилиндр через устройство для впуска, включающее впускной клапан, содержащий элемент, оснащенный электродом воспламенителя, и впускной клапан установлен с возможностью блокировки поступления топлива в цилиндр из источника топлива до зажигания топливно-воздушной смеси.
2. Двигатель по п. 1, отличающийся тем, что поршень работает по возвратно-поступательному принципу.
3. Двигатель по п.1, отличающийся тем, что он включает оснащенный электроприводом впускной клапан, через который топливо поступает в цилиндр, при этом клапан приспособлен для открытия при приведении в действие источника энергии.
4. Двигатель по п.3, отличающийся тем, что впускной клапан приспособлен для работы в двух положениях - полностью открытом или полностью закрытом.
5. Двигатель по п.4, отличающийся тем, что возвратная пружина выполнена с обеспечением возвращения клапана в полностью закрытое положение как только он обесточен.
6. Двигатель по п.1, отличающийся тем, что устройство для впуска топлива установлено в штатное гнездо для свечи зажигания обычного цилиндра двигателя, предназначенного для работы на бензине.
7. Двигатель по п.1, отличающийся тем, что устройство для впуска топлива установлено в штатное гнездо для форсунки обычного цилиндра двигателя, предназначенного для работы по принципу воспламенения от сжатия на дизельном топливе.
8. Двигатель по любому из пп.1 - 7, отличающийся тем, что он приспособлен для использования сжатого природного газа в качестве топлива.
9. Двигатель по п.1, отличающийся тем, что впускной клапан оснащен и средством для поглощения тепла, позволяющим компенсировать разницу в остаточном тепле, и таким образом расширить круг двигателей различных типов и размеров, пригодных для использования впускного клапана.
10. Двигатель по п.1, отличающийся тем, что он включает коленчатый вал и средства для определения момента зажигания по информации о положении коленчатого вала.
11. Двигатель по п.1, отличающийся тем, что устройство для впуска топлива содержит две части, способные в определенном интервале перемещаться относительно друг друга, в котором по меньшей мере одна пара электродов для образования искры зажигания размещена на этих частях по одному элементу на каждой, при этом, когда обе части находятся в одном конце интервала относительного перемещения, впускной клапан закрыт и пара электродов оказывается на оптимальном расстоянии друг от друга для образования искры, а при движении к другому концу интервала перемещения расстояние между парой электродов увеличивается.
12. Автомобиль, отличающийся тем, что он включает двигатель по любому из пп.1 - 11 и заправочные средства, приспособленные для содержания топлива под высоким давлением в газообразном состоянии.
13. Стационарная генераторная установка, отличающаяся тем, что она содержит компрессор для газообразного топлива, двигатель по пп.1 - 11 и средства для выработки энергии, причем двигатель приводит в действие и компрессор и средства для выработки энергии.
14. Способ работы двигателя внутреннего сгорания, включающего, по меньшей мере, один комплект поршень-цилиндр и работающий на цикле сгорания, включающем такт сжатия, после которого следует начинаемый зажиганием рабочий такт, отличающийся тем, что полную дозу воздуха впускают в цилиндр и сжимают поршнем до конца такта сжатия, причем впуск уже сжатого газообразного топлива в цилиндр осуществляют от источника топлива через устройство, включающее впускной клапан, содержащий элемент, оснащенный электродом воспламенителя, полученную топливно-воздушную смесь соответственно воспламеняют посредством воспламенителя, в то время как впускной клапан закрыт, таким образом начинают рабочий такт цикла, причем впуск газообразного топлива под давлением в цилиндр, по существу, совпадает с окончанием такта сжатия.
15. Способ по п.14, отличающийся тем, что впуск, по существу, всей дозы предварительно сжатого газообразного топлива осуществляют, по существу, в пределах последних 20o оборота коленчатого вала до достижения поршнем верхней мертвой точки в конце такта сжатия.
16. Способ по п.14, отличающийся тем, что впуск, по существу, всей дозы предварительно сжатого газообразного топлива осуществляют, по существу, в пределах последних 10o оборота коленчатого вала до достижения поршнем верхней мертвой точки в конце такта сжатия.
17. Способ по п.14, отличающийся тем, что впуск предварительно сжатого газообразного топлива осуществляют в тот момент, когда давление воздуха в цилиндре достигает пределов 600-1000 пси.
Версия для печати
Дата публикации 28.12.2006гг
Created/Updated: 25.05.2018
|


