| Начало раздела Производственные, любительские Радиолюбительские Авиамодельные, ракетомодельные Полезные, занимательные | Хитрости мастеру Электроника Физика Технологии Изобретения | Тайны космоса Тайны Земли Тайны Океана Хитрости Карта раздела | |
| Использование материалов сайта разрешается при условии ссылки (для сайтов - гиперссылки) | |||
Навигация: => | На главную/ Рынок технологий / Актуальные изобретения и модели / Назад / |
|
ИЗОБРЕТЕНИЕ
Патент Российской Федерации RU2085016
ДВИЖИТЕЛЬ-ГЕНЕРАТОР ИСПОЛЬЗУЮЩИЙ В КАЧЕСТВЕ ТОПЛИВА
ЭНЕРГИЮ ФИЗИЧЕСКОГО ВАКУУМА
![]()
Имя заявителя: Лиманский Валентин Григорьевич
Имя изобретателя: Лиманский Валентин Григорьевич
Имя патентообладателя: Лиманский Валентин Григорьевич
Адрес для переписки:
Дата начала действия патента: 1995.05.29
Использование: изобретение относится к области движителе- и генераторостроения и может быть использовано для создания движущей силы.
Сущность изобретения: движитель-генератор содержит возбуждаемый элемент из вещества, находящегося в квантовом состоянии, с неоднородным распределением по объему электрического заряда и/или массы, и источник электрического и/или магнитного потенциала. Предусмотрено различное выполнение возбуждаемого элемента и источника потенциала.
ОПИСАНИЕ ИЗОБРЕТЕНИЯ
Изобретение относится к области движителестроения и генераторостроения и может быть использовано для получения электрической энергии и/или приведения в движение транспортных средств в земном и космическом пространстве.
В настоящее время передвижение в земном и космическом пространстве осуществляется в основном с помощью двигателей внутреннего сгорания и реактивных движителей.
Большую долю электрической энергии дают тепловые электрические станции.
Эти устройства энергоемки, так как требуют сжигания больших количеств топлива и загрязняют атмосферу.
Атомные станции для своей работы используют весьма опасное для жизни людей радиоактивное топливо.
Наиболее близким к изобретению являетсяустройство для перемещения объекта в
пространстве, содержащее возбуждаемый
элемент (массу) и источник магнитного поля
[1] Особенностью известного устройства
является то, что оно использует энергию
физического вакуума и потому обычных
источников энергии - нефти, угля, газа и т.п.
для своей работы не требует. Однако в рамках
существующих технологических возможностей
тяга его сравнительно невелика - порядка
граммов, с [2]
Описываемое изобретение направлено на
создание высокоэффективного экологически
чистого устройства для приведения в
движение объекта в пространстве и/или
получения электрической энергии, работа
которого не была бы связана с
использованием топлива. Источником энергии
данного устройства является энергия
физического вакуума, что подтверждено
экспериментально.
Таким образом, технической задачей изобретения является расширение области применения, снижение затрат, существенное увеличение энерговооруженности, улучшения среды обитания человека.
Поскольку устройство одновременно может быть и движителем и источником электрической энергии, то оно может быть названо движителем-генератором. В зависимости от назначения оно может работать в одном из следующих трех режимов: как движитель, как генератор электрической энергии и как движитель и генератор одновременно.
Указанная задача достигается тем, что в устройстве, содержащем возбуждаемый элемент и источник электромагнитного поля, возбуждаемый элемент выполнен из вещества, находящегося в квантовом состоянии с неоднородным распределением по объему электрического заряда и/или массы, а источник является генератором электрического и/или магнитного потенциала.
В конкретных частных случаях возбуждаемый элемент может быть выполнен:
-
в виде ромбовидной соленоидальной катушки из сверхпроводника, а источник электрического потенциала выполнен в виде четырех электрических конденсаторов, установленных с внешней стороны катушки, пластины которых параллельны соответствующим ее сторонам, или
-
в виде ромбовидной соленоидальной катушки из сверхпроводника, а источник магнитного потенциала выполнен в виде четырех соленоидальных катушек из сверхпроводника, расположенных с внешней стороны ромбовидной катушки, оси которых параллельны соответствующим ее сторонам и перпендикулярны ее оси, или
-
в виде пластины в форме параллелепипеда, заключенного с пяти сторон в жесткий каркас, с примыкающей к свободной стороне пластины рессорой, а источник электрического потенциала выполнен в виде электрического конденсатора, который установлен параллельно стороне, противоположной рессоре, или
-
в виде цилиндра с радиальными прорезями, а источник электрического потенциала выполнен в виде двух электрических конденсаторов, имеющих различную полярность, каждый из которых расположен со стороны соответствующего торца цилиндра и покрывает его часть, или
-
в виде цилиндра, в одном торце которого находится нагреватель, а в другом охладитель цилиндра, а источник электрического потенциала выполнен в виде цилиндрического электрического конденсатора, окружающим часть этого цилиндра, или
-
в виде жидкости (например, ртути или галия), заполняющей полый, с внутренней перегородкой, цилиндр, а источник электрического потенциала выполнен в виде двух электрических конденсаторов, каждый из которых расположен со стороны соответствующего торца цилиндра и покрывает его часть, или
-
в виде полого (заполненного газом под давлением) цилиндра, с равномерно уменьшающейся по длине цилиндра толщиной стенки, а источник электрического потенциала выполнен в виде цилиндрического электрического конденсатора, окружающего часть этого цилиндра, или
-
в виде прямоугольного параллелепипеда, помещенного в имеющую форму трапецию, пластину вблизи одной из ее непараллельных сторон, выполненную из жесткого прочного диэлектрика, а источник электрического потенциала выполнен в виде конденсатора, две пластины которого охватывают извне непараллельные стороны трапеции и прочно связаны с ней, или
-
в виде двух прямоугольных параллелепипедов, помещенных в пластину, имеющую форму трапеции, из жесткого прочного диэлектрика, причем каждый из параллелепипедов расположен вблизи одной из непараллельных сторон трапеции, а источник электрического потенциала выполнен в виде электрического конденсатора, две пластины которого охватывают извне непараллельные стороны трапеции и прочно связаны с ней, или
-
в виде двух сверхпроводящих пластин электрического конденсатора, а источник переменного во времени магнитного потенциала выполнен в виде прямоугольной соленоидальной катушки, охватывающей конденсатор, причем каждый из двух концов катушки соединен с соответствующей пластиной конденсатора так, что в целом система образует колебательный LC-контур с устройством для подкачки электрической энергии, или
-
в виде полого, заполненного газом под давлением яйцевидного вытянутого тела, с равномерно уменьшающейся по длине тела к узкому концу, толщиной стенки;
-
двенадцатый частый случай отличается от первого случая тем, что внутри ромбовидной соленоидальной катушки по всей ее длине расположено тело из сверхпроводника в поперечном сечении катушки в виде восьмерки, располагающейся вдоль большой диагонали ромба, стягивающейся к этой диагонали и уменьшающейся по высоте, по мере приближения к концам ромбовидной соленоидальной катушки;тринадцатый частный случай отличается от второго случая тем, что внутри ромбовидной соленоидальной катушки по всей ее длине расположено тело из сверхпроводника, имеющее в поперечном сечении катушки форму восьмерки, располагающейся вдоль большой диагонали ромба, стягивающейся к этой диагонали и уменьшающейся по высоте по мере приближения к концам ромбовидной соленоидальной катушки.
-
движитель-генератор по п.1 отличающийся тем, что возбуждаемый элемент выполнен в виде ромбовидной соленоидальной катушки из сверхпроводника, а источник электрического потенциала выполнен в виде двух конденсаторов и двух соленоидальных катушек из сверхпроводника, установленных с внешней стороны катушки, пластины конденсаторов и оси катушек параллельны соответствующим сторонам ромбовидной катушки, а внутри ромбовидной соленоидальной катушки по всей ее длине расположено тело из сверхпроводника, в поперечном сечении катушки в виде восьмерки, располагающейся вдоль большой диагонали ромба, стягивающейся к этой диагонали и уменьшающейся по высоте по мере приближения к концам ромбовидной соленоидальной катушки.
Под веществом (материалом), находящимся в квантовом состоянии, понимают такое его состояние, в котором весь отрицательный заряд (масса) вещества или часть этого заряда (массы) описывается одной волновой функцией [3, c. 27, 51, 55] Об этом заряде (массе) идет речь в формуле изобретения.
Квантовое состояние характерно, например, для сверхпроводника ниже критической температуры. В этом же состоянии может находиться отрицательный заряд в изоляторах, например, в сверхтекучем гелии.
В устройстве, работающем как генератор электрической энергии, вещество (находящееся в квантовом состоянии) должно быть сверхпроводником электрического тока. Для движителя это условие необязательно.
Неоднократное распределение по объему указанных выше заряда и/или массы в веществе, находящемся в квантовом состоянии, может достигаться, например, с помощью неоднородного сжатия или растяжения, температурного, технологического воздействия на это вещество (возбуждаемый элемент), воздействия на него электрическим и магнитным полем, зарядом и т.п.
Обозначим через
и m соответственно плотности
отрицательного заряда и массы,
макроскопически находящихся в квантовом
состоянии, va 4 скорость движения этого
заряда,
вектор потенциала электромагнитного поля,
,
мировое (собственное)
эйнштейновское время, t обычное время, c -
скорость света, [6, c. 298, 301, 315] [4, c. 21, 22, 25]
Работа устройства основана на наличии
физической силы, действующей на эти заряд и
массу, а следовательно, в целом на вещество
в квантовом состоянии (возбуждаемый
элемент), находящееся в поле электрического
и магнитного потенциалов. Величина данной
силы, точнее плотности силы приближенно
описывается выражением
где k коэффициент, зависящий от вещества,
численное значение которого для
конкретного материала находится либо
теоретически, либо экспериментально.
Подчеркнем, что эта сила приложена к
электродам (вещества), находящимся в
квантовом состоянии. Поэтому в одном
устройстве можно совмещать одновременно и
движитель и генератор электрического тока.
Последнее отвечает, в частности, единству
изобретательского замысла.
Теоретическое обоснование плотности силы (1) дано в статье автора [4, c. 46, 47, 42] которая названа там градиентной.
Как видно, сила (1) пропорциональна
градиентам плотности заряда, массы и вектор
потенциалу
.
Она возникает, например, в сверхпроводниках,
в сверхтекучем гелии (3He, 4He),
ртути и т.д. помещенных в поле
электромагнитных потенциалов. В настоящее
время имеется небольшой набор материалов (гелий,
ниобий-титановый сплав и т.д.), пригодных для
промышленной эксплуатации в возбуждаемом
элементе движителя-генератора. Поэтому
исследователям необходимо ускорить работы
по расширению ассортимента
соответствующих, особенно
высокотемпературных, материалов (как
сверхпроводников, так и несверхпроводников),
находящихся в квантовом состоянии.
Несверхпроводниковые материалы,
находящиеся в квантовом состоянии (например
гелий), можно использовать в возбуждаемом
элементе движителя.
Для создания силы необходимо наличие
источника потенциалов электромагнитного
поля, описываемого четырьмя компонентами
. В
качестве такого источника может быть
использован, например, проводник с
электрическим током, заряд или
электрический конденсатор. В устройстве,
основанном на использовании только
градиента массы, эти потенциалы, в
частности, могут быть равны нулю (см. в
формуле изобретения одиннадцатый частный
пример). Так как в плотность силы (1)
напряженности электрического и магнитного
поля не входят, то в данном устройстве
используются только потенциалы
электромагнитного поля. Они не связаны с
другими внешними, по отношению к устройству,
полями.
Мощность устройства определяется плотностью силы (1).
Описанное здесь устройство (движитель-генератор), соответствующее п. 1 формулы изобретения, будем называть и градиентным. П. 2-15 формулы соответствуют частным случаям устройства.
В известных электрических устройствах возбуждаемым элементом является, например, ротор, в котором создается либо момент, либо электрический ток; статор используется в качестве источника электромагнитного поля. В движителе [1] в качестве возбуждаемого элемента используется масса, а в качестве источника векторного потенциала и магнитного поля например, тороидальная обмотка с электрическим током. В этих известных устройствах непосредственно используются разность электрических потенциалов (генераторы электрического тока), магнитное поле с векторным потенциалов [1] и электрическое и магнитное поле (электрические двигатели). Поскольку в известных устройствах всегда автоматически создаются и потенциалы электромагнитного поля, то выражения "источник электромагнитного поля" и "источник потенциалов электромагнитного поля" здесь считаются эквивалентными. Последнее обстоятельство использовано при формулировании п. 1 формулы изобретения.
На фиг. 1 дан общий вид установки, на которой в одном из российских конструкторских бюро экспериментально была обнаружена сила (1), действующая на ромбовидную соленоидальную катушку 1 из сверхпроводника, помещенную в поле векторного потенциала, окружающих ее вытянутые части цилиндрических соленоидов 2.
На фиг. 2 приведен один из результатов этого эксперимента, на которой представлен график 3 измерения веса устройства (далее изделие, состоящее из указанной выше ромбовидной катушки и окружающих ее вытянутые части цилиндрических соленоидов) в зависимости от электрического тока в ромбовидном (см. график 4) и цилиндрических (см. график 5) соленоидах.
На фиг. 3-16 изображены примеры схем
устройства, описываемых в пунктах 2-15
соответственно формулы изобретения, в
которых направления действующих сил (в
частных случаях показаны стрелками) в
согласии с выражением (1) определяются
градиентами плотности заряда, массы и
вектор потенциалом ![]()
![]() | Установка фиг. 1 состоит из ромбовидной соленоидальной катушки 1 и охватывающих ее вытянутые части цилиндрических соленоидов 2 (из сверхпроводника), жестко связанных между собой. Это изделие, состоящее из соленоида 1 и соленоида 2, помещено в жидкий гелий (находящийся в криостате). При наличии электрического сверхпроводящего тока в соленоидах возникала сила, величиной около 2 кг·с, направленная вверх или вниз, в зависимости от направления тока характеризуется соответственно уменьшением или увеличением веса изделия (график 3, фиг 2). Один из результатов эксперимента представлен на графике фиг. 2. Зависимость физических явлений в
значительно меньшей степени неоднократно
наблюдалась и в других по идее
экспериментах, выполненных ранее другими
исследователями [5] Эти эксперименты
проводились с учетом предложения в 1959 году
ученых Ааронова и Бома о зависимости силы
не только от электрических E и магнитных
Hполей, но и от потенциалов Отметим, что общековариантный закон
сохранения энергии, который кроме обычной
скорости движения, включает еще скорость
течения обычного времени t относительно
мирового эйнштейновского времени |
Описываемые по п. 2-15 формулы изобретения частные случаи движителя-генератора в статике содержат каждый возбуждаемый элемент из вещества в квантовом состоянии с неоднородным распределением по объему электрического заряда и/или массы и генератор электрического и/или магнитного потенциала и отличаются друг от друга выполнением возбуждаемого элемента и источника (генератора) электрического и/или магнитного потенциала. При этом, в устройствах, соответствующим п. 4 10, 12 формулы, в качестве возбуждаемого элемента могут использоваться как сверхпроводники, так и несверхпроводники. В устройстве, работающем как генератор электрической энергии, вещество (находящееся в квантовом состоянии) возбуждаемый элемент должен быть сверхпроводником электрического тока. Для движителя это условие необязательно. Движитель-генератор по п. 2 формулы изобретения (фиг. 3) содержит источник электрического потенциала, выполненный в виде четырех электрических конденсаторов 6, установленных с внешней стороны возбуждаемого элемента - ромбовидной соленоидальной катушки 7 из сверхпроводника. | ![]() |
![]() | ![]() |
Движитель-генератор по п. 3 (фиг. 4) формулы содержит возбуждаемый элемент, выполненный в виде ромбовидной соленоидальной катушки 8 из сверхпроводника, а источник магнитного потенциала выполнен в виде четырех соленоидальных катушек 9 из сверхпроводника, расположенных с внешней стороны ромбовидной соленоидальной катушки, оси которых параллельны соответствующим ее сторонам и перпендикулярны ее оси.
![]() | ![]() |
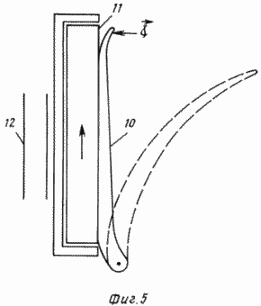
Движитель-генератор по п. 4 (фиг. 5) формулы состоит из возбуждаемого элемента в виде пластины 11 в форме параллелепипеда, заключенного с пяти сторон в жесткий прочный каркас, с примыкающей к свободной стороне пластины, рессорой 10. Источник электрического потенциала выполнен в виде электрического конденсатора 12, который установлен параллельно стороне, противоположной рессоре.
Движитель-генератор по п. 5 (фиг. 6) формулы состоит из возбуждаемого элемента, выполненного в виде цилиндра 13 с радиальными прорезями 14, а источник электрического потенциала выполнен в виде двух электрических конденсаторов 15 и 16, имеющих различную полярность, каждый из которых расположен со стороны соответствующего торца цилиндра 13 и покрывает его часть.
![]() | ![]() |
Движитель-генератор по п. 6 (фиг. 7) формулы содержит возбуждаемый элемент в виде цилиндра 19, в одном торце которого находится нагреватель 17, а в другом охладитель 18, а источник электрического потенциала выполнен в виде цилиндрического конденсатора 20, окружающего часть этого цилиндра.
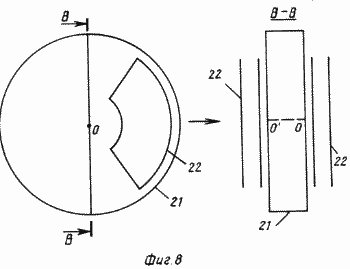
Движитель-генератор по п. 7 (фиг. 8) формулы содержит возбуждаемый элемент в виде жидкости, заполняющей полый с внутренней продольной перегородкой цилиндр 21, установленный с возможностью вращения, а источник электрического потенциала выполнен в виде двух электрических конденсаторов 22, каждый из которых расположен со стороны соответствующего торца цилиндра и покрывает его часть.
![]() | ![]() |
| ![]() |
Движитель-генератор по п. 8 (фиг. 9) формулы содержит возбуждаемый элемент в виде полого, заполненного газом под давлением цилиндра 23 с равномерно уменьшающейся по длине цилиндра толщиной стенки, а источник электрического потенциала выполнен в виде электрического цилиндрического конденсатора 24, окружающего часть этого цилиндра.
Движитель-генератор по п. 9 (фиг. 10) формулы содержит возбуждаемый элемент 25, выполненный в виде прямоугольного параллелепипеда, помещенного в имеющую форму трапеции пластину 26 вблизи одной из ее непараллельных сторон, выполненную из жесткого прочного диэлектрика, а источник электрического потенциала выполнен в виде электрического конденсатора 27, две пластины которого охватывают извне непараллельные стороны трапеции и прочно связаны с ней.
Движитель-генератор по п. 10 (фиг. 11) формулы содержит возбуждаемый элемент, выполненный в виде двух прямоугольных параллелепипедов 28 и 29, помещенных в пластину 30, имеющую форму трапеции, выполненную из жесткого прочного диэлектрика, причем каждый из параллелепипеда расположен вблизи одной из непараллельных сторон трапеции, а источник электрического потенциала выполнен в виде электрического конденсатора 31, две пластины которого охватывают извне непараллельные стороны трапеции и прочно связаны с ними.
Движитель-генератор по п. 11 (фиг. 12) формулы содержит возбуждаемый элемент, выполненный в виде двух сверхпроводящих пластин электрического конденсатора 32, а источник переменного во времени магнитного потенциала выполнен в виде прямоугольной соленоидальной катушки 33, охватывающей конденсатор, причем каждый из двух концов катушки соединен с соответствующей пластиной конденсатора 32 так, что в целом система образует колебательные LC-контур с устройством 34 для подкачки электрической энергии.
![]() | ![]() | ![]() | ![]() |
Движитель-генератор по п. 12 (фиг. 13) формулы содержит возбуждаемый элемент в виде полого, яйцевидного, вытянутого тела 35, заполненного газом 36 под давлением, с равномерно уменьшающейся по длине тела к узкому концу толщиной стенки.
Движитель-генератор по п. 13 (фиг. 14) формулы содержит располагающееся внутри ромбовидной соленоидальной катушки 37 тело 38 из сверхпроводника в поперечном сечении катушки в виде восьмерки, располагающейся вдоль большой диагонали ромба, стягивающейся к этой диагонали и уменьшающийся по высоте по мере приближения к концам ромбовидной соленоидальной катушки.
Движитель-генератор по п. 14 (фиг. 15) формулы содержит располагающееся внутри ромбовидной соленоидальной катушки 39 тело 40 из сверхпроводника по форме в поперечном сечении катушки в виде восьмерки, располагающееся вдоль большой диагонали ромба, стягивающейся к этой диагонали и уменьшающейся по высоте по мере приближения к концам ромбовидной соленоидальной катушки.
Движитель-генератор по п. 15 (фиг. 16) формулы содержит ромбовидную соленоидальную катушку 41, а и две установленные с внешней стороны ромбовидной катушки соленоидальные катушки 42 из сверхпроводника, оси которых параллельны соответствующим сторонам ромбовидной катушки и перпендикулярны ее оси, и два электрических конденсатора 43, примыкающие с внешней стороны к сторонам ромбовидной катушки. Внутри ромбовидной соленоидальной катушки по всей ее длине расположено тело 44 из сверхпроводника в поперечном сечении катушки в виде восьмерки, располагающейся вдоль большой диагонали ромба, стягивающейся к этой диагонали и уменьшающейся по высоте по мере приближения к концам ромбовидной соленоидальной катушки.
Движители-генераторы (фиг. 3-16) работают следующим образом.
В первом примере (фиг. 3) по меньшей мере часть электрических конденсаторов 6 заряжается, а в ромбовидную соленоидальную катушку 7 вводится электрический ток, после чего с помощью сверхпроводниковых переключателей (не показаны) она закорачивается. Регулирование мощности устройства производят за счет величины заряда на обкладках конденсаторов, величины электрического тока в катушке, относительного положения катушки и конденсаторов.
Воздействие электрического тока самой
катушки на участки сверхпроводников AB, BC, CD
и DA является неоднородным. Например в точке
A плотность Лоренцевой силы максимальна, а в
районе точки B минимальна и направлена
изнутри катушки наружу. В силу такого
объемного сжатия сверхпроводника,
находящегося в жестком каркасе (на фиг. 3 не
показан), плотность отрицательного заряда,
создающего сверхпроводящий электрический
ток в катушке, в точке A будет наибольшей, а в
районе точки B наименьшей. В силу этого
отрезки сверхпроводников AB, BC, CD и DAявляются в данном случае возбуждаемыми (градиентными)
элементами, в которых почти всюду ![]()
где
плотность
электрического сверхпроводящего заряда.
Заряженные электрические конденсаторы 6
являются источниками электрического
потенциала A0.
В данном примере мощность устройства
определяется плотностью силы![]()
вытекающей из выражения (1) для общей
плотности силы. Эта сила приложена к
сверхпроводящим электронам и направлена
вдоль участков соответственно AB, BC, CD и DA,
при этом если ближайшая к поверхности
катушки пластина конденсатора
заражена положительно, то сила, действующая
на электроны участка AD согласно (2) будет
направлена вдоль этого участка вверх (на фиг. 3 указана стрелкой), в противном случае
вниз. Аналогично для других участков. Общая
сила равна сумме сил по всем четырем
участкам. Поэтому в зависимости от
полярности электрических конденсаторов (при
их равномощности) устройство допускает
эксплуатацию в следующих режимах.
a) Если конденсаторы a,
при переходе от предыдущего к последующему
меняют полярность, то данное устройство
является движителем с общей тягой
коллинеарной большой диагонали ромба (в
поперечном сечении ромбической катушки),
при этом, если ближайшая к катушке пластина
конденсатора a заряжена положительно, то
общая сила будет направлена вверх, в
противном случае вниз.
b) Если конденсаторы a,
,
при переходе от предыдущего к последующему
меняют полярность, то данное устройство
является генератором электрической
энергии. Подчеркнем, что в данном режиме уже
имеющийся электрический ток в ромбовидной
катушке будет либо уменьшаться, либо
увеличиваться в зависимости от полярностей
конденсаторов. Например, если этот ток
уменьшается, то при перемене полярности
сразу у всех конденсаторов электрический
ток будет возрастать и его можно
использовать для потребления.
c) Если в случае a) или в случае b) в любом из конденсаторов изменить полярность, то устройство будет являться одновременно и движителем и источником электрической энергии.
Во втором примере (см. фиг. 4) в ромбовидную катушку 8 и по меньшей мере в часть из четырех других катушек 9 вводится электрический ток, после чего каждая из них с помощью сверхпроводниковых переключателей (не показаны) закорачивается. Регулирование мощности устройства производят за счет величин электрического тока в каждой катушке и их относительного положения.
Как и в предыдущем устройстве (фиг. 3)
отрезки сверхпроводников AB, BC, CD и DAявляются возбуждаемыми (градиентными)
элементами, а прилегающие к этим отрезкам
четыре соленоидальных катушки 9 источником
векторного потенциала. Мощность устройства
и общая сила определяется плотностью силы![]()
вытекающей из формулы (1) для общей
плотности силы, где
векторный потенциал соленоидальных
катушек 9 в рассматриваемой точке
возбуждаемого элемента 8, а vi три
составляющие 4-скорости
сверхпроводящих электронов (вещества) в
этой точке. В данном устройстве каждая из
соленоидальных катушек 9 согласно формулы
(3) создает силу, параллельную оси
ромбовидной катушки, перпендикулярную ее
виткам (и чертежу на фиг. 4).
Если силы, возникающие в каждой из сторон ромбовидной катушки по абсолютной величине равны и одинаково направлены, то устройство в свободном состоянии будет совершать ускоренное прямолинейное движение; если в двух соседних сторонах силы одинаковы, а в двух других противоположно направлены, то устройство из-за наличия момента сил будет совершать ускоренное вращательное движение.
В третьем примере устройства (фиг. 5) с помощью изогнутой рессоры 10 осуществляется неравномерное объемное сжатие пластины 11 в форме параллелепипеда, а конденсатор 12 заряжается. Регулирование мощности устройства производится за счет регулирования величины давления рессоры 10 на пластину 11, величины заряда на обкладках конденсатора 12 и относительного положения конденсатора 12 и пластины 11. При этом, если пластина 11 выполнена из изолятора, то устройство является движителем, если же квантовое состояние возбуждаемого элемента соответствует сверхпроводнику, то движителем и генератором электрического тока одновременно. Мощность устройства определяется плотностью силы (2), действующей на электроны пластины 11, макроскопически находящиеся в квантовом состоянии. Если обкладка конденсатора 12, ближайшая к рессоре 10, заряжена отрицательно, то общая сила, приложенная к электронам пластины 11, направлена вверх (указана стрелкой), в противном случае вниз.
В четвертом примере устройства (фиг. 6) цилиндр 13 с прорезями 14 приводится во вращение, а два электрических конденсатора 15 и 16 заряжаются. Регулирование мощности устройства производится за счет величины заряда на обкладках конденсаторов 15 и 16, скорости вращения цилиндра 13 и их относительного положения. Мощность устройства определяется плотностью силы (2), действующей на покрываемую конденсаторами часть электронов цилиндра. Если пластины конденсатора 15 и 16, ближайшие к цилиндру 13 заряжены положительно, то общая сила, приложенная к электронам цилиндра 13, направлена вправо (указана стрелкой), в противном случае влево.
В пятом примере устройства (фиг. 7) с помощью нагревателя 17 и охладителя 18, располагающихся на торцах, в цилиндре 19, находящемся в квантовом состоянии, создается градиент температуры, а следовательно, градиент плотности заряда, а цилиндрический конденсатор 20 заряжается. Регулирование мощности устройства производится за счет величины этого градиента температуры, величин зарядов на обкладках конденсатора 20 и относительного положения конденсатора и цилиндра. Мощность устройства определяется плотностью силы (2). Если пластина конденсатора 20, ближайщая к цилиндру 19, заряжена положительно, то общая сила, приложенная к электронам цилиндра, направлена вверх (указана стрелкой), в противном случае вниз.
В шестом примере устройства (фиг. 8) цилиндр 21 (с продольной перегородкой), заполненный жидкостью, находящейся в квантовом состоянии, приводится во вращение, а два электрических конденсатора 22 заряжаются. Регулирование мощности производится за счет скорости вращения жидкости, величин зарядов на обкладках конденсатора 22 и относительного положения цилиндра 21 и конденсаторов 22. Мощность устройства определяется плотностью силы (2), действующую на покрываемую конденсаторами часть электронов жидкости, макроскопически находящихся в квантовом состоянии. Если пластины конденсаторов 22, ближайшие к цилиндру 21, заряжены положительно, то общая сила, приложенная к электронам жидкости, будет направлена вправо (указана стрелкой), в противном случае влево.
В седьмом примере устройства (фиг. 9) цилиндр 23 заполняется газом под давлением, а цилиндрический конденсатор 24 заряжается.
Регулирование мощности осуществляется за счет величины давления газа, величины заряда на обкладках конденсатора 24 и относительного положения конденсатора 24 и цилиндра 23. Мощность устройства определяется плотностью силы (2). Если обкладка конденсатора 24 ближайшая к цилиндру 23, заряжена отрицательно, то общая сила, приложенная к электронам цилиндра, направлена вверх (указана стрелкой), в противном случае вниз.
В восьмом примере устройства (фиг. 10) возбуждаемый элемент 25 помещен в имеющую форму трапеции пластину 26 вблизи одной из ее непараллельных сторон, выполненную из жесткого прочного диэлектрика. Электрический конденсатор 27 при работе устройства заряжается. Регулирование мощности устройства осуществляется с помощью величин заряда на обкладках конденсатора 27. Мощность устройства определяется плотностью силы (2). Если обкладка конденсатора 27, ближайшая к элементу 25, заряжена положительно, то общая сила, приложенная к электронам элемента 25, находящимся макроскопически в квантовом состоянии, будет направлена вверх (указана стрелкой), в противном случае вниз.
В девятом примере устройства (фиг. 11) возбуждаемый элемент выполнен в виде двух прямоугольных параллелепипедов 28, 29, помещенных в пластину 30, имеющую форму трапеции, выполненную из прочного жесткого диэлектрика, причем каждый из параллелепипедов располагается вблизи одной из непараллельных сторон трапеции. Пластины конденсатора 31 прочно связаны с непараллельными сторонами пластины 30. Электрический конденсатор 31 при работе устройства заряжается. Регулирование мощности устройства осуществляется с помощью величин заряда на обкладках конденсатора 31. Мощность устройства определяется плотностью силы (2). Если обкладка конденсатора 31, ближайшая к параллелепипеду 28 заряжена положительно, то общая сила, приложенная к электронам параллелепипеда 28, макроскопически находящимся в квантовом состоянии, будет направлена вверх (указана стрелкой), а к электронам параллелепипеда 29-вниз (указана стрелкой).
В десятом примере (фиг. 12) устройство состоит из двух сверхпроводящих пластин электрического конденсатора 32, которые представляют собой возбуждаемый элемент, а источник магнитного потенциала выполнен из прямоугольной соленоидальной катушки 33 экзистенциально охватывающей конденсатор 32, причем каждый из двух концов катушки 33 соединен с соответствующей пластиной конденсатора 32 так, что в целом система образует колебательный LC-контур с устройством 34 для подкачки электрической энергии.
Запуск устройства можно осуществить двумя способами.
В первом способе электрический конденсатор 32 необходимо отключить от катушки 33, зарядить его и затем снова подключить к этой катушке. После чего в LC-контуреначнется колебательный процесс, который создаст в обкладках конденсатора силу, направленную параллельно прилегающим виткам катушки. Потерю энергии в излучение можно восполнять с помощью устройства для подкачки электрической энергии.
Во втором способе запуск осуществляется с
помощью устройства 34 для подкачки
электрической энергии в LC-контуре.
Регулирование тяги устройства
осуществляется изменением энергии LC-контура,
а его мощность определяется плотностью
силы![]()
Общая сила, приложенная к электронам каждой
из обкладок конденсатора 32,
макроскопически находящимся в квантовом
состоянии, будет направлена вверх (указана
стрелкой).
В одиннадцатом примере (фиг. 13) устройство представляет собою яйцевидное полое вытянутое тело 35, с равномерно уменьшающейся по длине тела к узкому концу толщиной стенки. При запуске устройство заполняется газом 36 под давлением. Регулирование мощности осуществляется за счет величины давления газа.
Мощность устройства определяется плотностью силы.
![]()
вытекающей из (1). Общая сила, приложенная к
электронам тела, макроскопически
находящимся в квантовом состоянии,
направлена вверх (указана стрелкой).
Следует подчеркнуть, что данное устройство может работать при нулевых значениях электрического потенциала. Однако, если подать этот потенциал (например, с помощью электрического конденсатора) на яйцевидное тело, то мощность устройства изменяется (согласно седьмого примера устройства).
Устройство в двенадцатом примере (фиг. 14) отличается от устройства в первом примере тем, что в ромбовидной соленоидальной катушке 37 из сверхпроводника вдоль большой диагонали ромба располагается тело 38 из сверхпроводника, по форме в поперечном сечении катушки в виде вытянутой восьмерки, стягиваясь к этой диагонали и уменьшаясь по высоте по мере приближения к концам ромбовидной катушки 37. Запуск этого устройства не отличается от запуска устройства в первом примере. Направление общей силы такое же.
Назначение тела 38 из сверхпроводника вытолкнуть магнитное поле из внутренней части к виткам ромбовидной соленоидальной катушки 37. Последнее усилит неоднородное распределение заряда в ней и увеличит мощность устройства.
Устройство в тринадцатом примере (фиг. 15) отличается от устройства во втором примере тем, что в ромбовидной соленоидальной катушке 39 из сверхпроводника вдоль большой диагонали ромба располагается тело 40 из сверхпроводника по форме в поперечном сечении катушки в виде вытянутой восьмерки, стягиваясь к этой диагонали и уменьшаясь по высоте по мере приближения к концам ромбовидной катушки 39. Запуск этого устройства не отличается от запуска устройства во втором примере. Направление общей силы такое же.
Устройство в четырнадцатом примере отличается от двенадцатого тем, что в одной из двух вытянутых частей ромбовидной соленоидальной катушки 41 вместо двух конденсаторов располагается соответственно две соленоидальных катушки 42 из сверхпроводника, оси которых параллельны соответствующим сторонам ромбовидной катушки 41 и перпендикулярны ее оси. Запуск устройства, связанного с электрическими конденсаторами 43, не отличается от запуска устройства в первом примере. Запуск устройства, связанного с соленоидальными катушками 42, не отличается от запуска устройства во втором примере.
Напомним, что в вытянутой части ромбовидной соленоидальной катушки, связанной с двумя (равномощными) конденсаторами 43, общая сила (согласно описания в первом примере устройства) направлена вертикально, в то время как в другой ее части, связанной с двумя (равномощными) соленоидальными катушками 42, общая сила (согласно описания устройства во втором примере) направлена горизонтально, перпендикулярно осям этих двух катушек.
Направление этих сил определяются согласно указанной в первом и во втором примерах соответственно.
Кроме вышеназванных основных элементов конструкции возбуждаемого элемента и источника электромагнитного поля устройство должно содержать необходимые вспомогательные детали и устройства из современного уровня техники, поддерживающие температурные и прочностные характеристики системы, скорости движения, заданные значения электрического тока, заряда, массы, а и осуществляющие связь с внешними системами, то есть все то, что обычно определяется в результате предшествующих использованию изобретения этапов проектирования, конструирования, проводимых с использованием достигнутого уровня техники, известных знаний, опыта, методов синтеза, и т.п.
ИСТОЧНИКИ ИНФОРМАЦИИ
-
Бауров Ю.А. Огарков В.М. Способ перемещения объекта в пространстве и устройстве для его осуществления. Патент РФ N 2023203 от 15.11.94 г.
-
Бауров Ю. За счет энергии физического вакуума. Авиация и космонавтика, N 5, 1991, с. 42-43.
-
Буккель В. Сверхпроводимость. М. МИР 1975, с. 366.
-
Лиманский В.Г. О пространстве-времени, материи и поле. Деп. ВИНИТИ N 3815, B 90, 1990, с. 217.
-
Имри Д. Узбб Р. Квантовая интерференция и эффект Ааронова-Бома. В мире науки, N 6, 1989, 24-31 с.
-
Ландау Л.Д. и Лифшиц Е.М. Теория поля. М. Наука, 1967.
ФОРМУЛА ИЗОБРЕТЕНИЯ
Движитель-генератор, содержащий возбуждаемый элемент и источник потенциалов электромагнитного поля, отличающийся тем, что возбуждаемый элемент выполнен из вещества, находящегося в квантовом состоянии, с неоднородным распределением по объему электрического заряда и/или массы.
Движитель-генератор по п.1, отличающийся тем, что возбуждаемый элемент выполнен в виде ромбовидной соленоидальной катушки из сверхпроводника, а источник электрического потенциала выполнен в виде четырех электрических конденсаторов, установленных с внешней стороны ромбовидной катушки, пластины каждого из которых параллельны соответствующей стороне ромбовидной катушки.
Движитель-генератор по п.1, отличающийся тем, что возбуждаемый элемент выполнен в виде ромбовидной соленоидальной катушки из сверхпроводника, а источник магнитного потенциала выполнен в виде четырех соленоидальных катушек из сверхпроводника, расположенных с внешней стороны ромбовидной катушки, оси которых параллельны соответствующим ее сторонам и перпендикулярны ее оси.
Движитель-генератор по п.1, отличающийся тем, что возбуждаемый элемент выполнен в виде пластины в форме параллелепипеда и заключен с пяти сторон в жесткий прочный каркас с примыкающей к свободной стороне пластины рессорой, а источник электрического потенциала выполнен в виде электрического конденсатора, который установлен параллельно стороне, противоположной рессоре.
Движитель-генератор по п.1, отличающийся тем, что возбуждаемый элемент выполнен в виде цилиндра с радиальными прорезями, а источник электричекого потенциала выполнен в виде двух электрических конденсаторов, имеющих различную полярность, каждый из которых расположен со стороны соответствующего торца цилиндра и покрывает его часть.
Движитель-генератор по п.1, отличающийся тем, что возбуждаемый элемент выполнен в виде цилиндра, в одном торце которого находится нагреватель, а в другом охладитель цилиндра, а источник электрического потенциала выполнен в виде цилиндрического электрического конденсатора, окружающего часть этого цилиндра.
Движитель-генератор по п.1, отличающийся тем, что возбуждаемый элемент выполнен в виде жидкости, заполняющей полый с внутренней перегородкой цилиндр, установленный с возможностью вращения, а источник электрического потенциала выполнен в виде двух электрических конденсаторов, каждый из которых расположен со стороны соответствующего торца цилиндра и покрывает его часть.
Движитель-генератор по п.1, отличающийся тем, что возбуждаемый элемент выполнен в виде полого заполненного газом под давлением цилиндра с равномерно уменьшающейся по длине цилиндра толщиной стенки, а источник электрического потенциала выполнен в виде цилиндрического электрического конденсатора, окружающего часть этого цилиндра.
Движитель-генератор по п.1, отличающийся тем, что возбуждаемый элемент выполнен в виде прямоугольного параллелепипеда, помещенного в имеющую форму трапеции пластину вблизи одной из ее непараллельных сторон, выполненную из жесткого прочного диэлектрика, а источник электрического потенциала выполнен в виде электрического конденсатора, две пластины которого охватывают извне непараллельные стороны трапеции и прочно связаны с ней.
Движитель-генератор по п.1, отличающийся тем, что возбуждаемый элемент выполнен в виде двух прямоугольных параллелепипедов, помещенных в пластину, имеющую форму трапеции, выполненную из жесткого прочного диэлектрика, причем каждый из параллелепипедов расположен вблизи одной из непараллельных сторон трапеции, а источник электрического потенциала выполнен в виде электрического конденсатора, две пластины которого охватывают извне непараллельные стороны трапеции и прочно связаны с ней.
Движитель-генератор по п.1, отличающийся тем, что возбуждаемый элемент выполнен в виде двух сверхпроводящих пластин электрического конденсатора, а источник переменного во времени магнитного потенциала выполнен в виде прямоугольной соленоидальной катушки, охватывающей конденсатор, причем каждый из двух концов катушки соединен с соответствующей пластиной конденсатора так, что в целом система образует колебательный LC-контур с устройством для подкачки электрической энергии.
Движитель-генератор по п.1, отличающийся тем, что возбуждаемый элемент выполнен в виде полого, яйцевидного, вытянутого тела, заполненного газом под давлением, с равномерно уменьшающейся по длине тела к узкому концу толщиной стенки.
Движитель-генератор по п.2, отличающийся тем, что внутри ромбовидной соленоидальной катушки по всей ее длине расположено тело из сверхпроводника, имеющее в поперечном сечении катушки форму восьмерки, вытянутой вдоль большой диагонали ромба, с уменьшающимся поперечным сечением по мере приближения к концам ромбовидной соленоидальной катушки.
Движитель-генератор по п.3, отличающийся тем, что внутри ромбовидной соленоидальной катушки по всей ее длине расположено тело из сверхпроводника, имеющее в поперечном сечении катушки форму восьмерки, вытянутой вдоль большой диагонали ромба, с уменьшающимся поперечным сечением по мере приближения к концам ромбовидной соленоидальной катушки.
Движитель-генератор по п.1, отличающийся тем, что возбуждаемый элемент выполнен в виде ромбовидной соленоидальной катушки из сверхпроводника, а источники электрического и магнитного потенциалов выполнены соответственно в виде двух электрических конденсаторов и двух соленоидальных катушек из сверхпроводника, установленных с внешней стороны ромбовидной катушки, пластины конденсаторов и оси катушек параллельны соответствующим сторонам ромбовидной катушки, причем внутри ромбовидной соленоидальной катушки по всей ее длине расположено тело из сверхпроводника, имеющее в поперечном сечении катушки форму восьмерки, вытянутой вдоль большой диагонали ромба, с уменьшающимся поперечным сечением по мере приближения к концам ромбовидной соленоидальной катушки.
Версия для печати
Дата публикации 15.11.2006гг
Created/Updated: 25.05.2018
|















