| Начало раздела Производственные, любительские Радиолюбительские Авиамодельные, ракетомодельные Полезные, занимательные | Хитрости мастеру Электроника Физика Технологии Изобретения | Тайны космоса Тайны Земли Тайны Океана Хитрости Карта раздела | |
| Использование материалов сайта разрешается при условии ссылки (для сайтов - гиперссылки) | |||
Навигация: => | На главную/ Рынок технологий / Актуальные изобретения и модели / Назад / |
|
ИЗОБРЕТЕНИЕ
Патент Российской Федерации RU2091951
УСТРОЙСТВО ДЛЯ ЗАЩИТЫ ОТ ПЕРЕНАПРЯЖЕНИЙ ТРЕХФАЗНОГО
ПОЛУПРОВОДНИКОВОГО ПРЕОБРАЗОВАТЕЛЯ
![]()
Имя заявителя: Уральское отделение Всероссийского научно- исследовательского института железнодорожного транспорта
Имя изобретателя: Новиков О.И.
Имя патентообладателя: Уральское отделение Всероссийского научно- исследовательского института железнодорожного транспорта
Адрес для переписки:
Дата начала действия патента: 1992.10.21
Устройство для защиты от перенапряжения трехфазного полупроводникового преобразователя, питающегося сдвинутыми на 120 электрических градусов напряжениями от вентильных обмоток преобразовательного трансформатора, содержащее три защитные обмотки, установленные на магнитопроводе преобразовательного трансформатора и соединенные по схеме звезды, отличающееся тем, что введены трехфазный выпрямитель, выполненный по мостовой схеме, два разрядника с искровыми промежутками и два гасящих резистора, причем в общей точке звезды соединены одноименные выводы первой и второй защитных обмоток с разноименным выводом третьей защитной обмотки, разобщенные выводы защитных обмоток подключены к выводам переменного тока трехфазного выпрямителя, первые выводы гасящих резисторов через разрядники с искровыми промежутками подключены к разнополярным выводам постоянного тока трехфазного выпрямительного моста, при этом вторые выводы гасящих резисторов подключены к объединенным выводам защитных обмоток через выходной вывод одной из вентильных обмоток преобразовательного трансформатора
ОПИСАНИЕ ИЗОБРЕТЕНИЯ
Изобретение относится к преобразовательной технике и предназначено для защиты от перенапряжения силовых полупроводниковых преобразователей.
Для всех вариантов устройства изобретения прототипом является защита от перенапряжения, которая содержит три защитные обмотки, установленные на магнитопроводе преобразовательного трансформатора и соединенные по схеме звезды, и три пары встречно-параллельно включенных тиристоров, подключенные к разобщенным выводам защитных обмоток. В общей точке звезды защитных обмоток объединены их одноименные выводы. Тиристоры устройствами управления в определенные моменты времени отпираются, закорачивают защитные обмотки и, рассеивая энергию перенапряжения, ограничивают их амплитуду. Тиристоры предназначены для работы при невысоких температурах, могут рассеивать небольшую энергию и повреждаются, если при рассеивании энергии кратковременно нагреваются до недопустимой температуры. Поэтому использование тиристоров для поглощения энергии перенапряжения, величина которой изменяется в широких пределах, снижает надежность известного устройства.
Изобретение основано на том, что устройство защиты, выполнено на основе трех установленных на магнитопроводе преобразовательного трансформатора защитных обмоток, дополняют трехфазным мостовым выпрямителем, двумя разрядниками с искровыми промежутками и двумя гасящими резисторами. Сопротивление гасящих резисторов принимают меньше требуемого на величину активного сопротивления защитных обмоток. Защитные обмотки соединяют по схеме звезды, в общей точке которой объединяют одноименные выводы двух обмоток и разноименный вывод третьей обмотки. Общий вывод гасящих резисторов соединяют или через вывод вентильной обмотки преобразовательного трансформатора или через его корпус с объединенным выводом защитных обмоток.
Технический результат всех вариантов устройства изобретения характеризуется повышением надежности и достигается благодаря замене менее надежных элементов (тиристоров с устройствами управления) более надежными элементами (диодами), разрядниками (резисторами). При этом объединение в общей точке звезды защитных обмоток их разноименных (одна обмотка) и одноименных (две обмотки) выводов и включение в схему защиты трехфазного мостового выпрямителя (п.1-4 формулы изобретения) обеспечивает в напряжении разрядников паузы, которые облегчают гашение разрядниками сопровождающего тока после ограничения перенапряжения и дополнительно повышают надежность. Выбор сопротивления гасящих резисторов с учетом активного сопротивления защитных обмоток преобразовательного трансформатора (п.2 и 4 формулы изобретения) обеспечивает упрощение устройства защиты за счет снижения мощности и улучшения массо-габаритных показателей гасящих резисторов. Использование в качестве токоведущего элемента устройства защиты или вывода вентильной обмотки преобразовательного трансформатора или его корпуса (п.1 и 3 формулы изобретения) позволяет применять изобретение без увеличения количества вводов преобразовательного трансформатора, через которые защитные обмотки соединяются с цепями устройства защиты.
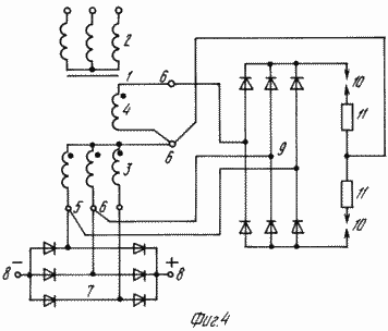
На фиг. 1 и 2 приведены принципиальные электрические схемы защищаемого объекта и устройства защиты его от перенапряжения.
![]() | ![]() |
![]() | ![]() |
Защищаемый объект (фиг.1 и 2) состоит из преобразовательного трансформатора 1 с сетевыми 2, вентильными 3 и защитными 4 обмотками, которые имеют соответственно выходные выводы 5 и 6, полупроводникового преобразователя 7 с выводами 8 для подключения нагрузки (не показана). Обмотки 2 подключены к трехфазной питающей сети. Напряжение сети и напряжение обмоток 2, 3 и 4 имеют фазовый сдвиг 120 электрических градусов. Преобразователь 7 подключен к выводам 5 и питается напряжением обмоток 3.
Устройство защиты (фиг.1 и 2) содержит трехфазный выпрямитель 9, выполненный на диодах по трехфазной мостовой схеме, два разрядника 10 с искровыми промежутками и два гасящих резистора 11. Выводы переменного тока выпрямителя 9 соединены с выводами 6 обмоток 4. Первые выводы резисторов 11 через разрядники 10 подключены к разнополярным выводам выпрямителя 9. Вторые общие выводы резисторов 11 подключены или через вывод 5 обмотки 3 (фиг.1) или через корпус 12 трансформатора 1 (фиг.2) к общей точке звезды обмоток 4, соединенных между собой одноименными (две обмотки 4) и разноименными (одна обмотка 4) выводами. При таком соединении обмоток 4 напряжения на их выводах 6 имеют фазовый сдвиг 60электрических градусов. Сопротивление резисторов 11 меньше требуемого на величину, которая равна активному сопротивлению обмотки 4.
УСТРОЙСТВО ЗАЩИТЫ ОТ ПЕРЕНАПРЯЖЕНИЯ РАБОТАЕТ СЛЕДУЮЩИМ ОБРАЗОМ
При отсутствии перенапряжения на обмотках трансформатора 1 и в цепях преобразователя 7 к искровым промежуткам разрядников 10 прикладывается напряжение периодической последовательности импульсов, которые формируются выпрямителем 9 из участков синусоид напряжения обмоток 4. Импульсы напряжения имеют по основанию длительность, которая не превышает 300 электрических градусов. Длительность пауз между импульсами напряжения составляет не менее 60 электрических градусов. Амплитуда импульсов напряжения равна амплитуде синусоид напряжения обмоток 4, пропорциональна амплитуде синусоид напряжения обмоток 2, 3 и меньше пробивного напряжения искровых промежутков разрядников 10. Каждый разрядник 10 контролирует мгновенное значение напряжения обмоток 2-4 трансформатора 1 в течение промежутков времени, равных длительности импульсов напряжения, которые прикладываются к искровому промежутку разрядника. Два разрядника 10 обеспечивают непрерывный контроль мгновенного значения напряжения всех обмоток 2-4 трансформатора 1.
При появлении перенапряжения опасной величины на обмотках трансформатора 1 и в целях преобразователя 7 пробивается искровой промежуток соответствующего разрядника 10 и в его цепи появляется ток, который ограничивается сопротивлением обмотки 4, резистора 11 и протекает или по выводу 5 (фиг.1) или по корпусу 12 (фиг.2). Протекание тока в цепи сработавшего разрядника 10 сопровождается рассеиванием в резистора 11 и на активном сопротивлении обмотки 4 энергии перенапряжения и ограничением его величины до безопасного уровня.
После ограничения перенапряжения в цепи разрядника 11, искровой промежуток которого пробился, продолжает протекать сопровождающий ток под действием напряжения обмоток 4. Сопровождающий ток протекает до тех пор, пока напряжение этого разрядника 10 не уменьшается до нуля и не начнется пауза. За время паузы искровой промежуток разрядника 10, в цепи которого протекал сопровождающий ток, восстанавливает способность выдерживать напряжение обмоток 4 и не пробивается, когда к нему прикладывается напряжение очередного импульса. Длительность протекания сопровождающего тока определяется моментом появления перенапряжения относительно начала импульса напряжения. Время, предоставляемое для восстановления электрической прочности искрового промежутка, равно длительности паузы между импульсами напряжения, которые прикладываются к одному разряднику 10.
ФОРМУЛА ИЗОБРЕТЕНИЯ
Устройство для защиты от перенапряжений трехфазного полупроводникового преобразователя, питающегося сдвинутыми на 120 эл.град. напряжениями от вентильных обмоток преобразовательного трансформатора, содержащее три защитные обмотки, установленные на магнитопроводе преобразовательного трансформатора и соединенные по схеме звезды, отличающееся тем, что введены трехфазный выпрямитель, выполненный по мостовой схеме, два разрядника с искровыми промежутками и два гасящих резистора, причем в общей точке звезды соединены одноименные выводы первой и второй защитных обмоток с разноименным выводом третьей защитной обмотки, разобщенные выводы защитных обмоток подключены к выводам переменного тока трехфазного выпрямителя, первые выводы гасящих резисторов через разрядники с искровыми промежутками подключены к разнополярным выводам постоянного тока трехфазного выпрямительного моста, при этом вторые выводы гасящих резисторов подключены к объединенным выводам защитных обмоток через выходной вывод одной из вентильных обмоток преобразовательного трансформатора.
Устройство по п.1, отличающееся тем, что гасящие резисторы имеют сопротивление меньше требуемого на величину, которая равна активному сопротивлению защитной обмотки.
Устройство для защиты от перенапряжений трехфазного полупроводникового преобразователя, питающегося сдвинутыми на 120 эл.град. напряжениями от вентильных обмоток преобразовательного трансформатора, содержащее три защитные обмотки, установленные на магнитопроводе преобразовательного трансформатора и соединенные по схеме звезды, отличающееся тем, что введены трехфазный выпрямитель, выполненный по мостовой схеме, два разрядника с искровыми промежутками и два гасящих резистора, причем в общей точке звезды соединены одноименные выводы первой и второй защитных обмоток с разноименным выводом третьей защитной обмотки, разобщенные выводы защитных обмоток подключены к выводам переменного тока трехфазного выпрямителя, первые выводы гасящих резисторов через разрядники с искровыми промежутками подключены к разнополярным выводам постоянного тока трехфазного выпрямительного моста, при этом вторые выводы гасящих резисторов подключены к объединенным выводам защитных обмоток через корпус преобразовательного трансформатора.
Устройство по п.3, отличающееся тем, что гасящие резисторы имеют сопротивление меньше требуемого на величину, которая равна активному сопротивлению защитной обмотки.
Версия для печати
Дата публикации 03.12.2006гг
Created/Updated: 25.05.2018
|




