| Начало раздела Производственные, любительские Радиолюбительские Авиамодельные, ракетомодельные Полезные, занимательные | Хитрости мастеру Электроника Физика Технологии Изобретения | Тайны космоса Тайны Земли Тайны Океана Хитрости Карта раздела | |
| Использование материалов сайта разрешается при условии ссылки (для сайтов - гиперссылки) | |||
Навигация: => | На главную/ Каталог патентов/ В раздел каталога/ Назад / |
|
ИЗОБРЕТЕНИЕ
Патент Российской Федерации RU2196941
![]()
ПОКВАРТИРНАЯ СИСТЕМА ОТОПЛЕНИЯ
Имя изобретателя: Бирюлин И.Б.; Колосов И.Н.; Кузовлев В.С.
Имя патентообладателя: Бирюлин Игорь Борисович; Кузовлев Виктор Степанович; Колосов Иван Николаевич
Адрес для переписки: 414056, г.Астрахань, ул. Татищева, 18а, Инженерно- строительный институт, библиотека, Л.Ф.Колосовой
Дата начала действия патента: 2001.07.05
Изобретение относится к отопительной технике. Система отопления содержит водогрейный котел, прямой и обратный трубопроводы системы отопления, отопительные приборы и насос. Водонагревательная емкость газовой плиты-котла через патрубки присоединена к прямому и обратному трубопроводам системы отопления, а водонагревательные трубы (змеевик), расположенные в плите-котле, через патрубки присоединены к системам холодного и горячего водоснабжения, причем в водонагревательной емкости плиты-котла установлены датчики защиты от перегрева воды и двухпозиционного регулирования, а в дымоходе - датчик контроля тяги, электрически связанные через пульт управления с газосжигающим устройством, а на обводном трубопроводе, подсоединенном к обратному трубопроводу системы отопления до и после насоса, установлен шаровой кран. Техническим результатом является снижение металлоемкости системы и расширение функциональных возможностей.
ОПИСАНИЕ ИЗОБРЕТЕНИЯ
Изобретение относится к отопительной технике и может быть использовано для отопления и горячего водоснабжения квартир в жилых зданиях любой этажности, с использованием автономного источника тепла.
Известна квартирная система отопления, содержащая подающий и обратный трубопроводы, соединенные с теплопроводами тепловой сети, нагревательные приборы, запорный вентиль и регулирующий клапан (А.С. 987302, по кл. F 24 D 3/02, БИ 1, 1983 г., СССР).
Известная квартирная система отопления не имеет автономного источника тепла и водонагревателя.
Известна поквартирная система отопления, содержащая отопительный котел, теплообменник горячего водоснабжения, снабженный расширительным баком, четырехходовой регулирующе-распределительный клапан с электроприводом и насос. Причем котел и четырехходовый клапан связаны электрически с датчиками и регулирующей аппаратурой автоматики (Ю.С.Давыдов и др. Новые системы автоматизации отопительных устройств. М. : Стройиздат, 1990, с. 138, рис. 47), (Журнал АВОК, 1/2001, с. 8-13).
Известная поквартирная система отопления сложна по конструкции, содержит значительное количество элементов автоматики и теплопреобразующих устройств.
Известна газовая плита-котел, содержащая кожух, конфорочную камеру, дымоход, водонагревательную емкость, духовой шкаф, жаровую трубу и газовые горелки, причем шкаф и труба экранированы водонагревательными трубами в виде змеевика (А.С. 506731, по кл. F 24 C 3/00, БИ 10, 1976 г., СССР).
Известная газовая плита-котел не оснащена устройствами автоматики безопасности и регулирования.
Наиболее близким техническим решением к предлагаемой системе является система
поквартирного водяного отопления, содержащая отопительный котел, прямой и обратный
трубопроводы, между которыми на стояках установлены отопительные приборы,
расширительный бак и насос (Я.Н.Беркман и др. Справочник прораба-сантехника. Киев: Будiвельник,
1975, с. 197, рис. 60.)
В известной системе отсутствуют устройства приготовления горячей воды для
хозяйственных нужд и автоматика безопасности и регулирования теплоисточника, что
создает соответствующие неудобства и опасность эксплуатации жильцу квартиры.
Отсутствие отводной линии насоса и использование запорной арматуры со значительным
гидравлическим сопротивлением ухудшает эксплуатацию системы.
Техническим результатом является расширение функциональных возможностей системы и снижение ее металлоемкости.
Технический результат достигается тем, что поквартирная система отопления содержит водогрейный котел, прямой и обратный трубопроводы системы отопления, отопительные приборы и насос, водонагревательная емкость газовой плиты-котла через патрубки присоединена к прямому и обратному трубопроводам системы отопления, а водонагревательные трубы (змеевик), расположенные в плите-котле, через патрубки присоединены к системам холодного и горячего водоснабжения, причем в водонагревательной емкости плиты-котла установлены датчики защиты от перегрева воды и двухпозиционного регулирования, а в дымоходе - датчик контроля тяги, электрически связаны через пульт управления с газосжигающим устройством, а на обводном трубопроводе, подсоединенном к обратному трубопроводу системы отопления до и после насоса, установлен шаровой кран.
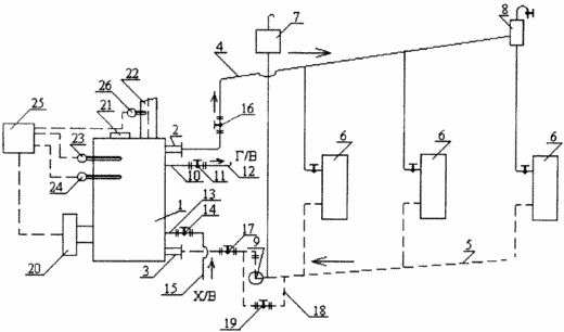
На чертеже представлена принципиальная схема системы поквартирного отопления.

Система поквартирного отопления содержит газовую плиту-котел 1, подсоединенные к ней через патрубки 2 и 3 прямой трубопровод 4 и обратный трубопровод 5 системы отопления, имеющую отопительные приборы 6, расширительный бак 7, воздухосборник 8 и циркуляционный насос 9. Водонагревательные трубы (змеевик), расположенные в газовой плите-котле 1 (не показаны), через патрубок 10 и вентиль 11 соединены с системой горячего водоснабжения 12 квартиры. С противоположного, нижнего конца змеевик через патрубок 13 и вентиль 14 соединен с системой холодного водоснабжения 15. Перед патрубками 2 и 3 на трубопроводах 4 и 5 установлены шаровые краны 16 и 17 соответственно. На обводном трубопроводе 18, подсоединенном к обратному трубопроводу 5 до и после насоса 9, установлен шаровой кран 19.
Газовая плита-котел 1 имеет газосжигающее устройство 20, конфорки 21 и дымоход 22. Датчик 23 защиты газовой плиты-котла 1 от перегрева воды и датчик 24 двухпозиционного регулирования, установленные в ее водонагревательной емкости (не показана), электрически связаны через пульт управления 25 с автоматикой безопасности и регулирования газосжигающего устройства 20. Датчик 26 контроля тяги, установленный в дымоходе 22, и электрически связан через пульт управления 25 с автоматикой безопасности и регулирования газосжигающего устройства 20.
Необходимость установки шаровых кранов 16, 17 и 19 состоит в том, что они не снижают проходное сечение трубопроводов и не создают дополнительное гидравлическое сопротивление циркулирующей по системе отопления воде.
Поквартирная система отопления работает следующим образом.
Производят наполнение через расширительный бак 7 или иное приспособление водой водонагревательной емкости газовой плиты-котла 1 и системы отопления при открытых шаровых кранах 16, 17 и 19, затем включают газосжигающее устройство 20, закрывают шаровой кран 19. Включают насос 9 и производят выпуск воздуха из воздухосборника 8. На задатчике (не показан) датчика 24 устанавливают интервал температур отключения газа и начинается обогрев квартиры. При прекращении тяги в дымоходе 22 или перегреве воды выше допустимого, датчики 26 и 23 через пульт управления 25 дадут команду на отключение газа к газосжигающему устройству 20. При уходе из квартиры при плюсовых температурах на улице жилец может выключить насос 9 и газосжигающее устройство 20 и открыть шаровый кран 19 на обводном трубопроводе 18. Естественная циркуляция горячей воды по системе отопления будет определенное время поддерживать плюсовую температуру в квартире до возвращения жильца.
Для получения горячей воды на хозяйственные нужды жилец при работающем газосжигающем устройстве 20 открывает вентили 14 и 11. Этим действием он соединяет системы холодного и горячего водоснабжения между собой, а подогрев воды происходит в змеевике водонагревательной емкости плиты-котла. После окончания разбора горячей воды вентили 11 и 14 закрывают.
В летнее время шаровые краны 16 и 17 закрывают, газовая плита-котел используется для приготовления пищи и получения горячей воды.
Использование газовой плиты-котла в поквартирной системе отопления, оснащенной автоматикой безопасности и регулирования, позволяет снизить металлоемкость системы в целом, из-за нахождения водонагревателя внутри ее. Наличие обводной линии с шаровым краном на насосе позволит отказаться от него при правильном подборе элементов системы отопления (сечения прямого и обратного трубопровода, размера расширительного бака и отопительных приборов).
Предлагаемая поквартирная система отопления, как многофункциональная, может найти широкое применение в отопительной технике.
ФОРМУЛА ИЗОБРЕТЕНИЯ
Поквартирная система отопления, содержащая водогрейный котел, прямой и обратный трубопроводы системы отопления, отопительные приборы и насос, отличающаяся тем, что водонагревательная емкость газовой плиты-котла через патрубки присоединена к прямому и обратному трубопроводам системы отопления, а водонагревательные трубы (змеевик), расположенные в плите-котле, через патрубки присоединены к системам холодного и горячего водоснабжения, причем в водонагревательной емкости плиты-котла установлены датчики защиты от перегрева воды и двухпозиционного регулирования, а в дымоходе - датчик контроля тяги, электрически связанные через пульт управления с газосжигающим устройством, а на обводном трубопроводе, подсоединенном к обратному трубопроводу системы отопления до и после насоса, установлен шаровой кран.
Версия для печати
Дата публикации 29.01.2007гг
Created/Updated: 25.05.2018
|
