| Начало раздела Производственные, любительские Радиолюбительские Авиамодельные, ракетомодельные Полезные, занимательные | Хитрости мастеру Электроника Физика Технологии Изобретения | Тайны космоса Тайны Земли Тайны Океана Хитрости Карта раздела | |
| Использование материалов сайта разрешается при условии ссылки (для сайтов - гиперссылки) | |||
Навигация: => | На главную/ Каталог патентов/ В раздел каталога/ Назад / |
|
ИЗОБРЕТЕНИЕ
Патент Российской Федерации RU2242684
![]()
СПОСОБ ПОЛУЧЕНИЯ ТЕПЛА И УСТРОЙСТВО ДЛЯ ЕГО ОСУЩЕСТВЛЕНИЯ
Имя изобретателя: Резник Виктор Александрович (RU)
Имя патентообладателя: Резник Виктор Александрович (RU)
Адрес для переписки: 115088, Москва, Симоновский вал, 26, корп.2, кв.30, В.С. Чайкову
Дата начала действия патента: 2004.02.12
Изобретение относится к области теплотехники, в частности к производству тепловой энергии иначе, чем в результате сгорания топлива, и прямого преобразования механической энергии в тепловую. Предложенный способ получения тепла включает стартовый подогрев жидкого теплоносителя, последующий подъем его температуры в два этапа до температуры его газожидкостного состояния путем разгона предварительного сформированного потока жидкого теплоносителя. На первом этапе на жидкий теплоноситель воздействуют в ограниченном пространстве имеющей завихрители поверхностью подвижного дискообразного рабочего органа до достижения жидким теплоносителем температуры его перехода в газожидкостную смесь. На втором этапе на полученную газожидкостную смесь жидкого теплоносителя воздействуют торовым завихрителем до достижения потоком газожидкостной смеси тангенциальной скорости, соответствующей ее вихревому состоянию, до температуры превышающей температуру парообразования жидкого теплоносителя и отбор получаемой тепловой энергии от выходящего потока жидкого теплоносителя к потребителю. Теплогенератор состоит из заполненного жидким теплоносителем герметичного кожуха, в полости которого расположен корпус с передней, имеющей проем, и задней стенками. Внутренние поверхности передней и задней стенок являются неподвижными рабочими органами. Между неподвижными рабочими органами размещен с гарантированным зазором S подвижный дискообразный рабочий орган, закрепленный на приводном валу. На торцевых поверхностях подвижного дискообразного рабочего органа равномерно расположены по окружности наклонные относительно друг друга завихрители. Каждый завихритель выполнен в виде канавки. На конце приводного вала установлен торовый завихритель, расположенный в проеме передней стенки корпуса. Патрубки подачи и отбора жидкого теплоносителя установлены соответственно на задней крышке кожуха и задней стенке корпуса. Заполненное жидким теплоносителем пространство между внутренними поверхностями передней и задней крышек кожуха и поверхностью корпуса разделено на активную зону и переходящую в нее пассивную зону смешения части нагретого до заданной температуры жидкого теплоносителя с вновь подаваемым через патрубок подачи холодным жидким теплоносителем. Изобретение позволяет повысить эффективность преобразования энергии вращения в тепловую энергию, упростить конструкции теплогенератора, уменьшить трудоёмкость его обслуживания и увеличить срок службы.
ОПИСАНИЕ ИЗОБРЕТЕНИЯ
Изобретение относится к области теплотехники, в частности к производству тепловой энергии иначе, чем в результате сгорания топлива, и прямого преобразования механической энергии в тепловую.
Известен из патента Российской Федерации №2045715, кл. 7 F 25 В 29/00, 1995 г. способ получения тепла, включающий подачу воды в вихревой теплогенератор, формирование вихревого потока воды нем, обеспечение кавитационного режима течения вихревого потока при резонансном усилении возникающих в этом потоке звуковых колебаний с последующим отводом получаемого в вихревом таплогенераторе тепла от выходящего потока воды к потребителю.
Недостатками указанного способа являетсянедостаточная эффективность, конструктивная сложность и низкий коэффициент полезного действия теплогенераторов, осуществляющих предложенный способ, и большие потери тепла, уносимого жидким теплоносителем.
Известен из патента Российской Федерации №2054604, кл.7 F 24 J 3/00, 1996 г. теплогенератор приводной кавитационный, содержащий корпус, в полости которого расположены подвижные рабочие органы.
Недостатками указанного теплогенератора является сложность его конструкции, недостаточная эффективность и износостойкость, низкий коэффициент полезного действия и большие потери тепла, уносимого жидким теплоносителем.
Наиболее близкими по своей технической сути решениями являются известные из патентов Российской Федерации №2165054, кл.7F 24 J 3/00, 2000 г. и 2201562, кл.7 F 24 J 3/00, 1999 г. способ получения тепла, включающий стартовый подогрев жидкого теплоносителя и последующий подъем его температуры до температуры его газожидкостного состояния путем разгона предварительного сформированного потока жидкого теплоносителя до вихревого состояния с последующим отбором получаемой тепловой энергии от выходящего потока жидкого теплоносителя к потребителю и теплогенератор, содержащий, размещенные в емкости, заполненной жидким теплоносителем, дискообразные оппозитно расположенные неподвижные и размещенный между ними с гарантированным зазором подвижный дискообразный рабочий орган, установленный на приводном валу и имеющий на своих торцевых поверхностях завихрителями, расположенными наклонно относительно друг друга, рабочие органы и патрубки подачи и отбора жидкого теплоносителя.
Недостатками этих технических решений являются низкая эффективность преобразования энергии вращения в тепловую энергию, постоянное разрушающее действие кавитации на рабочие органы теплогенератора, его недолговечность и повышенная трудоемкость его обслуживания и ремонта.
Задачами предлагаемых изобретений является повышение эффективности преобразования энергии вращения в тепловую энергию, упрощение конструкции теплогенератора, уменьшение трудоемкости его обслуживания, удобства эксплуатации и увеличение срока службы.
Задачи изобретения достигаются тем, что в способе получения тепла, включающий стартовый подогрев жидкого теплоносителя и последующий подъем его температуры до температуры его газожидкостного состояния путем разгона предварительного сформированного потока жидкого теплоносителя до направленного вихревого состояния с последующим отбором получаемой тепловой энергии от выходящего потока жидкого теплоносителя к потребителю, что разгон потока жидкого теплоносителя ведут в два этапа, на первом из которых на последний воздействуют в ограниченном пространстве имеющей завихрители поверхностью подвижного дискообразного рабочего органа до достижения потоком жидкого теплоносителя скорости V, равной 8-12 м/с, соответствующей температуре его перехода в газожидкостную смесь, а на втором этапе на последнюю воздействуют торовым завихрителем до достижения потоком газожидкостной смеси жидкого теплоносителя тангенциальной скорости в 12 и более м/с, при которой степень ее разогрева превышает температуру парообразования жидкого теплоносителя и теплогенератор, содержащий герметичную емкость, заполненную жидким теплоносителем, в которой размещены оппозитно неподвижные тарельчатые рабочие органы и расположенный между ними с гарантированным зазором “S” закрепленный на приводном валу подвижный дискообразный рабочий орган, имеющий на своих торцевых поверхностях равномерно расположенные по окружности наклонные относительно друг друга завихрители, и патрубки подачи и отбора жидкого теплоносителя, снабжен закрепленным на конце приводного вала подвижного дискообразного рабочего органа торовым завихрителем, емкость выполнена в виде звуко и термоизолирующего кожуха из соединенных по периметру замкнутой кольцевой обечайкой передней центральной частью с выпуклой полусферической соосной с осью вращения торового завихрителя и задней с центральным на ее внутренней поверхности дискообразным выступом крышек, неподвижные тарельчатые рабочие органы - в виде образующих корпус и связанных по наружным торцам кольцевой замкнутой по периметру перемычкой, передней с охватывающим концентрично торовый завихритель центральным в виде усеченного конуса проемом и задней стенок, завихрители - в виде замкнутых в плане канавок, патрубки подачи и отбора жидкого теплоносителя установлены соответственно на задней крышке звуко и термоизолирующего кожуха и задней стенки корпуса, при этом заполненное жидким теплоносителем пространство между внутренней поверхностью звуко- и термоизолирующего кожуха и корпусом разделено на ограниченную внутренней поверхностью выпуклой центральной полусферической передней частью звуко- и термоизолирующего кожуха активную зону и переходящую в нее пассивную зону смешения части нагретого до заданной температуры жидкого теплоносителя с вновь подаваемым холодным жидким теплоносителем, а радиус “R” кривизны внутренней поверхности выпуклой центральной полусферической части передней крышки и диаметр “Dвп” выходного патрубка превышают диаметр “Dп” приводного вала и толщину дискообразного рабочего органа, соответственно в 3-10 и 3-5 раз, причем гарантированный зазор “S” меньше расстояния “L” между внутренними поверхностями передней и задней стенок корпуса в 3-8 раз.
Кроме того, в способе получения тепла предварительный разогрев жидкого теплоносителя может быть осуществлен в замкнутом режиме его циркуляции без отвода тепловой энергии потребителю, а в теплогенераторе замкнутые в плане контуры образующих завихрители канавки могут быть вы полнены в виде запятой, или ромба, или треугольников или Г-образными.
Заявленный способ получения тепла может быть осуществлен и с применением устройства другой конструкции, но наиболее эффективен при использовании заявленной конструкции устройства, обеспечивающего реализацию операций способа.
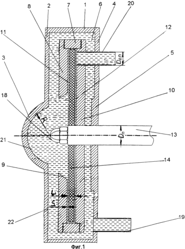
Сущность изобретения поясняется чертежами: где
![]() Фиг.1 схематично изображен общий вид теплогенератора в разрезе | ![]() Фиг.3 -
поперечный разрез рабочего органа |
![]() Фиг.2 - вид спереди на рабочий орган | ![]() | ![]() |
Фиг.4 -
вид сзади на рабочий орган и на фиг.5 -
изображен вариант выполнения контура
канавки, являющейся завихрителем, | ||
Теплогенератор состоит из герметичной емкости выполненной в виде звуко- и термоизолирующего кожуха из соединенных по периметру замкнутой кольцевой обечайкой 1 передней 2 с выпуклой центральной полусферической частью 3 и задней 4 с центральным на ее внутренней поверхности дискообразным выступом 5 крышек. Звуко- и термоизолирующий кожух заполнен жидким теплоносителем 6, а в его полости размещен корпус из связанных по наружным торцам кольцевой замкнутой по периметру перемычкой 7 передней 8, имеющей центральный виде усеченного конуса проем 9, и задней 10 дискообразных стенок, внутренние поверхности 11 и 12 которых являются оппозитно расположенными неподвижными рабочими органами. Между внутренними поверхности 11 и 12 передней 8 и задней 10 дискообразных стенок размещен с гарантированным зазором “S” закрепленный на приводном валу 13 подвижный дискообразный рабочий орган 14. На передней 15 и задней 16 торцевых поверхностях подвижного дискообразного рабочего органа 14 равномерно расположены по окружности наклонные относительно друг друга завихрители, выполненные в виде замкнутых в плане канавок 17. На конце приводного вала 13 установлен торовый завихритель 18, расположенный вдоль продольной оси центрального виде усеченного конуса проема 9 передней 8 стенки корпуса. Патрубки подачи 19 и отбора 20 жидкого теплоносителя 6 установлены соответственно на задней 4 крышке звуко и термоизолирующего кожуха и задней 10 стенки корпуса. Заполненное жидким теплоносителем 6 пространство между внутренними поверхностями передней 2 с выпуклой центральной полусферической частью 3 и задней 4 крышек звуко термоизолирующего кожуха и поверхностью корпуса разделено на ограниченную внутренней поверхностью выпуклой центральной полусферической 3 частью передней крышки 2 и поверхностью передней 8 передней 8, имеющей центральный виде усеченного конуса проем 9 стенки, активную 21 зону и переходящую в нее пассивную 22 зону смешения части нагретого до заданной температуры жидкого теплоносителя 6 с вновь подаваемым через патрубок подачи 19 холодным жидким теплоносителем 6. Радиус “R” кривизны внутренней поверхности выпуклой центральной 3 полусферической части передней 2 крышки и диаметр “Dвп” патрубка отбора 20 нагретого до заданной температуры жидкого теплоносителя 6 превышают диаметр “D п” приводного вала 13 и толщину дискообразного рабочего органа 14 соответственно в 3-10 и 3-5 раз. Гарантированный зазор “S” меньше расстояния “L” между внутренними поверхностями передней и задней стенок корпуса в 3-8 раз.
Работа теплогенератора, позволяющего реализовать заявленный способ получения тепла, осуществляется следующим образом. Через патрубок подачи 20 жидкого теплоносителя 6 циркуляционным насосом (на чертежах условно не показан) в звуко и термоизолирующий кожух подается жидкий теплоноситель 6, в качестве которого может быть использована вода, тосол, антифриз и/или различные смеси на их основе. Предварительный разогрев (стартовый разогрев) предпочтительно осуществлять в теплогенераторе в замкнутом режиме его циркуляции без отбора тепла потребителем до достижения, по крайней мере, нагрева до достижения жидкого теплоносителя 6 температуры 90°С.
На первом этапе разгона и формирования
потока жидкого теплоносителя 6 на него
воздействуют подвижным дискообразным
рабочим органом 14, закрепленным на
приводном валу 13 до достижения в активной 21
зоне, ограниченной внутренней поверхностью
выпуклой полусферической центральной
части 3 передней крышки 2 звуко
термоизолирующего кожуха и поверхностью
передней 8 стенки, имеющей центральный виде
усеченного конуса проем 9, в котором
размещен торовый завихритель 18,
тангенциальной скорости потока жидкого
теплоносителя 6 в 8-12 м/с и температуры
фазового перехода жидкого теплоносителя 6
пар (t
90°C).
При температуре фазового перехода поток
теплоносителя 6 преобразуется в поток
газожидкостной смеси, на которую затем на
втором этапе воздействуют торовым
завихрителем 18, разгоняя ее до
тангенциальной скорости, равной не менее 12
м/с, и обеспечивающей под воздействием
торового завихрителя 18 образование
центробежными силами воронки. В
центральной точке образованной
центробежными силами воронки происходит
физический процесс преобразования
безреактивной энергии в энергию тепла,
которая выделяет в окружающую среду
дополнительное тепло, нагревающее
газожидкостную смесь до 250°С и выше
градусов, что резко повышает эффективность
выработки теплогенератором тепла, через
патрубок отбора 20 отводится потребителю.
Предлагаемый способ получения тепла, реализуемый с использованием предлагаемого теплогенератора позволяет повысить эффективность выработки тепла при полном одновременном исключении технологического процесса подготовки жидкого теплоносителя.
ФОРМУЛА ИЗОБРЕТЕНИЯ
1. Способ получения тепла, включающий стартовый подогрев жидкого теплоносителя и последующий подъем его температуры до температуры его газожидкостного состояния путем разгона предварительного сформированного потока жидкого теплоносителя до направленного вихревого состояния с последующим отбором получаемой тепловой энергии от выходящего потока жидкого теплоносителя к потребителю, отличающийся тем, что разгон потока жидкого теплоносителя ведут в два этапа, на первом из которых на последний воздействуют в ограниченном пространстве имеющей завихрители поверхностью подвижного дискообразного рабочего органа до достижения потоком жидкого теплоносителя скорости V, равной 8-12 м/с, соответствующей температуре его перехода в газожидкостную смесь, а на втором этапе на последнюю воздействуют торовым завихрителем до достижения потоком газожидкостной смеси жидкого теплоносителя тангенциальной скорости в 12 и более м/с, при которой степень ее разогрева превышает температуру парообразования жидкого теплоносителя.
2. Способ по п.1, отличающийся тем, что предварительный разогрев жидкого теплоносителя осуществляют в замкнутом режиме его циркуляции без отвода тепла потребителю.
3. Теплогенератор, содержащий герметичную емкость, заполненную жидким теплоносителем, в которой размещены оппозитно неподвижные тарельчатые рабочие органы и расположенный между ними с гарантированным зазором S закрепленный на приводном валу подвижный дискообразный рабочий орган, имеющий на своих торцевых поверхностях равномерно расположенные по окружности наклонные относительно друг друга завихрители, и патрубки подачи и отбора жидкого теплоносителя, отличающийся тем, что снабжен закрепленным на конце приводного вала подвижного дискообразного рабочего органа торовым завихрителем, емкость выполнена в виде звуко- и термоизолирующего кожуха из соединенных по периметру замкнутой кольцевой обечайкой передней центральной частью с выпуклой полусферической соосной с осью вращения торового завихрителя и задней с центральным на ее внутренней поверхности дискообразным выступом крышек, неподвижные тарельчатые рабочие органы – в виде образующих корпус и связанных по наружным торцам кольцевой замкнутой по периметру перемычкой, передней с охватывающим концентрично торовый завихритель центральным в виде усеченного конуса проемом и задней стенок, завихрители – в виде замкнутых в плане канавок, патрубки подачи и отбора жидкого теплоносителя установлены соответственно на задней крышке звуко- и теплоизолирующего кожуха и задней стенки корпуса, при этом заполненное жидким теплоносителем пространство между внутренней поверхностью звуко- и термоизолирующего кожуха и корпусом разделено на ограниченную внутренней поверхностью выпуклой центральной полусферической передней частью звуко- и термоизолирующего кожуха активную зону и переходящую в нее пассивную зону смешения части нагретого до заданной температуры жидкого теплоносителя с вновь подаваемым холодным жидким теплоносителем, а радиус R кривизны внутренней поверхности выпуклой центральной полусферической части передней крышки и диаметр Dвпвыходного патрубка превышают диаметр Dпприводного вала и толщину дискообразного рабочего органа, соответственно в 3-10 и 3-5 раз, причем гарантированный зазор S меньше расстояния L между внутренними поверхностями передней и задней стенок корпуса в 3-8 раз.
4. Теплогенератор по п.3, отличающийся тем, что замкнутые в плане контуры образующих завихрители канавок выполнены в виде запятой.
5. Теплогенератор по п.3, отличающийся тем, что замкнутые в плане контуры образующих завихрители канавок выполнены в виде ромба.
6. Теплогенератор по п.3, отличающийся тем, что замкнутые в плане контуры образующих завихрители канавок выполнены в виде треугольников.
7. Теплогенератор по п.3, отличающийся тем, что замкнутые в плане контуры образующих завихрители канавок выполнены Г-образными.
Версия для печати
Дата публикации 30.12.2006гг
Created/Updated: 25.05.2018
|





