| Начало раздела Производственные, любительские Радиолюбительские Авиамодельные, ракетомодельные Полезные, занимательные | Хитрости мастеру Электроника Физика Технологии Изобретения | Тайны космоса Тайны Земли Тайны Океана Хитрости Карта раздела | |
| Использование материалов сайта разрешается при условии ссылки (для сайтов - гиперссылки) | |||
Навигация: => | На главную/ Каталог патентов/ В раздел каталога/ Назад / |
|
ИЗОБРЕТЕНИЕ
Патент Российской Федерации RU2253047
![]()
СПОСОБ ПРЕОБРАЗОВАНИЯ ЭЛЕКТРИЧЕСКОЙ ЭНЕРГИИ В ТЕПЛОВУЮ
В ЭЖЕКТОРНО-ВИХРЕВОЙ УСТАНОВКЕ
Имя изобретателя: Мамаев Александр Николаевич (RU)
Имя патентообладателя: Мамаев Александр Николаевич (RU)
Адрес для переписки: 109652, Москва, ул. Люблинская, 171, кв.54, А.Н. Мамаеву
Дата начала действия патента: 2002.12.04
Изобретение относится к теплотехнике и может быть использовано для отопления зданий, подогрева воды в жилищно-коммунальном хозяйстве, сельскохозяйственном секторе и на транспорте. Из электропарогенератора пар подают в сопло струйного аппарата, где производят смешение с холодным жидкостным потоком и формируют двухфазный поток с разгоном до сверхзвуковой скорости. На выходе камеры смешения производят торможение двухфазного потока с формированием в нем скачка давления с переводом потока после скачка в жидкостный поток. Далее поток разделяют, одну часть потока направляют в теплообменник вихревой трубы, нагревают его и далее направляют на пополнение в электропарогенератор. Другую часть направляют в сопловой аппарат, где поток разгоняют до сверхзвуковой скорости с формированием двухфазного потока, далее тормозят с переводом потока в жидкостный, насыщенный микропузырьковой составляющей. Выход соплового аппарата соединяют с входом завихрителя, в котором формируют вихревой поток, из завихрителя поток направляют в вихревую трубу, в которой организуют выделение тепла и разделение потока на более горячую и более холодную составляющую. Далее из вихревой трубы поток подают в теплообменник установки для передачи тепла второму контуру и затем охлажденный жидкостный поток направляют на вход эжектора. Технический результат - повышение КПД установки.
ОПИСАНИЕ ИЗОБРЕТЕНИЯ
Изобретение относится к области нагревательной техники, в котором оказалось возможным организовать процесс нагрева циркулирующей жидкости.
Известен способ преобразования электрической энергии в тепловую в вихревом теплогенераторе, включающий подачу воды из центробежного насоса через инжекционный патрубок в ускоритель, который выполнен в виде завихрителя с цилиндрической вихревой трубой, где происходит выделение тепла из воды, на другом конце вихревой трубы смонтировано тормозное устройство, и последующую подачу части воды обратно на вход в насос, другой части воды с систему отопления с дальнейшим возвращением на вход в насос (патент №2045715, МПК F 25 В 29/00).
Недостатком этого изобретения являетсяналичие в качестве источника механической энергии центробежного насоса, который обладает низким коэффициентом преобразования электрической энергии в механическую - 0.6 - 0.65, что значительно снижает эффективность данной установки.
Наиболее близким к описываемому является способ работы эжекторной тепловыделяющей установки, включающий подачу нагретого теплоносителя - пара и охлажденного жидкостного потока на вход струйного аппарата, где происходит их смешение с образованием двухфазного потока и разгона потока до сверхзвуковой скорости с формированием в потоке скачка уплотнения, с нагревом в нем жидкости, с последующей подачей части жидкости в паровой котел, подачу другой части потока в теплогенерирующую решетку с разгоном в ней потока до скорости, при которой давление падает до давления насыщенных паров, и формированием двухфазного сверхзвукового потока, формированием скачка давления, в котором происходит нагрев жидкости. Затем поток подают в тепловыделяющее устройство и далее на вход струйного аппарата (патент №2127832, МПК F 04 Р 5/54).
Недостатком данного технического решения является то, что в ней не полностью используют кинетическую и внутреннюю энергию потока, подача потока с тепловыделяющего устройства на теплопотребляющее устройство не позволяет полностью снять тепловую энергию схлопывания микроскопических парогазовых пузырьков.
Техническим результатом изобретения является повышение эффективности способа путем организации более оптимального процесса тепловыделения и теплопотребления, что обуславливает увеличение КПД.
В известном способе преобразования электрической энергии в тепловую в эжекторно-вихревой установке, в которой в эжекторе производят смешение горячего теплоносителя - пара и охлажденного жидкостного потока с образованием двухфазного потока и переводом его на сверхзвуковой режим, с формированием в потоке скачка давления и выделением в нем тепла, преобразованием потока в жидкостный, далее часть нагретого жидкостного потока направляют в электропарогенератор, а другую часть в сопловой аппарат, где поток преобразуют в двухфазный поток, разгоняют до сверхзвуковой скорости, организуют скачок давления и переводят в жидкостный поток, наполненный микропузырьками пара с дополнительным нагревом потока, при этом новым является то, что далее поток направляют в завихритель, из него жидкостный поток, насыщенный микропузырьковой составляющей, направляют в вихревую трубу, где происходит схлопывание пузырьков, с выделением тепловой энергии, затем из вихревой трубы поток направляют в теплообменник, в котором обеспечивают снятие тепла и передачу его потребителю, при этом другую часть потока из эжектора направляют в теплообменник вихревой трубы, в котором нагревают поток от более горячих внешних слоев вихревого потока в вихревой трубе, далее эту подогретую часть потока подают на подпитку в электропарогенератор.
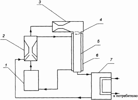
![]() | Важное значение имеет то, что применение эжектора в качестве насоса для организации вихревого движения потока в вихревой трубе и нагрева жидкостного потока позволило отказаться от механического привода - центробежного насоса, что, во-первых, повысило эффективность установки, и, во-вторых, значительно упростило конструкцию. Важное значение имеет и то, что данная конструкция позволяет не просто организовать циркуляцию потока, но и придать потоку, возвращаемому в электропарогенератор, дополнительную тепловую энергию, выделяемую в вихревой трубе, а следовательно, повысить КПД всей установки. Сущность изобретения поясняется прилагаемым чертежом. Эжекторно-вихревая установка для реализации способа содержит электропарогенератор 1, эжектор 2, сопловой аппарат 3, завихритель 4, вихревую трубу 5, теплообменную трубу 6, теплообменник потребителя 7. |
Электропарогенератор 1 своим выходом подключен к входу в эжектор 2, эжектор 2 одним выходом соединен с входом в сопловой аппарат 3, выход соплового аппарата подключен к входу завихрителя 4, который соединен с вихревой трубой 5. Вихревая труба своим выходом соединена с входом в теплообменник потребителя 7, выход теплообменника подключен к входу в эжектор 2. Другим выходом эжектор 2 подключен к входу в теплообменную трубу 6, выход которой соединен с парогенератором 1. Установка работает следующим образом. Пар из электропарогенератора 1 поступает в сопло эжектора 2, где смешивается с охлажденным жидкостным потоком, разгоняется с образованием двухфазной смеси. Двухфазный поток преобразуется в сверхзвуковой поток, в котором организуют скачок давления с преобразованием двухфазного потока в однофазный жидкостный. С ростом давления происходит реструктуризация жидкости, что приводит к выделению тепла. Из эжектора 2 часть потока направляется в сопловой аппарат 3, в котором жидкостный поток разгоняется до скорости, при которой давление падает до давления насыщения, при этом поток вскипает, превращается в двухфазный с переходом на сверхзвуковой режим. В сверхзвуковом потоке формируется скачок давления с переходом двухфазного потока в жидкостный поток, заполненный микропузырьковой составляющей. Форма и размеры сопла выбраны таким образом, что позволяют увеличить парогазосодержание потока. В скачке поток дополнительно нагревается. Далее поток направляется в завихритель 4. В поле закрученного потока характер распределения скорости, давления и энтальпии определяет перенос энергии между слоями закрученного потока с вихревым температурным разделением. Процесс перестройки поля скоростей с уменьшением окружной скорости внутреннего потока способствует отводу кинетической энергии от него к внешним слоям с большими значениями окружной скорости. В результате такого эффекта внешние слои нагреваются, а внутренние охлаждаются. Дополнительно в соответствии с характером распределения давления в вихревом потоке интенсивность схлопывания микропузырьковой составляющей выше в месте большего давления, т.е. у внешних слоев. Таким образом в вихревой трубе создается поле температур. Далее из вихревой трубы поток попадает в теплообменник 7, который обеспечивает снятие тепла и передачу его потребителю через вторичный контур. Теплоносителем во вторичном контуре может быть газ или жидкость.
Другую часть потока из струйного аппарата 2 подают в теплообменную трубу 6, нагревают от горячих стенок вихревой трубы и с более высокими значениями давления и температуры направляют в электропарогенератор 1 для подпитки.
Предлагаемый способ работы установки может быть использован для автономного отопления различных помещений, зданий, там, где нет централизованного отопления, или взамен централизованного, а и для горячего бытового и технического водоснабжения.
ФОРМУЛА ИЗОБРЕТЕНИЯ
Способ преобразования электрической энергии в тепловую в эжекторно-вихревой установке, в которой в эжекторе производят смешение горячего теплоносителя - пара и охлажденного жидкостного потока с образованием двухфазного потока и переводом его на сверхзвуковой режим, с формированием в потоке скачка давления и выделением в нем тепла, преобразованием потока в жидкостный, далее часть нагретого жидкостного потока направляют в электропарогенератор, а другую часть - в сопловой аппарат, где поток преобразуют в двухфазный поток, разгоняют до сверхзвуковой скорости, организуют скачок давления и переводят в жидкостный поток, наполненный микропузырьками пара с дополнительным нагревом потока, отличающийся тем, что далее поток направляют в завихритель, из него жидкостный поток, насыщенный микропузырьковой составляющей, направляют в вихревую трубу, где происходит схлопывание пузырьков с выделением тепловой энергии, далее из вихревой трубы поток направляют в теплообменник, в котором обеспечивают снятие тепла и передачу его потребителю, при этом другую часть потока из эжектора направляют в теплообменник вихревой трубы, в котором нагревают поток от более горячих слоев вихревого потока в вихревой трубе, далее эту подогретую часть потока подают на подпитку в электропарогенератор.
Версия для печати
Дата публикации 07.12.2006гг
Created/Updated: 25.05.2018
|

