| Начало раздела Производственные, любительские Радиолюбительские Авиамодельные, ракетомодельные Полезные, занимательные | Хитрости мастеру Электроника Физика Технологии Изобретения | Тайны космоса Тайны Земли Тайны Океана Хитрости Карта раздела | |
| Использование материалов сайта разрешается при условии ссылки (для сайтов - гиперссылки) | |||
Навигация: => | На главную/ Каталог патентов/ В раздел каталога/ Назад / |
|
ИЗОБРЕТЕНИЕ
Патент Российской Федерации RU2160419
![]()
ГАЗОВЫЙ ГЕНЕРАТОР ТЕПЛА УСТАНОВКИ ПОДОГРЕВА ВОДЫ ДЛЯ ОТОПЛЕНИЯ
И/ИЛИ ГОРЯЧЕГО ВОДОСНАБЖЕНИЯ
Имя изобретателя: Евсеев Г.А.
Имя патентообладателя: Закрытое акционерное общество "Тепловые Экологичные Технологии"
Адрес для переписки: 125438, Москва, ул. Онежская 8-10, ЗАО "ТЭТ"
Дата начала действия патента: 1999.05.18
Газовый генератор тепла установки подогрева воды для отопления и/или горячего водоснабжения содержит камеру сгорания с огневым днищем, снабженным отверстием (отверстиями), стабилизатор (стабилизаторы) пламени в камере сгорания, форсунку (форсунки) для подачи и смешения газообразного горючего с воздухом. Форсунка выполнена в виде двухступенчатого эжектора и кольцевого сопла завесы. Первая ступень эжектора выполнена с отношением площади выхода центрального сопла F1 к суммарной площади F0 эжектирующих сопел F1/F0= К1Ч(Мr/Мв)ЧL02, где Mr и Mв - молекулярные массы соответственно горючего газа и воздуха; L0- стехиометрический коэффициент. Камера смешения первой ступени эжектора выполнена с площадью поперечного сечения F2=K2ЧF1. Кольцевое сопло второй ступени эжектора образовано наружной стенкой камеры смешения первой ступени и водным раствором камеры смешения второй ступени эжектора, соединенными между собой во входной части сопла, сообщено с атмосферой и выполнено с площадью выхода F3=K3ЧF1. Камера смешения второй ступени эжектора выполнена с площадью поперечного сечения F4=K4ЧF1. Кольцевое сопло завесы образовано наружной стенкой камеры смешения второй ступени и внутренней поверхностью цилиндрического вкладыша в отверстие огневого днища, соединенными между собой во входной части сопла, сообщено с атмосферой и выполнено с площадью поперечного сечения F5=K5ЧF1, где численные значения коэффициентов равны: K1=0,18 - 0,22; K2=1,0 - 2,0; K3=4,5 -6,5; K4= 5,0 - 6,5; K5= 1,4 - 1,8. Изобретение обеспечивает более высокую надежность работы и экологическую чистоту газового генератора тепла.
ОПИСАНИЕ ИЗОБРЕТЕНИЯ
Изобретение относится к теплоэнергетике и может быть использовано в установках подогрева воды для отопления и/или горячего водоснабжения зданий и сооружений децентрализованным образом.
Известен газовый генератор тепла установки для водяного отопления и/или горячего водоснабжения (см. патент РФ N 2018771, кл. F 23 D 14/00, 23/00, 1994), взятый в качестве прототипа и содержащий камеру сгорания с огневым днищем, снабженным отверстиями, установленные соосно соответствующим отверстиям огневого днища в камере сгорания стабилизаторы пламени и с противоположной стороны днища - форсунки для подачи и смешения газообразного горючего с воздухом, каждая из которых выполнена в виде эжектора с эжектирующими соплами, сообщенными с источником горючего газа, равномерно расположенными по периметру и наклоненными под углом к оси центрального сопла, сообщенного с атмосферой.
Недостаток указанного газового генератора тепла установки для водяного отопления и/или горячего водоснабжения заключался в том, что выход каждой форсунки был удален от огневого днища, а эжектор для предварительного смешения газообразного горючего с воздухом был одноступенчатым. В процессе эксплуатации описанного выше генератора тепла наблюдались недопустимые проскоки пламени внутрь форсунки, например при изменении (включение/отключение) числа работающих форсунок, при этом пламя стабилизировалось внутри форсунки на эжектирующих соплах. Подсасываемый через кольцевой зазор между форсункой и днищем поток воздуха не был достаточным образом организован, тогда как этот поток воздуха должен главным образом выполнять функцию завесы, т.е. обеспечивать отсутствие контакта сгоревшей смеси в камере сгорания с предварительно перемешанной топливной смесью на выходе форсунки и как следствие отсутствие горения на ее выходе.
В основу изобретения поставлена задача разработать газовый генератор тепла установки подогрева воды для водяного отопления и/или горячего водоснабжения, свободный от указанных недостатков при обеспечении высокой экологической чистоты, например класса "голубой ангел", установки в целом.
Поставленная цель достигается тем, что в газовом генераторе тепла установки подогрева воды для отопления и/или горячего водоснабжения, содержащем камеру сгорания с огневым днищем, снабженным отверстием (отверстиями), стабилизатор (стабилизаторы) пламени в камере сгорания и с противоположной стороны днища - форсунку (форсунки) для подачи и смешения газообразного горючего с воздухом, выполненную в виде эжектора с эжектирующими соплами, сообщенными с источником горючего газа, равномерно расположенными по периметру сообщенного с атмосферой центрального сопла и наклоненными под углом к его оси, форсунка выполнена в виде двухступенчатого эжектора и кольцевого сопла завесы.
Первая ступень эжектора выполнена с
отношением площади выхода центрального
сопла F1 к суммарной площади выходов
эжектирующих сопел F0
F1F0 = K1Ч(Mг/Mв)ЧL02(K1 = 0,18 ... 0,22),
где Mг и Мв - молекулярные массы
соответственно горючего газа и воздуха, L0- стехиометрический коэффициент. Камера
смешения первой ступени эжектора выполнена
с площадью поперечного сечения F2
F2 = K2ЧF1(K2 = 1,0...2,0).
Кольцевое сопло второй ступени эжектора
образовано наружной стенкой камеры
смешения первой ступени в ее выходной части
и входным раструбом камеры смешения второй
ступени эжектора, соединенными между собой
во входной части сопла, например, с помощью
пилонов, сообщено с атмосферой и выполнено
с площадью выхода F3
F3 = K3 ЧF1 (K3 = 4,5...6,5).
Камера смешения второй ступени эжектора
выполнена с площадью поперечного сечения F4
F4 = K4 ЧF1 (K4 = 5,0 ... 6,5).
Кольцевое сопло завесы образовано наружной
стенкой камеры смешения второй ступени и
внутренней поверхностью цилиндрического
вкладыша в отверстие огневого днища,
соединенными между собой во входной части
сопла, например, с помощью пилонов, сообщено
с атмосферой и выполнено с площадью
поперечного сечения F5,
F5 = K5 ЧF1 (K5 = 1,4...1,8).
Численные значения коэффициентов в приведенных выше соотношениях выбраны из условия обеспечения в первой ступени эжектора форсунки коэффициента избытка окислителя, равного 0,4...0,6, и коэффициента избытка окислителя для форсунки в целом, равного 1,2...1,4.
При этом возможны следующие варианты и
комбинации вариантов выполнения газового
генератора тепла и его форсунки:
- вход камеры смешения первой ступени
эжектора выполнен в форме конфузора,
- выход камеры смешения первой ступени
эжектора выполнен в форме диффузора,
- входная часть камеры смешения второй
ступени эжектора после раструба выполнена
в форме конфузора,
- выход камеры смешения второй ступени
эжектора выполнен в форме диффузора,
- стабилизатор пламени, например, в форме
конуса, обращенного вершиной в сторону
форсунки, установлен на торце вкладыша,
например, с помощью стоек.
Выполнение форсунки газового генератора тепла в виде двухступенчатого эжектора и кольцевого сопла завесы позволяет обеспечить в первой ступени эжектора такой коэффициент избытка окислителя, при котором в этой ступени отсутствует горение, а на выходе второй ступени эжектора получить предварительно перемешанную топливную смесь с коэффициентом избытка окислителя, обеспечивающим эффективную (высокий КПД) работу установки подогрева воды для отопления и/или горячего водоснабжения с экологически чистым выхлопом. Предложенное техническое решение устраняет проскок пламени в первую ступень эжектора и горение внутри форсунки на эжектирующих соплах.
Во второй ступени эжектора топливная смесь является горючей.
В этой ступени в принципе возможен проскок пламени при больших возмущениях давления в камере сгорания, например, при изменении числа работающих форсунок (включение/отключение). Однако предложенная конструкция форсунки обеспечивает такие условия, при которых скорость потока во второй ступени эжектора значительно (на порядок) превышает нормальную скорость горения. Это исключает стабилизацию пламени внутри горелки даже при проскоке пламени.
Кольцевое сопло завесы с пилонами на его входе предотвращает контакт между продуктами сгорания и топливной смесью на выходе форсунки, что является дополнительным фактором для устранения проскока пламени.
Установка стабилизатора пламени на торце вкладыша, например, с помощью стоек является в свою очередь дополнительным фактором для устранения проскока пламени, так как стойки располагаются за зоной завесы и при нагревании не являются источниками поджига. Кроме того, закрепление стабилизатора на стойках позволяет осуществить предварительную сборку с точной центровкой стабилизатора относительно оси форсунки, что существенно для организации процесса горения в камере сгорания.
Экспериментальная отработка газового генератора тепла с форсункой в виде двухступенчатого эжектора и с кольцевым соплом завесы показала, что даже при больших возмущениях давления в камере и выбросе пламени через кольцевое сопло второй ступени пламя внутри форсунки не стабилизируется и после снятия возмущения восстанавливается нормальный процесс работы форсунки и горения в камере сгорания.
Рассмотрим конкретный пример расчета и выполнения форсунки
Пусть в качестве горючего газа используется метан, давление подачи газа в установку равно 2000 Па, тепловая мощность газового генератора тепла составляет 100 кВт, а камера сгорания содержит восемь форсунок с тепловой мощностью 12,5 кВт каждая. Стехиометрический коэффициент L0 для смеси метан-воздух равен 17,16, молекулярная масса метана Мг = 16, а молекулярная масса воздуха Mв = 29. Подача газа осуществляется через три отверстия диаметром 1,7 мм, при этом с учетом входных потерь давления расход газа через форсунку составит 0,25 г/с, что при низшей теплотворной способности метана 50 МДж/кг обеспечивает заданную тепловую мощность форсунки. Выберем диаметр центрального сопла, равный 17 мм, тогда F1/F0 = 33,3. При этом K 1= 0,205. Примем K2 = 1,5, K3 = 5,5, K4 = 5,7, K5 = 1,6. Расчеты показывают, что при разрежении в камере сгорания, равном 1,5...3 Па, типичном для камеры сгорания установки, в первой ступени эжектора коэффициент избытка окислителя равен 0,49. . .0,50, на выходе второй ступени - 1,13...1,21, для форсунки в целом (с учетом воздуха завесы) - 1,22...1,33 соответственно. При этом скорость газовой смеси на выходе второй ступени форсунки составит 3,0...3,2 м/с, а нормальная скорость горения метана при коэффициенте избытка окислителя, равном 1,13...1,21, будет 0,28...0,24 м/с соответственно.
![]() | ![]() | ![]() | ||
![]() | ||||
![]() | ![]() | ![]() | ![]() | ![]() |
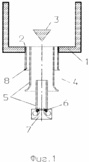
На фиг. 1 - 9 представлены схема газового генератора тепла и варианты выполнения форсунки.
Газовый генератор тепла (фиг. 1) содержит камеру сгорания с огневым днищем 1, снабженным отверстием (отверстиями) 2, стабилизатор (стабилизаторы) пламени 3 в камере сгорания и с противоположной стороны днища - форсунку (форсунки) 4 для подачи и смешения газообразного горючего с воздухом, выполненную в виде двухступенчатого эжектора 5 с эжектирующими соплами 6, сообщенными с источником горючего газа, равномерно расположенными по периметру сообщенного с атмосферой центрального сопла 7 и наклоненными под углом к его оси, и кольцевого сопла завесы 8.
Первая ступень эжектора форсунки (фиг. 2)
выполнена с отношением площади выхода
центрального сопла F1 к суммарной
площади выходов эжектирующих сопел F0
F1F0 = K1Ч(Mг/Mв)ЧL02(K1 = 0,18...0,22),
где Mг и Мв - молекулярные массы
соответственно горючего газа и воздуха, L0- стехиометрический коэффициент. Камера
смешения 9 первой ступени эжектора
выполнена с площадью поперечного сечения F2
F2 = K2 ЧF1 (K2 = 1,0...2,0).
Кольцевое сопло 10 второй ступени эжектора
образовано наружной стенкой 11 камеры
смешения первой ступени в ее выходной части
и входным раструбом 12 камеры смешения 13
второй ступени эжектора, соединенными
между собой во входной части сопла,
например, с помощью пилонов 14, сообщено с
атмосферой и выполнено с площадью выхода F3
F3= K3ЧF1(K3 = 4,5...6,5).
Камера смешения 13 второй ступени эжектора
выполнена с площадью поперечного сечения F4
F4 = K4 ЧF1 (K4 = 5,0...6,5).
Кольцевое сопло завесы образовано наружной
стенкой 15 камеры смешения второй ступени и
внутренней поверхностью цилиндрического
вкладыша 16 в отверстие огневого днища,
соединенными между собой во входной части
сопла, например, с помощью пилонов 17,
сообщено с атмосферой и выполнено с
площадью поперечного сечения F5
F5 = K5 ЧF1 (K5 = 1,4...1,8).
Вход камеры смешения 9 первой ступени может быть выполнен в форме конфузора 18 (фиг. 3).
Выход камеры смешения 9 первой ступени может быть выполнен в форме диффузора 19 (фиг. 4).
Возможна и комбинация вариантов исполнения камеры смешения 9 первой ступени эжектора (фиг. 5), когда вход камеры смешения выполнен в форме конфузора 18, а выход - в форме диффузора 19.
Входная часть камеры смешения 13 второй ступени эжектора после раструба может быть выполнена в форме конфузора 20 (фиг. 6).
Выход камеры смешения 13 второй ступени эжектора может быть выполнен в форме диффузора 21 (фиг. 7).
Возможна и комбинация вариантов исполнения камеры смешения 13 второй ступени эжектора (фиг. 8), когда вход камеры смешения после раструба выполнен в форме конфузора 20, а выход - в форме диффузора 21.
Стабилизатор пламени 3, например, в форме конуса, обращенного вершиной в сторону форсунки, может быть установлен на торце вкладыша 16, например, с помощью стоек 22 (фиг. 9).
ФОРМУЛА ИЗОБРЕТЕНИ
1. Газовый генератор тепла установки
подогрева воды для отопления и/или горячего
водоснабжения, содержащий камеру сгорания
с огневым днищем, снабженным отверстием (отверстиями),
стабилизатор (стабилизаторы) пламени в
камере сгорания и с противоположной
стороны днища форсунку (форсунки) для
подачи и смешения газообразного горючего с
воздухом, выполненную в виде эжектора с
эжектирующими соплами, сообщенными с
источником горючего газа, равномерно
расположенными по периметру сообщенного с
атмосферой центрального сопла и
наклоненными под углом к его оси,
отличающийся тем, что форсунка выполнена в
виде двухступенчатого эжектора и
кольцевого сопла завесы, первая ступень
эжектора выполнена с отношением площади
выхода центрального сопла F1 к
суммарной площади выходов эжектирующих
сопел F0
F1 / F0 = K1Ч(Mг/ Mв)ЧL02,
где Mг и Mв - молекулярные массы
соответственно горючего газа и воздуха;
L0- стехиометрический коэффициент,
камера смешения первой ступени эжектора
выполнена с площадью поперечного сечения F2
F2 = K2ЧF1,
кольцевое сопло второй ступени эжектора
образовано наружной стенкой камеры
смешения первой ступени в ее выходной части
и входным раструбом камеры смешения второй
ступени эжектора, соединенными между собой
во входной части сопла, например с помощью
пилонов, сообщено с атмосферой и выполнено
с площадью выхода F3
F3 = K3ЧF1,
камера смешения второй ступени эжектора
выполнена с площадью поперечного сечения F4
F4 = K4ЧF1,
кольцевое сопло завесы образовано наружной
стенкой камеры смешения второй ступени и
внутренней поверхностью цилиндрического
вкладыша в отверстие огневого днища,
соединенными между собой во входной части
сопла, например с помощью пилонов, сообщено
с атмосферой и выполнено с площадью
поперечного сечения F5
F5 = K5ЧF1,
где численные значения коэффициентов равны:
K1 = 0,18 - 0,22; K2 = 1,0 - 2,0; K3 = 4,5 -
6,5; K4 = 5,0 - 6,5; K5 = 1,4 - 1,8.
2. Газовый генератор тепла по п.1, отличающийся тем, что вход камеры смешения первой ступени эжектора выполнен в форме конфузора.
3. Газовый генератор тепла по п.1, отличающийся тем, что выход камеры смешения первой ступени эжектора выполнен в форме диффузора.
4. Газовый генератор тепла по п.1, отличающийся тем, что входная часть камеры смешения второй ступени эжектора после раструба выполнена в форме конфузора.
5. Газовый генератор тепла по п.1, отличающийся тем, что выход камеры смешения второй ступени эжектора выполнен в форме диффузора.
6. Газовый генератор тепла по п.1, отличающийся тем, что стабилизатор пламени, например, в форме конуса, обращенного вершиной в сторону форсунки, установлен на торце вкладыша, например, с помощью стоек.
Версия для печати
Дата публикации 26.03.2007гг
Created/Updated: 25.05.2018
|









