| Начало раздела Производственные, любительские Радиолюбительские Авиамодельные, ракетомодельные Полезные, занимательные | Хитрости мастеру Электроника Физика Технологии Изобретения | Тайны космоса Тайны Земли Тайны Океана Хитрости Карта раздела | |
| Использование материалов сайта разрешается при условии ссылки (для сайтов - гиперссылки) | |||
Навигация: => | На главную/ Каталог патентов/ В раздел каталога/ Назад / |
|
ИЗОБРЕТЕНИЕ
Патент Российской Федерации RU2095945
![]()
ЭЛЕКТРОДНЫЙ НАГРЕВАТЕЛЬ ЖИДКОСТИ
Имя изобретателя: Белков Владимир Александрович; Петрошень Виктор Михайлович
Имя патентообладателя: Белков Владимир Александрович; Петрошень Виктор Михайлович
Адрес для переписки:
Дата начала действия патента: 1995.12.04
Использование: в котлах, аккумуляторных водонагревателях, питающихся от электросети, для получения горячей воды и автономного теплоснабжения. Сущность изобретения: нагреватель представляет собой коаксиально установленные в корпусе на диэлектрической перегородке центральный фазный электрод, экранирующий металлический цилиндр и нулевой периферийный цилиндрический электрод. Корпус снабжен входным и выходным патрубками для соединения с трубопроводами отопительной системы, расширительной емкостью и коммутатором. Особенностью изобретения является электрическая связь экрана через коммутатор с источником питания и центральным фазным электродом, что позволило ступенчато автоматически регулировать мощность, тепловой режим и температуру нагрева воды в диапазоне 30-90oC.
ОПИСАНИЕ ИЗОБРЕТЕНИЯ
Изобретение относится к аккумуляционным водонагревателям электродного типа, предназначено для работы в автономных сетях водяного теплоснабжения с использованием конвективных теплообменников, радиаторов и может применяться в качестве нагревателей воды для технических целей, технологических процессов.
Известен электродный нагреватель [1] в котором за счет разности потенциалов на электродах через электропроводящую жидкость, согласно закону Джоуля-Ленца, проходит электрический ток и она нагревается. В корпусе нагревателя, снабженном входным и выходным патрубками, расширительной компенсационной емкостью, на диэлектрической перегородке смонтированы концентрично фазный и нулевой электроды, связанные с коммутатором. Между электродами помещен диэлектрический экран для автоматической установки теплового баланса за счет регулирования электрической мощности, чтобы в итоге поддержать примерно постоянную температуру нагрева жидкости.
Однако конструкция имеет ограниченный объем использования в диапазоне работоспособности, обеспечиваемой при минимуме расхода нагреваемой воды.
Более совершенными являются водогрейные аккумуляционные котлы, в которых мощность регулируется посредством изменений пространственного положения экрана относительно фазного электрода, осуществляемых приводом продольного перемещения например, [2] [3] или осевого поворота [4] Подвижный экран обеспечивает максимальное резистивное сопротивление и минимальную мощность нагревателя, при более интенсивном омывании фазного электрода, где происходит наибольшее тепловыделение. При максимальном экранировании фазного электрода устанавливается минимальная электрическая нагрузка, то есть снижается (до 25% от номинальной) потребляемая мощность нагревателя.
В изобретении [3] трубчатый экран выполнен металлическим, что дополнительно обеспечивает выравнивание плотности тока по длине фазного электрода (на 13-20%). Экран обеспечивает повышение скорости обмыва фазного электрода потоком нагреваемой жидкости, что позволяет повысить срок его службы и расширить диапазон применения нагревателя.
Недостатками известных устройств являются наличие привода, дополнительных кинематических связей, средств термостатирования коммуникационных разъемов, ориентации экрана, автоматики регулирования и контроля, которые заметно усложняют конструкцию и повышают стоимость, что экономически целесообразно для промышленных котлов высокого напряжения, используемых в системах теплоснабжения, в технологических процессах.
Практическое применение этих известных сложных устройств в качестве водогрейного котла в автономных отопительных замкнутых системах жилых и производственных помещений, дачных домов, коттеджей, гаражей, мастерских, бытовок и т.п. не представляется возможным и целесообразным.
Задачей, на решение которой направлено изобретение, является создание универсального, автономного нагревательного устройства, в котором мощность регулируется без внешнего привода.
Требуемый технический результат достигается тем, что в известном электродном нагревателе жидкости, содержащем терморегулятор, расширительную емкость, коммутатор и в термоизолированном корпусе которого, снабженном подающим и верхним отводящим патрубками, коаксиально последовательно закреплены на диэлектрической перегородке центральный фазный электрод, экранирующий металлический цилиндр и нулевой цилиндрический электрод, согласно изобретению, экранирующий цилиндр через коммутатор электрически связан с источником питания и центральным фазным электродом.
Отличительные признаки обеспечили ступенчатое автоматическое регулирование потребляемой мощности нагревателя и, следовательно, нагрев проточной воды в заданном диапазоне температуры за счет того, что металлический экран без дополнительных приводов и механизмов выполняет функции второго автономного или параллельного фазного электрода. При этом не ухудшаются основные функции экрана по интенсификации теплообмена проточной жидкости и по выравниванию плотности тока вдоль центрального фазного электрода, диаметр которого выбран из условия минимальной напряженности электрического тока на его поверхности.
Отсутствие подвижных элементов позволило обеспечить безопасность электропитания нагревателя и надлежащую защиту от поражения электротоком, что расширяет его технологические возможности.
Каждый из существенных признаков необходим, а их совокупность достаточна для достижения требуемого технического результата, который является эффектом от суммы признаков изобретения.
![]() | ![]() |
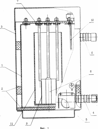
На фиг. 1 дан нагреватель, разрез; на фиг. 2 -схема устройства.
Корпус 1 (фиг. 1) нагревателя емкостью 12 ±1 л через изолирующие прокладки 2 установлен в заземленном кожухе 3, в котором смонтированы подающий 4, сливной 5 и верхний отводящий 6 патрубки. Корпус 1 закрыт диэлектрической монтажной перегородкой 7, несущей центральный фазный электрод 8 диаметром 20 мм и коаксиально установленный экранирующий цилиндр 9 диаметром 54 мм, связанные с источником питания через коммутатор 10 (фиг. 2) и нулевой периферийный цилиндрический электрод 11 диаметром 94 мм. На перегородке 7 установлен термодатчик 12, подключенный к магнитному пускателю 13.
В замкнутой отопительной системе смонтированы радиаторы 14 (фиг. 2), конвективные теплообменники, а в верхней точке установлена расширительная компенсационная емкость 15 объемом 6 ±0,5 л.
Емкость 15 служит для сбора дополнительного объема воды, образующегося вследствие расширения при нагреве, а и сбора воздуха, выделяющегося из воды при ее нагревании в корпусе 1. В водопроводной воде воздуха растворено примерно 40 мг/л, а при нагревании до максимальной расчетной температуры отопления растворимость воздуха в воде уменьшается примерно до 3 мг/л. Пузырьки воздуха всплывают в водяном потоке и поступают в емкость 15, а затем в атмосферу.
Питание электродного котла осуществляется от источника промышленной частоты напряжения до 1000 В и выполнено по "Правилам эксплуатации электроустановок потребителей. М. Энергоиздат, раздел 3.2, 6.1, 1992 г.
Максимальное потребление тока 16 А, напряжения 220 В промышленной частоты 50 Гц. Потребляемая мощность при нагреве воды до 90oC составляет 3,3 кВт. Защита от поражения электрическим током выполнена в соответствии с требованиями ГОСТ 21570.0-87 к приборам класса 1.
Охлажденная в радиаторах 14 вода под действием гравитационного напора давлением 0,2 МПа наклонной магистрали поступает в корпус 1, где нагревается электротоком при наличии разности потенциалов на нулевом 11 и фазном 8 (или фазных 8, 9) электродах по одному из режимов:
- при подключении к источнику питания центрального фазного электрода 8 и нейтральном экране 9 температура воды составляет 30-38oC;
- при подключении к источнику питания экранирующего цилиндра 9 и обесточивании электрода 8 нагрев теплоносителя осуществляется до температуры 63-72oC;
- при параллельном подключении центрального фазного 8 и цилиндрического 9 электродов к источнику питания температура нагрева составляет 86-92oC.
При наличии потенциала на фазном электроде 8 и обесточенном экране 9 нагреватель имеет максимальное резистивное сопротивление жидкости и минимальную потребляемую мощность.
При отключении центрального электрода 8 от источника питания и подключении цилиндра 9 к фазе электронагрев воды происходи в кольцевом зазоре между цилиндрами 9 и 11, а внутри цилиндра 9 осуществляется конвективный нагрев воды.
При параллельном подключении фазных электродов 8 и 9 к источнику питания увеличивается потребляемая мощность нагревателя и снижается удельное сопротивление жидкости, что влечет повышение температуры воды в межэлектродном зазоре и в целом внутри корпуса 1.
Нагретая вода поднимается вверх и через патрубок 6 поступает к радиаторам 14, где тепло конвективно передается окружающей среде. Вода охлаждается и далее цикл повторяется. Необходимые переключения электродов 9, 11 осуществляются посредством коммутатора 10.
Уровень температуры нагрева воды в заданном диапазоне контролируется датчиком 12, от сигналов которого срабатывает пускатель 13, дискретно превышающий линию электропитания нагревателя, регулируя энерговложение.
ФОРМУЛА ИЗОБРЕТЕНИЯ
Электродный нагреватель жидкости, содержащий терморегулятор, расширительную емкость, коммутатор и в термоизолированном корпусе которого, снабженном подающим и верхним отводящим патрубками, коаксиально последовательно закреплены на диэлектрической перегородке центральный фазный электрод, экранирующий металлический цилиндр и нулевой цилиндрический электрод, отличающийся тем, что экранирующий цилиндр через коммутатор электрически связан с источником питания и центральным фазным электродом.
Версия для печати
Дата публикации 21.03.2007гг
Created/Updated: 25.05.2018
|


