| Начало раздела Производственные, любительские Радиолюбительские Авиамодельные, ракетомодельные Полезные, занимательные | Хитрости мастеру Электроника Физика Технологии Изобретения | Тайны космоса Тайны Земли Тайны Океана Хитрости Карта раздела | |
| Использование материалов сайта разрешается при условии ссылки (для сайтов - гиперссылки) | |||
Навигация: => | На главную/ Каталог патентов/ В раздел каталога/ Назад / |
|
ИЗОБРЕТЕНИЕ
Патент Российской Федерации RU2152565
![]()
СПОСОБ ЭЛЕКТРИЧЕСКОГО НАГРЕВА ПРОТОЧНОЙ ЖИДКОСТИ
И УСТРОЙСТВО ДЛЯ ЕГО ОСУЩЕСТВЛЕНИЯ
Имя изобретателя: Казанов А.М.; Заворин А.С.; Макеев А.А.; Южанинов Е.Г.
Имя патентообладателя: Казанов Анатолий Михайлович; Заворин Александр Сергеевич; Макеев Анатолий Анатольевич; Южанинов Евгений Георгиевич
Адрес для переписки: 630075, г.Новосибирск, ул. А. Невского 6, кв.37, Южанинову Е.Г.
Дата начала действия патента: 1998.11.19
Способ и устройство для электрического нагрева жидкости предназначены для использования в отопительных системах жилых и производственных помещений в качестве резервного теплоснабжения этих систем. Устройство содержит корпус с подводящим и отводящим патрубками, внутри которого концентрично установлены нагревательный элемент с проточками на внешней поверхности и коллектор с отверстиями в сторону нагревательного элемента. Устройство может быть выполнено в однофазном и трехфазном варианте. Нагреваемую жидкость подают в коллектор электрического нагревателя и через его перфорацию поток направляют в корпус радиально нагревательному элементу, омывая его поверхность. Скорость направленного на нагревательный элемент потока задают больше среднерасходной скорости в объем устройства в пространстве, ограниченном коллектором и нагревательным элементом, обеспечивающую пузырьковое кипение жидкости в проточках нагревательного элемента и вынос пузырьков за его пределы, за счет такого движения жидкости в проточках не образуется пятен высыхания, что препятствует образованию накипи.
ОПИСАНИЕ ИЗОБРЕТЕНИЯ
Изобретение относится к области теплотехнихи и может быть использовано для получения горячей воды в отопительных системах жилых и производственных помещений, в том числе в качестве резервного теплоснабжения этих систем.
Известен способ нагрева проточной жидкости путем непосредственного контактирования жидкости с нагревательным элементом, размещенным внутри корпуса, реализуемый в различных известных устройствах. Например, в трубчатом подогревателе текучей среды (патент США N 5396574, 1992, F 24 H 1/10), в котором нагреваемая жидкость подается в корпус, выполненный в виде змеевика, и нагревается, непосредственно контактируя с электрическими резистивными нагревательными элементами, повторяющими конфигурацию корпуса. А и в электронагревателе (патент Великобритании N 2270370, 1994 г., F 24 H 1/10), в котором поступающая в цилиндрический корпус жидкость нагревается U-образными нагревательными элементами.
Однако в указанном способе, реализуемом описанными устройствами, жидкость, контактируя с нагревательными элементами, вызывает высокое накипеобразование на поверхности нагревательных элементов, что приводит к снижению их теплоотдачи, а неравномерность нагрева жидкости в объеме корпуса снижает эффективность данного способа и, соответственно, устройств его реализующих.
Известен способ нагрева проточной жидкости, описанный в авт. св. СССР N 1041823, F 24 H 1/20, 1983 г, в котором для повышения эффективности способа обеспечивают более равномерный нагрев жидкости по всему объему электронагревателя за счет радиальной подачи потока нагреваемой жидкости равномерно по всей высоте корпуса.
Способ реализуется в устройстве электроводонагревателя, включающего цилиндрический корпус с соосно расположенным коллектором, имеющим вертикальные ряды отверстий. Нагревательный элемент выполнен в виде набора пластин, расположенных радиально между рядами отверстий коллектора.
Однако и эти технические решения не обеспечивают значительного снижения накипеобразования и требуют проведения дополнительных мероприятий по предварительной очистке нагреваемой воды.
Наиболее близким по технической сущности заявляемому является способ нагрева жидкости и реализующее его устройство, описанные в авт.св. СССР N 1651049, F 24 H 1/20, 1991 г.
Согласно способу нагреваемую жидкость подают в коллектор электронагревателя, формируют радиально направленный поток из коллектора к нагревательному элементу, равномерно омывая его поверхность, и нагретую жидкость подают потребителю.
Устройство, реализующее этот способ, содержит корпус с подводящим и отводящим патрубками, размещенный в корпусе соосно ему коллектор с перфорацией, охватывающий нагревательный элемент.
Недостатком данных технических решений является их низкая эффективность за счет все-таки значительного количества накипи, осаждаемой на нагревательном элементе, хотя процесс накипеобразования осуществляется более замедленно, чем в рассмотренных аналогах. Это обусловлено ухудшением массообмена в общем объеме жидкости по сравнению с ранее рассмотренными аналогами.
Задачей, на решение которой направлены заявляемые изобретения, является разработка способа нагрева проточной жидкости и устройства для его реализации, обеспечивающих высокую эффективность за счет снижения накипеобразования без предварительной очистки нагреваемой жидкости.
Поставленная задача осуществлена в способе электрического нагрева проточной жидкости, заключающемся в том, что нагреваемую жидкость подают в коллектор электрического нагревателя и через его перфорацию поток направляют в корпус радиально нагревательному элементу, омывая его поверхность, и нагретую жидкость выводят из нагревателя, согласно изобретению, скорость направленного на нагревательный элемент потока задают большей среднерасходной скорости в общем объеме устройства, образуя зону повышенной циркуляции в пространстве, ограниченном коллектором и нагревательным элементом, обеспечивающую пузырьковое кипение жидкости в проточках нагревательного элемента и вынос пузырьков за его пределы.
Для реализации указанного способа в устройстве для нагрева проточной жидкости, содержащем корпус с подводящим и отводящим патрубками, внутри которого концентрично установлены нагревательный элемент и коллектор с отверстиями, согласно изобретению, нагревательный элемент имеет проточки на внешней поверхности, а отверстия коллектора обращены в сторону нагревательного элемента.
При выполнении устройства в однофазном варианте нагревательный элемент расположен на оси устройства, а коллектор выполнен в виде не менее трех трубчатых элементов, расположенных вокруг нагревательного элемента по окружности, концентричной корпусу, на равном расстоянии друг от друга.
При выполнении устройства в трехфазном варианте коллектор расположен на оси устройства, а нагревательный элемент выполнен в виде не менее трех трубчатых элементов, расположенных вокруг коллектора по окружности, концентричной корпусу, на равном расстоянии друг от друга.
![]() | ![]() |
![]() | ![]() |
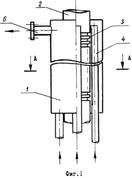
Сущность изобретения поясняется чертежами, где на фиг. 1. приведен общий вид электронагревателя (однофазный вариант); на фиг. 2 - разрез по А-А электронагревателя; на фиг. 3 - трехфазный вариант электронагревателя; на фиг. 4 - разрез по А-А трехфазного электронагревателя.
Способ реализуется в устройстве, которое содержит корпус 1, соосный корпусу цилиндрический трубчатый нагревательный элемент 2, на наружной поверхности которого выполнены проточки 3, например горизонтальные или спиральные. Коллектор 4 имеет ряд отверстий 5, расположеных по всей длине трубы и обращенных к нагревательному элементу 2. Отверстия 5 могут быть выполнены в виде сплошной прорези или набора отверстий. Корпус 1 снабжен отводящим патрубком 6.
Реализация способа нагрева проточной жидкости иллюстрируется работой электронагревателя.
Подлежащая нагреву жидкость подается через подводящий патрубок (на чертеже не изображен) в коллектор 4 и через отверстия 5 направляется в корпус 1 радиально на нагревательный элемент 2. За счет интенсивного нагревания жидкости в проточках 3 нагревательного элемента 2 происходит парообразование. Пузырьки жидкости, заполняя проточку, как бы бегут по ней, подгоняемые обтекающим нагревательный элемент радиальным потоком. За счет этого движения в проточках не образуется пятен высыхания, что препятствует образованию накипи. Потоком жидкости пузырьки выносятся из проточек и конденсируются в общем объеме жидкости. В процессе нагревания между коллектором 4 (от места отверстий 5) и нагревательным элементом 2 (до два проточки 3) образуется кольцевая зона активной циркуляции, за счет которой происходит вынос накипеобразующих веществ в общий объем жидкости. Температура жидкости во всем объеме корпуса быстро выравнивается и нагретая жидкость движется на выход к отводящему патрубку 6.
Использование способа и предлагаемого варианта устройства для его реализации позволяет обеспечить более экономичный процесс нагрева проточной жидкости, что дает возможность использовать, например, в сетях теплоснабжения воду без предварительной подготовки (очистки). Кроме того, увеличивается срок службы устройства до плановой профилактической чистки.
Эти технические решения могут быть широко использованы в отопительных системах общего теплоснабжения жилых и производственных помещений, в том числе в качестве резервного теплоснабжения, а и для тепло- и водоснабжения систем индивидуального пользования, например пансионатов, баз отдыха.
ФОРМУЛА ИЗОБРЕТЕНИЯ
1. Способ электрического нагрева проточной жидкости, заключающийся в том, что нагреваемую жидкость подают в коллектор, формируют радиально направленный поток на нагревательный элемент из коллектора по всей его длине и нагретую жидкость выводят из устройства, отличающийся тем, что задают скорость радиально направленного потока большей среднерасходной скорости в общем объеме устройства, образуя зону повышенной циркуляции между коллектором и нагревательным элементом, обеспечивающую пузырьковое кипение жидкости и вынос пузырьков за пределы нагревательного элемента.
2. Устройство для нагрева проточной жидкости, содержащее корпус с подводящим и отводящим патрубками, внутри которого концентрично установлены нагревательный элемент и коллектор с рядом отверстий по всей его длине, обращенных в сторону нагревательного элемента, отличающееся тем, что нагревательный элемент имеет проточки на внешней поверхности.
3. Устройство по п.2, отличающееся тем, что нагревательный элемент расположен на оси устройства, а коллектор выполнен в виде не менее трех трубчатых элементов, расположенных вокруг нагревательного элемента по окружности, концентричной корпусу, на равном расстоянии друг от друга.
4. Устройство по п.2, отличающееся тем, что коллектор расположен на оси устройства, а нагревательный элемент выполнен в виде не менее трех трубчатых элементов, расположенных вокруг коллектора по окружности, концентричной корпусу, на равном расстоянии друг от друга.
Версия для печати
Дата публикации 29.01.2007гг
Created/Updated: 25.05.2018
|




