| Начало раздела Производственные, любительские Радиолюбительские Авиамодельные, ракетомодельные Полезные, занимательные | Хитрости мастеру Электроника Физика Технологии Изобретения | Тайны космоса Тайны Земли Тайны Океана Хитрости Карта раздела | |
| Использование материалов сайта разрешается при условии ссылки (для сайтов - гиперссылки) | |||
Навигация: => | На главную/ Каталог патентов/ В раздел каталога/ Назад / |
|
ИЗОБРЕТЕНИЕ
Патент Российской Федерации RU2172546
![]()
СПОСОБ И УСТРОЙСТВО ДЛЯ ПЕРЕДАЧИ ЭЛЕКТРИЧЕСКОЙ ЭНЕРГИИ
Имя изобретателя: Стребков Д.С.; Авраменко С.В.; Некрасов А.И
Имя патентообладателя: Стребков Дмитрий Семенович; Авраменко Станислав Викторович
Адрес для переписки: 109456, Москва, 1-й Вешняковский пр-д, 2, ВИЭСХ, патентный отдел
Дата начала действия патента: 2000.01.24
Изобретение относится к области электротехники, в частности к способу и устройству для передачи электрической энергии. Предлагаемое изобретение направлено на создание способа и устройства для передачи электрической энергии без металлических проводов, используя, в частности, в качестве проводящего канала транспортные трубопроводы с перемещаемым по ним жидким или газообразным веществом. Сущность изобретения заключается в том, что между источниками и приемниками электрической энергии формируют в электроизоляционной оболочке по крайней мере один проводящий канал из вещества в жидкой, твердой или газообразной фазе. В каждом проводящем канале генерируют электромагнитные колебания реактивного емкостного зарядного тока и электрического поля частотой 0,3-300 кГц, создают в канале пучности напряжения, в 2-50 раз превышающие напряжение источника, преобразуют реактивный ток и энергию электрического поля канала в активный ток и активную электрическую энергию и, при необходимости, в механическую энергию и теплоту. Изобретение позволяет снизить затраты на передачу электроэнергии за счет исключения ЛЭП и может быть использовано для передачи энергии на электрические транспортные средства.
ОПИСАНИЕ ИЗОБРЕТЕНИЯ
Изобретение относится к области электротехники, в частности к способу и устройству для передачи электрической энергии.
Известен способ и устройство для передачи электроэнергии по замкнутой цепи, состоящей из двух или более проводов, трансформаторных подстанций и линий электропередач (Электропередачи переменного и постоянного тока. Электротехнический справочник, Энергоатомиздат, 1988, стр.337-352).
Недостатком известного способа являются потери в линиях, составляющие от 5% до 20% в зависимости от длины ЛЭП и высокая стоимость оборудования, составляющая 10-30 тыс. долларов за 1 км ЛЭП.
Известен способ питания электротехнических устройств с использованием генератора переменного напряжения, подключаемого к потребителю, отличающийся тем, что напряжение генератора подают на низковольтную обмотку высокочастотного трансформаторного преобразователя, а один из выводов высоковольтной обмотки соединяют с одной из входных клемм электротехнического устройства, при этом изменением частоты генератора добиваются установления резонансных колебаний в образованной электрической цепи.
Устройство, реализующее данный способ, представляет собой источник переменного напряжения с регулируемой частотой, высокочастотный трансформатор, один вывод высоковольтной секции которой изолирован, а второй предназначен для подачи энергии потребителю (патент РФ N 2108649, 1998, Авраменко С.В., Способ питания электротехнических устройств и устройство для его осуществления).
Недостатком известного способа и устройства является необходимость использования для передачи энергии опор, изоляторов, провода или кабеля, что увеличивает стоимость передачи электроэнергии.
Другим недостатком является невозможность прямого использования известного способа и устройства для непосредственного питания движущихся электрических транспортных средств: автомобилей, тракторов, кораблей и т.д.
Задачей предлагаемого изобретения является создание способа и устройства для передачи электрической энергии без металлических проводов, и снижение затрат на передачу электроэнергии за счет исключения таких элементов ЛЭП, как провода, изоляторы, кабели.
Другой задачей изобретения является обеспечение беспроволочной передачи электрической энергии на электрические транспортные средства во время их движения.
Вышеуказанный результат достигается тем, что между источниками и приемниками электрической энергии формируют в электроизоляционной оболочке по крайней мере, один проводящий канал из вещества в жидкой, твердой или газообразной фазе, в каждом проводящем канале генерируют электромагнитные колебания реактивного емкостного зарядного тока и электрического поля частотой 0,3 - 300 кГц, создают в канале пучности напряжения, в 2-50 раз превышающие напряжение источника, преобразуют реактивный ток и энергию электрического поля канала в активный ток и активную электрическую энергию и, при необходимости, в механическую энергию и теплоту.
В другом варианте способа передачи электрической энергии проводящие каналы формируют в виде сети из электроизолированных трубопроводов, по которым перемещают вещество в жидкой, твердой или газовой фазе и создают в транспортируемом веществе на входе и выходе из проводящего канала нулевой потенциал, а в веществе проводящего канала создают потенциал, равный или больше источника энергии.
Еще в одном способе передачи электрической энергии проводящий канал формируют из воды или другой жидкости с ионной проводимостью.
Еще в одном варианте способа передачи электрической энергии проводящий канал формируют в виде смеси кусков вещества в твердой фазе с жидкостью, имеющей ионную проводимость.
Еще в одном варианте способа передачи электрической энергии проводящий канал формируют в виде жгута или слоя влажной земли.
Еще в одном способе передачи электрической энергии проводящий канал формируют в газовой среде с повышенной концентрацией ионов и проводящих частиц, а и электронов и ионов, генерируемых в плазме высоковольтного высокочастотного разряда.
В другом варианте способа передачи электрической энергии проводящий канал формируют в виде пленок проводящих окислов металлов, а и пленок, углерода, нанесенных на стеклянные, пластиковые или керамические волокна.
Еще в одном варианте способа передачи электрической энергии в качестве проводящего канала используют электроизолированный ирригационный канал, а воду в канале используют для передачи электроэнергии на привод дождевальной машины и для орошения.
В другом варианте способа передачи электрической энергии в качестве проводящего канала используют электроизолированную водопроводную сеть, по которой осуществляют водоснабжение и электроснабжение потребителей водой и электрической энергией.
Еще в одном варианте способа передачи электрической энергии проводящий канал формируют в воде или в земле путем отделения части водного пространства или части объема земли с помощью электроизолирующей оболочки, при этом проводящий канал в воде соединяют с помощью троллея с высокочастотным трансформатором Тесла, установленным на водном транспортном средстве, для электроснабжения двигательной установки, а проводящий канал в земле используют для электропривода наземного и подземного электротранспортного средства.
Еще в одном варианте способа передачи электрической энергии проводящий канал формируют в виде оптического световода с электропроводящей пленкой на основе окислов металлов, углерода и металлических пленок на его поверхности и электрической изоляцией, передают по проводящему каналу информационные и управляющий сигналы в оптическом диапазоне и электрическую энергию, а устройства ввода-вывода и усиления сигналов устанавливают вдоль проводящего канала и соединяют электрически с проводящим каналом через понижающие высокочастотные трансформаторы Тесла.
Для передачи электрической энергии на летательный аппарат, проводящий канал формируют в виде вертикальной неметаллической нити переменной длины с проводящим покрытием, соединяют проводящим каналом два трансформатора Тесла, один из которых установлен на летательном аппарате, а второй на Земле, а электроизоляционную оболочку проводящего канала формируют из окружающей среды с малой электронной и ионной проводимостью, например из воздуха или космического вакуума.
Устройство, реализующее данный способ передачи электрической энергии, по крайней мере, содержит один проводящий канал с оболочкой из электроизолированного материала, с внутренней или внешней стороны которого размещено проводящее вещество с ионной или электронной проводимостью, каждый источник электрической энергии соединен с проводящим каналом через высоковольтный высокочастотный трансформатор Тесла, а каждый приемник с противоположной стороны проводящего канала соединен с ним через понижающий высокочастотный трансформатор Тесла или диодно-конденсаторный блок.
Для передачи электрической энергии между многочисленными источниками и приемниками электрической энергии устройство выполнено в виде энергетической разветвленной системы, состоящей из множества источников и приемников электрической энергии, соединенных между собой проводящими каналами, имеющими одинаковую частоту электрических колебаний в точках соединения, каждый проводящий канал соединен с источником электрической энергии с помощью высоковольтного высокочастотного трансформатора Тесла и с приемником через понижающий высокочастотный трансформатор Тесла или диодно-конденсаторный блок.
Для передачи электрической энергии по сети трубопроводов для транспортировки вещества в жидкой, твердой или газовой фазе трубопроводы электрически изолируют, начальные и конечные части трубопроводов выполняют в виде витков высоковольтной обмотки повышающего и понижающего высокочастотного трансформатора Тесла, которые соединены с устройствами подачи и выгрузки транспортируемого вещества через наружные начальные трубчатые витки высоковольтных обмоток трансформатора Тесла.
Еще в одном варианте устройства для передачи электрической энергии проводящий канал выполнен в виде электроизолированного ирригационного оросительного канала, в качестве транспортируемого вещества используется вода для орошения, а в качестве приемников энергии - стационарные электронасосные агрегаты и передвижные дождевальные машины, которые соединены погруженными в воду трубчатыми троллеями с ирригационным оросительным каналом.
В другом варианте устройство для передачи электрической энергии содержит
электрически изолированную систему разветвленных трубопроводов для транспортировки
вещества в жидкой, твердой или газовой фазе, которые соединены с источниками и
приемниками электрической энергии через высоковольтные высокочастотные
трансформаторы Тесла, а каждое устройство загрузки и выгрузки транспортируемого
вещества удалено от трансформатора Тесла на расстояние
n = 0, 1, 2, ...,
где
- длина электромагнитной волны,
генерируемой источником энергии и высоковольтным высокочастотным трансформатором
Тесла;
А - длина высоковольтной обмотки высокочастотного трансформатора Тесла.
Для передачи электрической энергии на электротранспортное средство устройство содержит стационарный источник электрической энергии, который соединен через высоковольтный высокочастотный трансформатор Тесла с электроизолированным проводящим каналом, установленным вдоль траектории движения электротранспортного средства, электротранспортное средство содержит понижающий высокочастотный трансформатор Тесла, внутренний конец многослойной высоковольтной обмотки соединен с помощью троллея с проводящим каналом, наружный конец высоковольтной обмотки соединен с искусственной емкостью, а низковольтная обмотка соединена с системой электропривода и управления электротранспортного средства.
Еще в одном варианте устройства для передачи электрической энергии на электротранспортное средство проводящий канал выполнен в виде полос шириной 1-2 м электропроводящего покрытия, нанесенного в каждом ряду движения на электроизолирующее основание шириной 1-2 м дороги, по которой перемещаются электротранспортные средства, а троллей выполнен в виде гибкого проводящего покрытия под днищем электротранспортного средства.
В варианте устройства для передачи электрической энергии на водное электротранспортное средство проводящий канал выполнен в виде открытого непрерывного лотка с водой, установленного на водной поверхности на плавающих поплавках, соединенных тросом, а троллей и понижающий высокочастотный трансформатор Тесла установлены на корабле.
Устройство для передачи электрической энергии на летательный аппарат содержит проводящий канал, который выполнен в виде вертикальной неметаллической нити изменяющейся длины с проводящим покрытием, которая присоединена к двум высоковольтным высокочастотным трансформаторам Тесла, один из которых установлен на летательном аппарате, а второй на Земле или на другом летательном аппарате.
Способ и устройство для передачи электрической энергии показаны на фиг. 1, 2, 3, 4, 5, 6, 7, 8, 9.
![]() | ![]() |
![]() | ![]() |
На фиг. 1 показана схема способа и устройства для передачи электрической энергии к стационарным потребителям по неметаллическому проводящему каналу.
На фиг. 2 - схема способа и устройства для передачи электрической энергии с помощью оптического световода с проводящим покрытием, содержащая большое количество источников и приемников электрической энергии.
На фиг. 3 - схема способа и устройства для передачи электрической энергии через сеть трубопроводов для транспортировки проводящего вещества в жидкой фазе, например, через водопроводную систему.
На фиг. 4 - схема способа и устройства для передачи электрической энергии по открытому водоводу на дождевальную машину, которая движется вдоль водовоза.
![]() | ![]() |
![]() | ![]() |
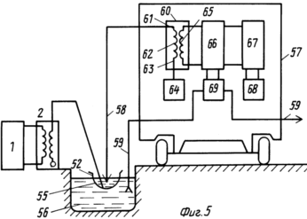
![]() | На фиг. 5 - схема способа и устройства для передачи электрической энергии наземному электрическому транспортному средству от проводящего канала, установленного на поверхности ирригационного канала или реки. На фиг. 6 - схема способа и устройства для передачи электрической энергии электрическому транспортному средству с использованием электропроводящего покрытия на дороге в качестве проводящего канала. На фиг. 7 - схема способа и устройства передачи электрической энергии на водный транспорт с использованием водного проводящего канала. На фиг. 8 - схема способа и устройства передачи электрической энергии на летательный аппарат по неметаллическому проводящему каналу. На фиг. 9 - схема способа и устройства для передачи электрической энергии с использованием в качестве проводящего канала трубопроводов для транспортировки угля, газа, нефти и других твердых и жидких веществ. |
Согласно фиг. 1 источник электрической энергии 1 соединен параллельно с высокочастотным трансформатором Тесла 2.
Трансформатор Тесла, изобретенный в 1891 году, представляет бессердечниковый или с незамкнутым сердечником трансформатор, первичная обмотка которого расположена снаружи или соосно с вторичной обмоткой. Вторичная обмотка состоит из большого числа витков медной тонкой изолированной проволоки. Один конец вторичной обмотки остается свободным, а второй при передаче напряжения высокой частоты на первичную обмотку присоединяется к линии. В высоковольтной вторичной обмотке в условиях резонанса возникают высокочастотные колебания, колебания напряжением до 7·106 В (N. Tesla. Lectures, Patents, Articles, Beograd, 1956). Трансформатор Тесла 2 соединен с проводящим каналом с помощью высоковольтного кабеля 4. Проводящий канал 3 выполнен в виде трубки 5 из электроизоляционного материала, например из полиэтилена. Внешний диаметр трубки внутренний D, длина трубки d.
Торцы 6 трубки 5 соединены с высоковольтным кабелем 4. Внутренняя полость трубки заполнена водой.
Проводящий канал 3 соединен с приемником электрической энергии 7 с помощью понижающего трансформатора Тесла 8 или диодно-конденсаторного блока 9. Диодно-конденсаторный блок 9 используется в схемах удвоения напряжения и выполнен из двух встречно включенных диодов, соединенных с конденсатором, общая точка диодов соединена с источником питания (Электротехнический справочник, 1971 г. , Изд-во Энергия, т. 1, стр. 871). При подаче на диодно-конденсаторный блок переменного напряжения положительная волна переменного реактивного тока идет на одну обкладку конденсатора, а отрицательная на другую обкладку. Конденсатор будет накапливать заряды, пока напряжение на его выводах не достигнет положительной и отрицательной амплитуды переменного напряжения на общей точке диодов, тогда диоды окажутся запертыми и заряд конденсатора прекратится. Так работает простая схема выпрямителя с удвоением напряжения.
Согласно фиг. 2 первый проводящий канал 3 соединен со вторым проводящим каналом 10. Второй проводящий канал 10 соединен с третьим проводящим каналом 11, который получает электроэнергию от источника электрической энергии 12 через высоковольтный высокочастотный трансформатор Тесла 13.
При необходимости передать электрическую энергию к потребителю, второй проводящий канал 10 соединен с приемником электрической энергии 14 через высокочастотный понижающий трансформатор Тесла 15.
На основе предлагаемого способа и устройства может быть создана линия передачи электрической энергии без металлических проводников любой заданной протяженности, а и объединенная энергетическая система линий, соединяющих необходимое количество потребителей и источников электрической энергии. На фиг. 2 это иллюстрируется присоединением к проводящему каналу 11 проводящего канала 15 и использования проводящего канала 15 для подвода электроэнергии от источника электроэнергии 16, расположенного в стороне от каналов 3, 10, 11. Источник электроэнергии 16 соединен с проводящим каналом 15 с помощью высоковольтного высокочастотного трансформатора Тесла 17. Приемник 18 проводящего канала 15 получает электрическую энергию через диодно-конденсаторный блок 19.
Проводящие каналы 3, 10, 11 и 15 выполнены из оптических световодов 20, на поверхности которых нанесена электропроводящая пленка 21 и слой электрической изоляции 22. Оптические световоды 20 передают информацию и управляющие команды в однопроводной энергосистеме между приемниками и источниками энергии, а электропроводящая пленка 21 передает электрическую энергию. Устройства ввода - вывода 23 и усиления 24 оптических сигналов и устройства для передачи и получения электрической энергии 2, 13, 15, 17 и 19 пространственно разделены по длине проводящих каналов. Каждый оптический световод в начале и в конце на длине 1 не содержит электропроводящую пленку 21 и эта длина используется для подключения устройства ввода-вывода 23 и усиления 24 оптической информации. В местах отсутствия электропроводящей пленки проводящие каналы соединены изолированным одножильным кабелем. На границе проводящих каналов 2, 10, 11 и 15 установлены усилители 24 оптических сигналов, передаваемых по световодам 20. В общем случае усилители 24 оптических сигналов располагают по мере необходимости через определенное расстояние по длине проводящих каналов. Усилители 24 оптических сигналов получают электроэнергию через проводящие каналы 3, 10, 11, 15 от понижающих высоковольтных высокочастотных трансформаторов Тесла 25, выпрямителей и инверторов, установленных в непосредственной близости от усилителей 24 оптических сигналов.
На фиг. 3 проводящие каналы 26, 27, 28 сформированы в виде электроизолированных трубопроводов системы водоснабжения, которую используют одновременно в качестве системы энергоснабжения. Для обеспечения электробезопасности в воде на входе и на выходе из проводящих каналов создают нулевой потенциал, а в воде проводящего канала создают потенциал, равный или больше потенциала источника энергии 1 и высоковольтного высокочастотного трансформатора Тесла 29.
Источник энергии 1 соединен с низковольтной обмоткой 30 трансформатора Тесла 29. Высоковольтная многослойная обмотка 31 сделана из пустотелых электроизолированных труб, намотанных в виде катушки на ферритовый сердечник 32 трансформатора Тесла 29. Наружный пустотелый конец 33 высоковольтной обмотки 31 соединен трубчатым соединением 34 с электронасосом 35 и источником воды 36. Электронасос 35 получает электроэнергию от источника электроэнергии 1. Внутренний конец 37 высоковольтной трубчатой обмотки 31 соединен трубой 38 с проводящим каналом 26 трубопроводной системы водоснабжения.
Трансформатор Тесла в предлагаемом изобретении выполнен таким образом, что один вывод 33 высоковольтной обмотки 31 имеет нулевой потенциал по отношению к Земле, а второй вывод 37 высоковольтной обмотки 31 имеет потенциал, соответствующий полному напряжению канала по отношению к Земле. Это свойство трансформатора Тесла связано с его конструктивными особенностями, в частности с тем, что высоковольтная обмотка 31 содержит большое количество витков и высокопотенциальный вывод 37 обмотки, который соединен с проводящим каналом, располагают внутри обмотки 31 в непосредственной близости от ее оси, а вывод 33 с нулевым потенциалом располагают с наружной внешней части обмотки 31.
Так как вода поступает из источника воды 36 с помощью электронасоса 35 по трубопроводу к выводу 33 с нулевым потенциалом относительно Земли трубчатой обмотки 31 трансформатора Тесла, то и вода будет иметь на входе в трансформатор Тесла 29 нулевой потенциал и является безопасной для обработки и транспортировки.
По мере прохождения воды по виткам трубчатой высоковольтной обмотки 31 повышающего высокочастотного высоковольтного трансформатора Тесла 29 ее потенциал по отношению к Земле будет возрастать и достигнет максимума в проводящем канале. Максимальное значение потенциала электрического поля имеет место в проводящих каналах 26, 27, 28. Вода в природном состоянии имеет удельное сопротивление 0,5-10 Ом·см за счет ионной проводимости и растворенных солей и обеспечивает свободное протекание реактивного тока и реактивной мощности и потоков электромагнитной энергии.
У потребителя 39 воды установлен понижающий высоковольтный высокочастотный трансформатор Тесла 40. Вода из проводящего канала 26 - электроизолированного магистрального водовода системы водоснабжения поступает по трубопроводу 41 в катушку 42 из множества электроизолированных трубчатых витков, намотанных вокруг ферритового сердечника 43 и выполняющих функции высоковольтной обмотки понижающего высокочастотного трансформатора Тесла 40.
Трубопровод 41 из проводящего канала 26 соединен с первым трубчатым витком 44, расположенным на внутренней, близкой к оси, поверхности катушки 42. Наружный последний трубчатый виток 45 заканчивается трубчатым соединением 46 с электронасосом 47, подающим воду с нулевым потенциалом к потребителю воды 39.
Электроэнергия поступает из проводящего канала 26, 27, 28 через трансформатор Тесла 40 и инвертор 48 к потребителю энергии 49.
Таким образом, предлагаемый способ и устройство позволяют использовать системы водоснабжения, ирригации и орошения для передачи электрической энергии и подачи воды потребителям. В случае коммунальных систем водоснабжения магистральные водоводы 26, электрически изолированные от Земли, могут использоваться и для подачи электроэнергии к домам, производственным зданиям или районным распределительным узлам. Для этого достаточно пропустить воду через трубчатые высоковольтные обмотки 31 повышающего высокочастотного трансформатора Тесла 29 у источника электроэнергии 1 и источника воды 36, а затем через трубчатые высоковольтные обмотки 42 понижающего высокочастотного трансформатора Тесла 40 у потребителя электроэнергии 49 и воды 39.
На фиг. 4 проводящий канал 50 выполнен в виде открытого водовода, изолированного от земли. Подача воды и электрической энергии в проводящий канал осуществляется через высоковольтную обмотку 31 высокочастотного трансформатора Тесла 29 аналогично способу и устройству, показанному на фиг. 3. Из проводящего канала 50 вода отбирается электрическим транспортным средством - дождевальной машиной 51, которая электроэнергию и получает вместе с водой из проводящего канала 50 аналогично способу, описанному на фиг. 3. Устройство отбора электрической энергии и воды отличается от фиг. 3 тем, что понижающий высокочастотный трансформатор Тесла 40 установлен на дождевальной машине 51, которая передвигается вдоль проводящего канала 50 и производит дождевание и орошение прилегающих участков сельскохозяйственной земли. На дождевальной машине 51 установлен на изоляторах 52 трубчатый приемник 53, который забирает из магистрального канала воду и электрическую энергию и подает ее в высоковольтную обмотку 42 понижающего высокочастотного трансформатора Тесла 40, выполненную в виде многослойных трубчатых витков аналогично фиг. 3. Затем вода с нулевым потенциалом поступает через электронасос 47 на орошение. Электроэнергия из трансформатора Тесла 40 через инвертор 48 поступает на электронасос 47 и систему электропривода 54 дождевальной машины 51.
На фиг. 5, проводящий канал 55 сформирован путем отделения части водного пространства 56 с помощью электроизолирующей оболочки 52.
На фиг. 5, проводящий канал 55 в виде электроизолированного открытого лотка установлен вдоль ирригационного канала или реки 56. Электротранспортное средство 57, например, дождевальная машина, получает электроэнергию из проводящей жидкости в канале 55, например, из воды с помощью электроизолированного гибкого троллея 58. Для предупреждения замерзания проводящей жидкости в канале в зимнее время используют воду с повышенным содержанием соли. На фиг. 5 электрическая энергия подается в проводящий канал 55 от стационарных источников энергии 1 и высоковольтных высокочастотных трансформаторов Тесла 2, установленных на определенном расстоянии друг от друга вдоль проводящего канала 55. Вода с нулевым потенциалом из ирригационного канала или реки 56 подается на дождевальную машину 57 по трубопроводу 59.
Каждое электротранспортное средство 57 содержит понижающий высокочастотный трансформатор Тесла 60, один внутренний конец 61 высоковольтной обмотки 62 которого соединен с жидкостью проводящего канала 55 с помощью троллея 58. Наружный конец 63 высоковольтной обмотки 62 трансформатора Тесла 60 соединен с искусственной электрической емкостью 64.
Низковольтная обмотка 65 трансформатора Тесла 60 соединена через выпрямитель и инвертор 67 с системой электропривода и управления 68 и электрическим насосом 69. Электрический насос поднимает воду из ирригационного канала или реки 56 по трубопроводу 59 и подает на орошение.
На фиг. 6 проводящий канал 72 формирует в земле, путем выделения части объема земли с помощью электроизолирующей оболочки 71.
На фиг. 6 дорога 66, по которой перемещается электротранспортное средство 57, имеет электропроводящее покрытие 70 шириной L0 = 1-2 м, нанесенное в каждом ряду движения на электроизолирующую оболочку 71, и выполняет функции проводящего канала 72. Каждое электротранспортное средство 57 имеет гибкий проводящий троллейный шнур 59, касающийся электропроводящего покрытия 70 между колесами под днищем электротранспортного средства 57. Дорога 66 по всей плоскости электропроводящего покрытия 70 имеет одинаковый электрический потенциал. Дорога 66 имеет защитное ограждение 73 от проникновения людей и животных и специальные съезды и площадки 74, имеющие потенциал Земли для остановки транспортного средства 57.
На фиг. 7 проводящий канал 75 выполнен в виде открытого электроизолированного непрерывного лотка 76, имеющего сверху проводящее покрытие 77. Проводящий канал установлен на воде на плавающих поплавках 78, соединенных тросом 79, вдоль реки 80, судоходного канала или морского побережья. Корабль передвигается вдоль проводящего канала 75, получая электроэнергию через троллей 82 и высокочастотный трансформатор Тесла 83, установленный на корабле 81. Электрическая схема передачи электрической энергии аналогична показанной на фиг. 5, 6, 7.
На фиг. 8 проводящий канал 84 выполнен в виде вертикальной неметаллической нити 85 с электропроводящим покрытием, например из углепластиковых волокон, стеклоуглеродных волокон или кварцевых нитей с пленкой из двуокиси олова и окиси индия. В качестве проводящего покрытия могут быть использованы пленки углерода, меди, алюминия толщиной от 0,1 мкм до 40 мкм.
Нижний конец 86 проводящего канала 84 соединен через высоковольтный высокочастотный трансформатор Тесла 2 с источником электроэнергии 1.
Верхний конец 87 проводящего канала 84 соединен с понижающим высокочастотным трансформатором Тесла 88, установленным на летательном аппарате 89, например на воздушном шаре, дирижабле, вертолете, ракете, самолете с вертикальным взлетом и т.д. Трансформатор Тесла 88 через инвертор 48 соединен с системой электропривода 90 и управления электродвигательной установки воздушного аппарата 89.
На фиг. 9 проводящий канал 91 выполнен в виде электроизолированного трубопровода 92 для транспортировки воды, угля, газа, нефти и других продуктов. Электроэнергия передается с помощью воды или смеси угля и других твердых, жидких веществ с водой.
Если транспортируемое вещество является диэлектриком, например нефтепродукты, или природный осушенный газ, то в качестве проводящего канала 91 используют материал трубопровода 92. Если трубопровод 92 сделан из электроизоляционного материала, на его стенку наносят электропроводящее покрытие 93. Электрическая энергия от приемника 1 через высокочастотные трансформаторы Тесла 2 и 8 проводящий канал 91 поступает к приемнику энергии 7. Для загрузки и выгрузки транспортируемого вещества установлено загрузочное устройство 94, которое удалено от высокочастотного трансформатора Тесла 2 на расстояние L1 - A, где L1 - равно длине полуволны электромагнитных колебаний, генерируемых трансформатором Тесла 2, а A - длина его высоковольтной обмотки. Разгрузочное устройство 95 устанавливается на расстоянии L2 от трансформатора Тесла 2, где L2 = L1 (n+1)-A, n = 0, 1, 2, ...
Такое исполнение позволяет получить нулевой потенциал на проводящем канале 91 в местах загрузки и выгрузки транспортируемого вещества.
Проводящий канал может быть из электроизолирующего материала заполнен парами влажного воздуха проводящих веществ, например ртути и щелочных металлов. В этом случае в проводящем канале создают высокую концентрацию ионов и электронов с помощью высоковольтного высокочастотного разряда. Повышенная проводимость канала может быть создана генератором заряженных аэрозолей.
Пример реализации способа и устройства передачи электрической энергии.
В качестве материала проводящих каналов использованы неметаллические среды:
графитовая нить диаметром 100 мкм с удельным сопротивлением 100 Ом·м,
кварцевый световод диаметром 100 мкм с пленкой 40 мкм из алюминия, стеклянная пластина
шириной 5 мм с прозрачной проводящей пленкой оксида олова толщиной 0,3 мкм и
сопротивлением 30 Oм/
, капроновый шланг
диаметром 1,5 см, заполненный водопроводной водой, ванна из пластика со слоем воды 3 см и
аналогичная ванна с влажной землей, а и нейлоновая нить диаметром 1 мм с нанесенной
на нее в вакууме пленкой алюминия толщиной 0,5 мкм.
Все перечисленные выше проводящие каналы по отдельности присоединены к высоковольтному высокочастотному трансформатору Тесла 2 с напряжением на высоковольтной обмотке 10 кВ, частотой 5 кГц.
Высоковольтный высокочастотный трансформатор Тесла 2 содержит намотанные несколько слоев коаксиально на общем каркасе с незамкнутым ферритовым сердечником диаметром 40 - 50 мм высоковольтную обмотку, содержащую 4 - 6 тыс. витков и расположенную снаружи низковольтную первичную обмотку, содержащую 40 - 60 витков. Наружный вывод высоковольтной обмотки изолируют, а внутренний вывод присоединяют к каналу 3. Низковольтная первичная обмотка присоединена к генератору частоты 0,3 - 300 кГц. Настройка высокочастотного трансформатора Тесла 2 заключается в тщательном подборе числа витков первичной и вторичной обмотки, при которых потенциал наружного изолированного вывода высоковольтной обмотки, измеренный вольтметром по отношению к земле, равен нулю.
Для обычных трансформаторов с замкнутым сердечником получить нулевой потенциал на одном из выводов невозможно. В данном случае мы используем свойство четвертьволновых линий или однопроводного канала 3 любой длины с трансформатором Тесла 2 иметь узел напряжения и пучность тока на одном из концов линии. Высоковольтная обмотка трансформатора Тесла 2 является частью канала и один из выводов высоковольтной обмотки - началом линии с нулевым потенциалом.
В качестве электрических нагрузок использованы 3 диодно-конденсаторных блока 9 с высоковольтными искровыми разрядниками и понижающий трансформатор Тесла 8 с выпрямителем напряжением 220 В.
Два диодно-конденсаторных блока 9 состоят каждый из пары диодов типа КЦ 106 Г и конденсатора КВН-3 12 кВ 1000 ПФ.
Третий диодно-конденсаторный блок 9 имел пару диодов КЦ 106 Г и конденсатор КБГ-П, 10 кВ, 0,1 МКФ.
Понижающий трансформатор Тесла 8 фиг. 1 имеет конструкцию, аналогичную повышающему трансформатору Тесла 2. Один из выводов высоковольтной обмотки трансформатора подключен к однопроводной линии, а второй конец к естественной емкости, выполненной из металлической емкости диаметром 20 см и высотой 40 см. Низковольтная обмотка подключена к блоку ламп накаливания напряжением 220 В.
В условиях резонанса ток, проходящий через понижающий высокочастотный трансформатор Тесла 8 к нагрузке, в десятки раз превышает ток заряда емкости, проходящий через высоковольтную обмотку. Передаваемая в резонансном режиме мощность не изменяется при любом диаметре и материале канала, а и при включении последовательно в середине линии сопротивления 100 МОм. При замыкании канала на землю ток и мощность на входе канала уменьшились в отличие от обычной линии передачи. Причиной снижения тока и мощности являлось изменение параметров канала и выход из резонанса.
СПОСОБ И УСТРОЙСТВО ДЛЯ ПЕРЕДАЧИ ЭЛЕКТРИЧЕСКОЙ ЭНЕРГИИ РЕАЛИЗУЕТСЯ СЛЕДУЮЩИМ ОБРАЗОМ
Электрическая энергия от источника энергии 1 через высоковольтный высокочастотный трансформатор Тесла 2 подается на проводящий канал 3. Высоковольтный высокочастотный трансформатор 2 генерирует в проводящем канале электромагнитные колебания реактивного емкостного зарядного тока и электрического поля. Реактивный ток является током зарядки собственной емкости проводящего канала 3 по отношению к Земле, то есть током смещения, который, в отличие от тока проводимости, не подчиняется закону Ома и закону Джоуля и не создает резистивных активных потерь мощности на сопротивлении линии. Джоулевы потери от тока проводимости равны нулю, так как линия разомкнута.
(Е. Тамм. Основы теории электричества. М. , Наука, с. 133, 185-186, 397-403).
Однако зарядный (емкостной) ток создает на индуктивности канала 3 повышенное напряжение. Это явление называется емкостным эффектом и приводит в режиме быстрого сброса нагрузки или при обрыве обычной линии к аварийным перенапряжениям.
Величина перенапряжения определяется коэффициентом передачи по напряжению, который растет с ростом добротности и частоты.
Для борьбы с этими перенапряжениями в линиях устанавливают шунтирующие реакторы, компенсирующие емкость линии. (Техника высоких напряжений / под ред. проф. Д.В. Разевича // М., Энергия, 1976, с. 372-389).
В предлагаемом нами способе передачи электрической энергии используется емкостный эффект в разомкнутой линии, т.е. в качестве рабочего режима передачи электрической энергии используется аварийный режим обычных линий передач переменного тока. При этом задачи проектирования и выбор параметров линий прямо противоположны для предлагаемого способа и прототипа.
Если в известном способе передачи электроэнергии стремятся снизить емкостный ток и перенапряжения в линии, то в предлагаемом способе обеспечивают максимальную величину емкостного эффекта и перенапряжения за счет увеличения частоты и добротности в разомкнутом канале 3 и получение максимального КПД передачи электрической энергии.
и существенное отличие предлагаемого способа передачи энергии состоит в том, что зарядный (емкостный) ток, который является реактивным током, преобразует в конце канала 3 в обычный активный ток проводимости замкнутой цепи, т.е. реактивный ток используют для передачи активной мощности.
Передача энергии вдоль канала 3 осуществляется электромагнитным полем, распространяющимся в воздухе вдоль линии, которая выполняет роль направляющей системы. Вдоль канала распространяются поперечные электромагнитные волны, которые могут иметь любую частоту, в том числе и нулевую.
Структура поля волны в поперечной плоскости идентична электростатическому полю и стационарному магнитному полю.
Повышающий высокочастотный трансформатор 2 за каждый полупериод колебаний создает в однопроводном канале 3 высокую электростатическую напряженность и плотность зарядов, знаки которых изменяются в соответствии с частотой, определяемой источником энергии 1. Поскольку электромагнитные волны перемещаются со скоростью, близкой к скорости света, время распространения волны значительно меньше периода колебаний и параметры канала можно считать квазистационарными.
Емкостной зарядный ток в однопроводном канале 3 связан с перетоком зарядов вдоль эквипотенциальных линий электрического поля и обусловлен кулоновыми силами, а не действием сторонних ЭДС. Заряды будут стекать вдоль незамкнутого провода от источника 1 с большим потенциалом к приемнику 7 на конце линии с меньшим потенциалом. Заряды движутся по поверхности канала 2.
Этот ток зарядов не связан с джоулевыми потерями и не приводит к выравниванию потенциалов, так как трансформатор Тесла 2, работающий в течение полупериода, непрерывно генерирует заряды в начале линий и увеличивает потенциал источника, а в емкостном приемнике происходит отбор зарядов и стекание их в нагрузку.
В следующий полупериод происходит изменение знака зарядов и перезарядка линии, но разность потенциалов между источником и приемником сохраняется и вдоль линии к нагрузке под действием кулоновских сил движутся заряды другого знака. В качестве прототипа генератора заряда, работающего в незамкнутой цепи, можно было бы использовать электростатический генератор Ван-дер-Граафа. Трансформатор Тесла обладает значительно большей мощностью и может генерировать заряды обеих знаков с частотой и интенсивностью, недоступной для механических электростатических генераторов, использующих механизм трения.
Устройство для осуществления способа передачи электрической энергии содержит разомкнутый однопроводный канал 3 трансформатор Тесла 2 для генерации зарядного емкостного тока линии и устройства 8 и 9 на конце канала 3, преобразующие зарядный емкостный ток в активный ток проводимости.
Электрическая мощность, передаваемая по проводящему каналу 3 зависит от мощности источника 1 электрической энергии, от энергии перезарядки емкости линии 3 и приемника 7, 8 и 9, от частоты и коэффициента передачи по напряжению. Длина проводящего канала 3 зависит от мощности источника энергии 1 и частоты, и составляет от 2 м до 10000 км и более.
Электрическая мощность, передаваемая по проводящему каналу 3 диодно-конденсаторному
блоку 9 равна:
P =
·2
fcV20K2u
где P - электрическая мощность, передаваемая по линии;
- коэффициент преобразования реактивной
мощности в активную, может принимать значения от 0 до 1;
f - частота;
V0 - напряжение на высоковольтной обмотке повышающего высокочастотного
трансформатора Тесла 2;
c - емкость конденсатора в диодно-конденсаторном блоке 9;
Ku - коэффициент передачи проводящего канала 3 по напряжению.
При с = 1 МКФ, f = 5,0 кГц, V0 = 10 кВ, Ku = 30,
= 0,5, P = 141,3 МВт. Потенциал проводящего канала 3 равен нулю при длине канала, равной![]()
n = 0, 1, 2, ... , A - длина высоковольтной обмотки высокочастотного трансформатора Тесла 2.
Начало отсчета длины канала 3 совпадает с местом установки и подключения
трансформатора Тесла 2.
При f = 5 кГц полуволновая длина канала равна 30 км. Участки канала с нулевым потенциалом могут использоваться для загрузки и выгрузки транспортируемого вещества. Максимальное напряжение в канале 3 возникает на расстоянии от трансформатора Тесла, равном
n = 0, 1, 2, ...
Потери электромагнитной энергии на излучение в области частот до 100 кГц незначительны.
Использование предлагаемого способа и устройства передачи электрической энергии позволяет снизить расход цветных металлов: алюминия и меди в сотни раз или полностью исключить любые металлы из материалов, используемых и линиях передачи электроэнергии, а и уменьшить по крайней мере в 2 раза потери энергии при передаче ее от генераторов к потребителям.
ФОРМУЛА ИЗОБРЕТЕНИЯ
1. Способ передачи электрической энергии, включающий передачу электрической энергии от источников электрической энергии к приемникам электрической энергии, отличающийся тем, что между источниками и приемниками электрической энергии формируют в электроизоляционной оболочке, по крайней мере, один проводящий канал из вещества в жидкой, твердой или газообразной фазе, в каждом проводящем канале генерируют электромагнитные колебания реактивного емкостного тока и электрического поля частотой 0,3 - 300 кГц, создают в канале пучности напряжения в 2 - 50 раз превышающие напряжение источника, преобразуют реактивный ток и энергию электрического поля канала в приемнике в активный ток и активную электрическую энергию и, при необходимости, в механическую энергию и теплоту.
2. Способ передачи электрической энергии по п.1, отличающийся тем, что проводящий канал формируют в виде транспортного трубопровода, по которому перемещают вещество в жидкой, твердой и газовой фазе и создают в транспортируемом веществе на входе и выходе из проводящего канала нулевой потенциал, а в веществе проводящего канала создают потенциал, равный или больше потенциала источника энергии.
3. Способ передачи электрической энергии по пп.1 и 2, отличающийся тем, что проводящий канал формируют из жидкости с ионной проводимостью, например, воды.
4. Способ передачи электрической энергии по пп.l и 2, отличающийся тем, что проводящий канал формируют в виде смеси кусков вещества в твердой фазе с жидкостью, имеющей ионную проводимость.
5. Способ передачи электрической энергии по пп.1 и 2, отличающийся тем, что проводящий канал формируют в виде влажной земли.
6. Способ передачи электрической энергии по пп.1 и 2, отличающийся тем, что проводящий канал формируют в газовой среде с повышенной концентрацией проводящих частиц аэрозолей, а и электронов и ионов, генерируемых в плазме высоковольтного разряда.
7. Способ передачи электрической энергии по пп.1 и 2, отличающийся тем, что проводящий канал формируют в виде проводящих окислов металлов, нанесенных на стеклянные, пластиковые или керамические волокна.
8. Способ передачи электрической энергии по пп.1 - 3, отличающийся тем, что в качестве проводящего канала используют электроизолированный ирригационный канал, а воду в канале используют для передачи электроэнергии на привод дождевальной машины для орошения.
9. Способ передачи электрической энергии по пп.1 - 3, отличающийся тем, что в качестве проводящего канала используют электроизолированную водопроводную сеть, по которой осуществляют водоснабжение и электроснабжение потребителей водой и электрической энергией.
10. Способ передачи электрической энергии по пп.1, 3, отличающийся тем, что проводящий канал формируют в воде путем отделения части водного пространства с помощью электроизолирующей оболочки.
11. Способ передачи электрической энергии по пп.1 и 5, отличающийся тем, что проводящий канал формируют в земле путем выделения части объема земли с помощью электроизолирующей оболочки.
12. Способ передачи электрической энергии по пп.1, 3, 8, отличающийся тем, что проводящий канал в воде соединяют с помощью троллея с высокочастотным трансформатором Тесла, установленным на водном транспортном средстве, для электроснабжения двигательной установки.
13. Способ передачи электрической энергии по пп.1, 5, 9, отличающийся тем, что проводящий канал в земле используют для электропривода наземного и подземного электротранспортного средства.
14. Способ передачи электрической энергии по п.1, отличающийся тем, что проводящий канал формируют в виде оптического световода с электропроводящей пленкой из окислов металла, углерода или металлических пленок на его поверхности и электрической изоляцией, передают по проводящему каналу информационные и управляющие сигналы в оптическом диапазоне и электрическую энергию, а устройства ввода-вывода и усиления сигналов устанавливают вдоль проводящего канала и соединяют электрически с проводящим каналом через понижающие высокочастотные трансформаторы Тесла.
15. Способ передачи электрической энергии по пп.1 и 12, отличающийся тем, что проводящий канал формируют в виде вертикальной неметаллической нити переменной длины с проводящим покрытием, соединяют проводящим каналом два трансформатора Тесла, один из которых установлен на летательном аппарате, а второй на Земле.
16. Способ передачи электрической энергии по пп.1, 13, отличающийся тем, что электроизоляционную оболочку проводящего канала формируют из окружающей среды с малой электронной и ионной проводимостью, например из воздуха или космического вакуума.
17. Устройство для передачи электрической энергии, содержащее источник и приемник электрической энергии, отличающееся тем, что устройство содержит, по крайней мере, один проводящий канал с оболочкой из электроизолированного материала, с внутренней или внешней стороны которого размещено проводящее вещество с ионной или электронной проводимостью, каждый источник электрической энергии соединен с проводящим каналом через высоковольтный высокочастотный трансформатор Тесла, а каждый приемник с противоположной стороны проводящего канала соединен с ним через понижающий высокочастотный трансформатор Тесла или диодно-конденсаторный блок.
18. Устройство для передачи электрической энергии по п.17, отличающееся тем, что устройство выполнено в виде энергетической разветвленной системы, состоящей из множества источников и приемников электрической энергии, соединенных между собой проводящими каналами, имеющими одинаковую частоту электрических колебаний в точках соединения, каждый проводящий канал соединен с источником электрической энергии с помощью высоковольтного высокочастотного трансформатора Тесла и с приемником через понижающий высокочастотный трансформатор Тесла или диодно-конденсаторный блок.
19. Устройство для передачи электрической энергии по п.17, отличающееся тем, что устройство содержит электрически изолированную сеть трубопроводов для транспортировки вещества в жидкой или газовой фазе, начальные и конечные части трубопроводов выполнены в виде витков многослойной высоковольтной обмотки повышающего и понижающего высокочастотного трансформатора Тесла, которые соединены с устройствами подачи и выгрузки транспортируемого вещества через наружные начальные трубчатые витки высоковольтных обмоток трансформаторов Тесла.
20. Устройство для передачи электрической энергии по п.17, отличающееся тем, что проводящий канал выполнен в виде электроизолированного ирригационного оросительного канала, в качестве транспортируемого вещества используется вода для орошения, а в качестве приемников энергии - стационарные электронасосные агрегаты и передвижные дождевальные машины, которые соединены погруженными в воду трубчатыми троллеями с ирригационным оросительным каналом.
21. Устройство для передачи электрической энергии по п.17, отличающееся тем, что
устройство содержит электрически изолированную систему разветвленных трубопроводов
для транспортировки вещества в жидкой, твердой или газовой фазе, которые соединены с
источниками и приемниками электрической энергии через высоковольтные
высокочастотные трансформаторы Тесла, а каждое устройство загрузки и выгрузки
транспортируемого вещества удалено от трансформатора Тесла на расстояние
n = 0, 1, 2 ...
где
- длина электромагнитной волны,
генерируемой источником энергии и высоковольтным высокочастотным трансформатором
Тесла;
А - длина высоковольтной обмотки высокочастотного трансформатора Тесла.
22. Устройство для передачи электрической энергии по п.17, отличающееся тем, что стационарный источник электрической энергии соединен через высоковольтный высокочастотный трансформатор Тесла с электроизолированным проводящим каналом, установленным вдоль траектории движения электротранспортного средства, электротранспортное средство содержит понижающий высокочастотный трансформатор Тесла, внутренний конец многослойной высоковольтной обмотки соединен с помощью троллея с проводящим каналом, наружный конец высоковольтной обмотки соединен с искусственной емкостью, а низковольтная обмотка соединена с системой электропривода и управления электротранспортного средства.
23. Устройство для передачи электрической энергии по пп.17 и 19, отличающееся тем, что проводящий канал выполнен в виде полос шириной 1 - 2 м электропроводящего покрытия, нанесенного в каждом ряду движения на электроизолирующее основание шириной 1 - 2 м дороги, по которой перемещаются электротранспортные средства, а троллей выполнен в виде гибкого проводящего покрытия под днищем электротранспортного средства.
24. Устройство для передачи электрической энергии по пп.17, 19, 20, отличающееся тем, что проводящий канал выполнен в виде открытого непрерывного лотка с водой, установленного на водной поверхности на плавающих поплавках, соединенных тросом, а троллей и понижающий высокочастотный трансформатор Тесла установлены на корабле.
25. Устройство для передачи электрической энергии по п.17, отличающееся тем, что проводящий канал выполнен в виде вертикальной неметаллической нити изменяющейся длины с проводящим покрытием, которая присоединена к двум высоковольтным высокочастотным трансформаторам Тесла, один из которых установлен на летательном аппарате, а второй на Земле или на другом летательном аппарате.
Версия для печати
Дата публикации 17.02.2007гг
Created/Updated: 25.05.2018
|









