| Начало раздела Производственные, любительские Радиолюбительские Авиамодельные, ракетомодельные Полезные, занимательные | Хитрости мастеру Электроника Физика Технологии Изобретения | Тайны космоса Тайны Земли Тайны Океана Хитрости Карта раздела | |
| Использование материалов сайта разрешается при условии ссылки (для сайтов - гиперссылки) | |||
Навигация: => | На главную/ Каталог патентов/ В раздел каталога/ Назад / |
|
ИЗОБРЕТЕНИЕ
Патент Российской Федерации RU2059090
![]()
ЭНЕРГЕТИЧЕСКАЯ УСТАНОВКА
Имя изобретателя: Нестеров Г.И.; Тихомиров А.Г.; Климентьева Г.В.; Тихомиров А.А.
Имя патентообладателя: Специализированное проектно-конструкторское и технологическое бюро Территориального производственного специализированного объединения
Адрес для переписки:
Дата начала действия патента: 1992.05.28
Использование: в энергетике, в частности в области альтернативных источников энергии. Сущность изобретения: энергетическая установка содержит турбогенератор 1, светогидравлическую турбину 2, электрогазодинамическую турбину 3, емкости 4,5 и 6 высокого давления с газообразной средой, емкость 8 с жидкостью, регулятор 7 состава смеси водород - воздух, регулятор 9 подачи жидкости (воды), генератор 10 высоковольтных искровых электроимпульсов с распределителем 11 электроимпульсов, станцию 12 управления и систему трубопроводов с приводными вентилями. Турбогенератор 1 состоит из статора и ротора, приводимого во вращение от генератора высоковольтных искровых электроимпульсов с помощью электроразрядников. Турбогенератор заполнен газовой средой, являющейся активной средой газовых квантовых генераторов. В светогидравлической турбине 2, заполненной жидкостью, установлен приводной барабан с расположеными на нем тангенциальными турбинными лопатками. Барабан приводится во вращение гидравлическими ударными импульсами, возникающими в жидкости при поглощении ею луча квантового генератора, размещенного в роторе турбогенератора. В электрогазодинамической турбине 3, заполненной газом под высоким давлением, размещены приводной барабан с тангенциальными турбинными лопатками, кольцевые и коаксиальные электроразрядники. При искровых высоковольтных разрядах возникают ударные волны, приводящие барабан во вращение.
ОПИСАНИЕ ИЗОБРЕТЕНИЯ
Изобретение относится к альтернативным источникам энергии, в частности к энергетическим установкам, и может найти применение в энергоснабжении отраслей промышленности народного хозяйства.
Известна энергетическая установка, содержащая силовую турбину, соединенную с турбогенератором, электроразрядники, подключенные к источнику импульсного электропитания, и магистрали водорода и окислителя.
Недостатками этой энергетической установки являются узкий диапазон регулирования мощности и относительно низкий КПД. Кроме того, установка опасна в эксплуатации.
Технический результат изобретения расширение диапазона регулирования мощности, повышение КПД и безопасности установки.
Для достижения технического результата энергетическая установка, содержащая силовую турбину, соединенную с турбогенератором, электроразрядники, подключенные к источнику импульсного электропитания, и магистрали водорода и окислителя, снабжена инерционным аккумулятором энергии и светогидравлической турбиной, корпус которой герметично соединен с корпусом турбогенератора, при этом светогидравлическая турбина содержит приводной барабан, закрепленный на двух трубчатых полуосях, одна из которых соединена с силовой турбиной, а другая с ротором турбогенератора, причем в стенке приводного барабана выполнены радиальные сквозные отверстия, а на поверхности барабана закреплены тангенциальные турбинные лопатки, каждая из которых расположена напротив соответствующего радиального отверстия, при этом ротор турбогенератора содержит вспомогательный корпус, выполненный с возможностью вращения и соединенный с трубчатой полуосью светогидравлической турбины, а на наружной поверхности вспомогательного корпуса установлены магнитные полюса с обмоткой возбуждения и контактные кольца, подключенные к обмотке возбуждения, причем во вспомогательном корпусе размещен корпус с трубчатыми опорами, заполненный газовой средой, внутри которого установлен квантовый генератор, размещенный в трубке, выполненной из прозрачного материала, при этом в корпусе установлены кольцевые электроразрядники, охватывающие трубку, а в трубчатой полуоси соосно квантовому генератору установлено защитное прозрачное стекло, причем светогидравлическая турбина заполнена жидкостью.
Для достижения технического результата светогидравлическая турбина может быть снабжена сосудом высокого давления, охватывающим ее корпус и сообщенным с турбиной через клапаны с тарированными силовыми элементами.
Силовая турбина может быть выполнена в виде электрогазодинамической турбины и содержать приводной барабан с трубчатыми полуосями, размещенный в корпусе и электрически с ним соединенный, при этом в стенке приводного барабана могут быть выполнены радиальные сквозные отверстия, а напротив каждого отверстия на приводном барабане тангенциально установлены турбинные лопатки, причем в полости приводного барабана размещены кольцевые электроразрядники, а в корпусе напротив каждой турбинной лопатки установлены коаксиальные электроразрядники, при этом силовая турбина заполнена газовой средой.
Силовая турбина может быть снабжена сосудом высокого давления, охватывающим ее корпус, при этом в корпусе целесообразно выполнить тормозные каналы, соединенные через емкости с магистралями водорода, окислителя и активной среды газовых квантовых генераторов.
В трубчатой полуоси приводного барабана светогидравлической турбины может быть установлен обратный клапан с тарированным силовым элементом, обеспечивающим сообщение полости приводного барабана электрогазодинамической турбины с полостью приводного барабана светогидравлической турбины. Инерционный аккумулятор энергии целесообразно разместить в корпусе турбогенератора и соединить с трубчатой полуосью светогидравлической турбины. Источник импульсного электропитания может быть выполнен в виде генератора высоковольтных искровых электроимпульсов, электрически соединенного со статором турбогенератора и через распределитель высоковольтных искровых электроимпульсов с кольцевыми электроразрядниками ротора турбогенератора, с кольцевыми электроразрядниками электрогазодинамической турбины и коаксиальными электроразрядниками электрогазодинамической турбины.
На трубчатой опоре корпуса ротора турбогенератора и на трубчатой полуоси электрогазодинамической турбины могут быть установлены на изоляторах контактные проводящие элементы, электрически соединенные с источником импульсного электропитания.
В качестве газовой среды, заполняющей корпус ротора турбогенератора, целесообразно использовать активную среду газовых квантовых генераторов.
В качестве газовой среды в электрогазодинамической турбине возможно использование активной среды газовых квантовых генераторов с примесью водорода (0,2-5,0)% от общего объема газа и сухого очищенного воздуха (0,4-10,0)% от общего объема газа.

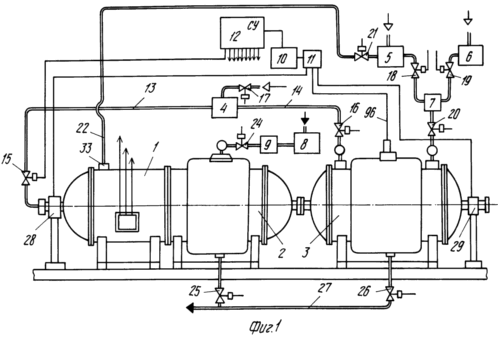
Фиг.1 изображена блок-схема энергетической установки

Фиг.2 то же, вид сверху

Фиг.3 разрез А-А на фиг.2

Фиг.4 разрез Б-Б на фиг.2
![]() | ![]() |
Фиг.5 сечение В-В на фиг.3, на фиг.6 сечение Г-Г фиг.3

Фиг.7 сечение Д-Д на фиг.4
![]() | ![]() |
Фиг.8 и 9 электрическая схема управления
Энергетическая установка (фиг.1) содержит турбогенератор 1, светогидравлическую турбину 2, электрогазодинамическую турбину 3, вспомогательное оборудование, источник импульсного электропитания и регулирующую аппаратуру, включающие емкость 4 высокого давления, заполненную, например, инертным газом аргоном с присадкой паров химических элементов, емкость 5 высокого давления с газообразным водородом, емкость 6 высокого давления с очищенным сухим воздухом, регулятор 7 соотношения водород-воздух, емкость 8, заполненную водой, очищенной от примесей, регулятор 9 подачи воды в светогидравлическую турбину 2, генератор 10 высоковольтных искровых электроимпульсов с распределителем 11 высоковольтных искровых электроимпульсов, станцию 12 управления, систему технологических трубопроводов и приводных вентилей 13-22, сообщающих емкости 4, 5 и 6 высокого давления с турбогенератором 1, с электрогазодинамической турбиной 3, с сосудом 23 среднего давления турбогенератора 1 и со средствами производства и очистки газов, систему технологических трубопроводов и приводных вентилей 24-27, сообщающих емкость 8 со светогидравлической турбиной 2 и средствами очистки воды для повторного использования (не показаны), электрические связи станции 12 управления с генератором 10 высоковольтных искровых электроимпульсов, с распределителем 11 высоковольтных искровых электроимпульсов и приводными вентилями, при этом распределитель 11 высоковольтных искровых электроимпульсов электрически подключен через электрические коллекторы 28 и 29 к кольцевым электроразрядникам 30 и 31 турбогенератора 1 и электрогазодинамической турбины 3 и напрямую к коаксиальным электроразрядникам 32 электрогазодинамической турбины 3.
Турбогенератор 1 представляет собой электрическую машину, размещенную в сосуде (корпусе) 23 среднего давления, заполняемом газообразным водородом через штуцер 33, при этом система отвода нагретого водорода условно не показана. Контроль давления водорода осуществляется манометром (не показан). Электрическая машина состоит из известного статора 34 и ротора 35, включающего корпус 36 с трубчатыми опорами 37, одна из которых жестко закреплена в сосуде 23 среднего давления, а другая установлена в трубчатом патрубке (полуоси) 38 вспомогательного корпуса 39, разрядной камеры 40, кольцевых электроразрядников 30, магнитных полюсов 41 с обмоткой 42 возбуждения, причем последние установлены на наружной поверхности вспомогательного корпуса 39. Во внутренней стенке корпуса 36 выполнены продольные сквозные направляющие окна 43 под углом к радиальным плоскостям, а на внутренней стенке вспомогательного корпуса 39 выполнены профилированные выступы 44 и впадины 45, при этом вспомогательный корпус 39 выполнен с возможностью вращения относительно корпуса 36 (фиг.1, 2, 3 и 5).
В разрядной камере 40 корпуса 36 смонтирован известный квантовый генератор 46. Квантовый генератор 46 состоит, например, из импульсной лампы накачки, выполненной в виде кольцевого электроразрядника 30 и трубки 47, изготовленной из высокопрочного прозрачного материала и закрепленной в трубчатых опорах 37 корпуса 36, активного вещества стекла 48, в качестве активатора которого использован неодим Nd3+, оптического резонатора, включающего призму полного внутреннего отражения (ПОВ) 49 и стопу плоскопараллельных кварцевых пластин 50 с коэффициентом отражения оптического резонатора для ПОВ r 1, а для плоскопараллельных пластин r 0,5, при этом все элементы твердотельного квантового генератора размещены в трубке 47 с теплоотводом 51, выполненным в виде пластин, например, из красной меди, и теплоотводящего болта 52 из аналогичного материала.
В стенах левой трубчатой опоры 37 и корпуса 36 выполнены каналы (условно не показаны) для подвода под давлением нейтрального газа, например аргона, с парами металла и электрической энергии высоковольтных искровых электроимпульсов от электрического коллектора 28 к кольцевому электроразряднику 30. Электрический коллектор 28 представляет собой известную конструкцию, состоящую из изолятора, охватывающего трубчатую опору 37, и контактного проводящего элемента (фиг. 1-3). Между трубчатыми полуосями 38 вспомогательного корпуса 39 и трубчатыми опорами 37 корпуса 36 установлены уплотнительные элементы 53 известной конструкции. На левой трубчатой полуоси 38 вспомогательного корпуса 39 на электроизолирующем кольце установлены контактные кольца 55 для подключения обмотки 42 возбуждения. В сосуде 23 среднего давления смонтирован инерционный аккумулятор 56 энергии, предназначенный для обеспечения запаса энергии и плавного вращения осей турбин.
Светогидравлическая турбина 2 представляет собой установленный в корпусе 57 высокого давления приводной барабан 58 с трубчатыми полуосями 59. Левая трубчатая полуось 59 является несущей опорой инерционного аккумулятора 56 энергии и соединена с трубчатым патрубком (полуосью) 38 вспомогательного корпуса 39 турбогенератора 1. Корпус 57 известными средствами герметично присоединен к сосуду (корпусу) 23 среднего давления турбогенератора 1. Трубчатые полуоси 59 установлены в сферической стенке 60 и в крышке 61, в ступицах которых смонтированы уплотнительные элементы 62 известной конструкции, предотвращающие попадание жидкости из корпуса 57 в сосуд (корпус) 23 среднего давления турбогенератора 1 и в атмосферу. Приводной барабан 58 снабжен тангенциально расположенными на его цилиндрической поверхности турбинными лопатками 63, напротив каждой из них в стенке приводного барабана 58 выполнены радиальные сквозные отверстия 64, сообщающие полость 65 расположения турбинных лопаток 63 с полостью 66 приводного барабана, причем полости 65 и 66 заполнены жидкостью, например очищенной от примесей и газов водой. Турбинные лопатки 63 профилированы, вогнутость лопаток обращена к радиальным сквозным отверстиям 64 приводного барабана, и размещены по винтовой линии (на фиг.3 турбинные лопатки показаны схематично). Между торцами турбинных лопаток 63 и корпусом 57 выполнены технологические зазоры (не показаны). Плоскость 66 приводного барабана 58 выполнена в виде камеры поглощения жидкостью светового луча квантового генератора 46.
Напротив выхода светового луча квантового генератора 46 в трубчатой полуоси 59 приводного барабана 58 установлено защитное высокопрочное прозрачное стекло 67 в металлической оправе 68, причем коэффициент отражения стекла 67 минимальный, не влияющий на работу оптического резонатора квантового генератора 46. В провой трубчатой полуоси 59 приводного барабана 58 вмонтирован обратный клапан 69 с тарированным силовым элементом, обеспечивающим сообщение электрогазодинамической турбины 3 с полостью 66 приводного барабана 58 светогидравлической турбины 2.
Светогидравлическая турбина 2 снабжена сосудом 70 высокого давления, охватывающим ее корпус 57 и сообщенным с турбиной через клапаны 71 и 72 с тарированными силовыми элементами. Напротив каждого клапана в корпусе 57 выполнены радиальные отверстия 73 и 74. Клапаны 71 и 72 и радиально расположенные отверстия 73 и 74 размещены через определенные интервалы по длине окружности корпуса 57. Сосуд 70 высокого давления герметично присоединен к корпусу 57. В верхней части сосуда 70 высокого давления выполнен тормозной канал 75, сообщенный через емкость 76 с приводным вентилем 24 подачи воды в турбину. Верхняя часть сосуда 70 высокого давления не заполнена жидкостью, причем ее объем соответствует объему вытесняемой жидкости при работе светогидравлической турбины 2. В другой модификации вместо сосуда 70 высокого давления может быть использован поршневой пневмогидравлический аккумулятор, расположенный выше корпуса 57 турбины, при этом жидкость подается непосредственно в турбину (пневматический аккумулятор условно не показан).
Электрогазодинамическая турбина 3 является силовой турбиной энергетической установки и представляет собой установленный в корпусе 77 высокого давления и электрически связанный с ним приводной барабан 78 с трубчатыми полуосями 79 и 80. Трубчатая полуось 79 приводного барабана 78 известными средствами соединена с трубчатой полуосью 59 приводного барабана 58 светогидравлической турбины 2, причем соединение выполнено герметичным. Трубчатая полуось 80 заглушена герметичной заглушкой 81. К трубчатой полуоси 80 может быть присоединен дополнительный турбогенератор известной конструкции (дополнительный турбогенератор условно не показан). Трубчатые полуоси 79 и 80 установлены в сферических крышках 82 и 83, в ступицах которых смонтированы уплотнительные элементы 84 и 85, исключающие протечки газовой среды в атмосферу. Приводной барабан 78 снабжен тангенциально расположенными на его цилиндрической поверхности турбинными лопатками 86, конструкция которых аналогична турбинным лопаткам светогидравлической турбины 2. Напротив каждой турбинной лопатки в стенке приводного барабана выполнены радиальные сквозные отверстия 87, сообщающие полость 88 расположения турбинных лопаток 86 с полостью 89 приводного барабана 78. Полость 89 приводного барабана 78 выполнена в виде разрядной камеры, вдоль продольной оси которой установлены кольцевые электроразрядники 31, подключенные к электрическому коллектору 29, конструкция которого аналогична электрическому коллектору 28. Электрический коллектор 29 смонтирован на трубчатой полуоси 80.
Кроме того, в корпусе 77 напротив каждой турбинной лопатки 86 установлены коаксиальные электроразрядники 32, при этом коаксиальные электроразрядники 32 электрически связаны с распределителем 11 высоковольтных искровых электроимпульсов. Коаксиальные электроразрядники 32 предназначены для увеличения частоты вращения приводного барабана 78.
Полости 88 и 89 электрогазодинамической турбины 3 заполнены газовой средой. В качестве газовой среды в электрогазодинамической турбине 3 использована активная среда газовых квантовых генераторов, например газов аргон, криптон, неон с присадкой паров различных химических элементов для увеличения проводимости среды с примесью водорода (0,2-5,0)% от общего объема газа и сухого очищенного воздуха (0,4-10,0)% от общего объема газа. Данные соотношения поддерживаются импульсным регулятором 7 соотношения водород-воздух (фиг.1). Выбранные соотношения подачи примеси водорода и очищенного сухого воздуха в электрогазодинамическую турбину 3 исключают взрыв гремучего газа при высоковольтных искровых разрядах. Для обеспечения безопасности работы электрогазодинамической турбины 3 в светогидравлической турбине 2 предусмотрен обратный клапан 69, снижающий процентное соотношение примеси водород-воздух в электрогазодинамической турбине 3, вследствие чего повышается безопасность в указанной турбине.
Нижние предельные значения подачи примеси водорода и сухого очищенного воздуха используются при минимальных нагрузках турбогенератора 1, а верхние предельные значения при максимальных (пиковых) его нагрузках.
Для подачи в электрогазодинамическую турбину 3 указанных газов в утолщенной части 90 стенки корпуса 77 высокого давления выполнены тормозные каналы 91 и 92, сообщенные через емкости 93 и 94 с приводными вентилями 16 и 20 (фиг. 1, 2, 4 и 7). Приводные вентили 16 и 20 соответственно связаны с магистралями активной среды газовых квантовых генераторов, водорода и окислителя.
Для усиления конструкции электрогазодинамической турбины 3 на ее корпус 77 герметично устанавливается сосуд 95 высокого давления, в полости которого закрепляются коаксиальные электроразрядники 32. К сосуду 95 подводится высоковольтный кабель 96.
Энергетическая установка устанавливается в помещениях с соблюдением требований техники безопасности для сосудов высокого или сверхвысокого давления с использованием высоковольтных установок, при этом емкости 4, 5 и 6 высокого давления устанавливаются в отдельных контролируемых и вентилируемых помещениях, технологические трубопроводы и приводные вентили с высокой степенью герметизации, исключающие протечки газов, а регуляторы 7 и 9 закрытого типа, удовлетворяющие требованиям указанных помещений.
Генератор 10 высоковольтных искровых электроимпульсов (фиг.8) является источником импульсного электропитания установки и состоит из высоковольтного трансформатора 97, в первичной цепи которого включен резистор R, а вторичная цепь включает две обмотки, одна из которых обеспечивает высоковольтное напряжение в пределах 10-20 кВ, а другая обмотка в пределах 50-100 кВ, выпрямителей 98 и 99, искровых разрядников 100 и 101 и разрядных конденсаторов 102 и 103. Искровые разрядники 100 и 101 с формирующими промежутками выполнены управляемыми посредством пускового блока 104 и блока 105 запаздывания, подключенных к станции 12 управления, причем блок 105 запаздывания связан с искровым разрядником 100 посредством, например, катушки 106 индуктивности. Каждый искровой разрядник 100 и 101 выполнен в виде двух основных электродов, один из которых может перемещаться для регулирования формирующего промежутка и пускового электрода, расположенного между основными электродами разрядника. Пусковые электроды предназначены для образования искровых разрядов в формирующих промежутках по управляющим импульсам пускового блока 104 и блока 105 запаздывания.
Генератор высоковольтных искровых электроимпульсов электрически соединен с распределителем 11 высоковольтных искровых электроимпульсов, включающим две секции с индивидуальными приводами, при этом секция 107 с электродвигателем 108 постоянного тока распределяет искровые электроимпульсы между электроразрядниками 30 и 31 турбогенератора 1 и электрогазодинамической турбины 3, а секция 109 с электродвигателем 110 постоянного тока между коаксиальными электроразрядниками 32 электрогазодинамической турбины 3. Электродвигатели 108 и 110 подключены к станции 12 управления.
В энергетической установке предусмотрены средства ее запуска, состоящие из обратимого электромашинного преобразователя 111, подключенного через нормально открытый контакт силового контактора Км к блоку 112 станции 12 управления, трехфазного выпрямителя 113, подключенного к фазам статора 34 турбогенератора 1, и блока 114 аккумуляторных батарей. Обратимый электромашинный преобразователь 111 механически соединен либо с валом дополнительного турбогенератора (не показан), либо с трубчатой полуосью 80 электрогазодинамической турбины 3. Блок 112 станции 12 управления подключен через контактные кольца 55 к обмотке 42 возбуждения турбогенератора 1 (фиг.3, 8, 9).
Следует отметить, что все полуоси и валы агрегатов энергетической установки имеют правое вращение (по часовой стрелке), смотря по направлению от обратимого электромашинного преобразователя к турбогенератору 1.
ЭНЕРГЕТИЧЕСКАЯ УСТАНОВКА РАБОТАЕТ СЛЕДУЮЩИМ ОБРАЗОМ
В исходном состоянии все агрегаты бездействуют и отключены от источника электропитания. Емкости 4, 5 и 6 высокого давления соответственно заполнены активной средой газовых квантовых генераторов, например аргоном с присадкой паров химических элементов, водородом и сухим очищенным воздухом, емкость 8 заполнена водой, блок 114 аккумуляторных батарей подзаряжен до номинального значения.
По управляющим сигналам из станции 12 управления открывается приводной вентиль 21 емкости 5 высокого давления и по трубопроводу 2 газообразный водород подается в сосуд 23 среднего давления турбогенератора 1, подача которого контролируется по манометру, затем открываются приводные вентили 15 и 16 и из емкости 4 высокого давления по трубопроводам 13 и 14 подается активная среда аргон в ротор 35 турбогенератора 1 и в электрогазодинамическую турбину 3, контроль подачи которой осуществляется по растущему давлению в полости 88 электрогазодинамической турбины 3 и в разрядной камере 40 ротора 35 турбогенератора 1. После этого открывается вентиль 24 и открывается регулятор 9 подачи воды в светогидравлическую турбину 2. Регулятор 9 отключает приводной вентиль 24 после заполнения турбины 2 до заданного уровня, при этом клапаны 71 закрываются под действием гидравлического давления.
В соответствии с алгоритмом управления открываются приводные вентили 18 и 19 для подачи газообразного водорода и сухого очищенного воздуха в регулятор 7 соотношения водород-воздух, при этом последний в соответствии с уставкой задатчика соотношения водорода и сухого очищенного воздуха нагнетает заданный объем смеси газов в электрогазодинамическую турбину 3, предварительно по его управляющим сигналам открывается приводной вентиль 20, а после завершения нагнетания смеси газов вентиль закрывается.
После осуществления вспомогательных и основных операций по управляющим сигналам из станции 12 управления через блок 112 станции управления включают обратимый электромашинный преобразователь 111, для чего подают электропитание на силовой контактор Км. После срабатывания силового контактора Км и подключения блока 114 аккумуляторных батарей к обратимому электромашинному преобразователю 111 вал последнего получает вращательное движение. Под воздействием вращающего момента обратимого электромашинного преобразователя 111 приводные барабаны 58 и 78 соответственно светогидравлической турбины 2 и электрогазодинамической турбины 3 и ротор 35 турбогенератора 1 приобретают некоторую угловую скорость вращения, при этом инерционный аккумулятор 56 энергии запасает механическую энергию вращения вала обратимого электромашинного преобразователя 111. После раскрутки указанных агрегатов энергетической установки обратимый электромашинный преобразователь 111 отключается от блока 114 аккумуляторных батарей.
Постоянный ток для возбуждения ротора 35 возникает с помощью выпрямителя 113, подключенного к обмотке статора 34 (фиг.9). В первый момент слабое поле остаточного магнетизма вращающего ротора 35 индуцирует в обмотке статора 34 незначительную переменную ЭДС. Выпрямитель 113 дает постоянный ток, который через блок 112 станции 12 управления усиливает поле ротора 35 и напряжение в статоре 34 турбогенератора 1 увеличивается. Напряжение от статора 34 подается к генератору 10 высоковольтных искровых электроимпульсов. Одновременно постоянный ток подводится через блок 112 станции 12 управления к электродвигателям 108 и 110 постоянного тока распределителя 11 высоковольтных искровых электроимпульсов, переменное напряжение к высоковольтному трансформатору 97 генератора 10 высоковольтных искровых электроимпульсов, на вторичных обмотках которого возникает высоковольтное переменное напряжение. Переменное напряжение выпрямляется выпрямителями 98 и 99 в постоянный ток высокого напряжения, заряжающий разрядные конденсаторы 102 и 103. Вследствие этого электродвигатели 108 и 110 постоянного тока приводятся во вращение, при этом они через кинематические связи приводят во вращение секции 107 и 109 распределителя 11 высоковольтных искровых электроимпульсов.
По управляющим сигналам станции 12 управления включается пусковой блок 104, который формирует управляющие импульсы для поджога искрового разрядника 100 с формирующим промежутком. При поджоге искрового разрядника 100 между основными электродами возникают искровые разряды. При этом разрядный конденсатор 102, создающий электроимпульсы высокого напряжения, разряжается. Разрядные токи конденсатора 102 текут через секцию 107 распределителя 11, контактные проводящие элементы электрических коллекторов 28 и 29 к кольцевым электроразрядникам 30 и 31 соответственно ротора 35 турбогенератора 1 и электрогазодинамической турбины 3 с заданной частотой повторения электроимпульсов. Между электродами кольцевых электроразрядников 30 и 31 в разрядных камерах 40 и 89 происходит пробой межэлектродных промежутков, при этом в газовой среде возникают кольцевые искровые разряды.
При высоковольтном разряде в кольцевом электроразряднике 30 возникают светящиеся стриммеры и давление, воздействующее на стенки разрядной камеры 40.
Свет, возникающий при высоковольтном разряде, воздействует через прозрачную трубку 47 на активное вещество 48 квантового генератора 46. Под действием светового импульса атомы активатора неодима Nd3+ возбуждаются и начинают излучать. Рожденный ими луч усиливается в резонаторе. Затем он проходит через стопу плоскопараллельных кварцевых пластин 50, прозрачное стекло 67 и попадает в полость 66 приводного барабана 58, выполненную в виде камеры поглощения жидкостью светового луча квантового генератора 46. Энергия (мощность) светового луча в моноимпульсном режиме велика и составляет 5000 Дж (5 х 1010) Вт). В камере 66 под воздействием светового луча возникает гидравлический ударный импульс (светогидравлический эффект).
Под действием гидравлического ударного импульса вода из приводного барабана 58 резко выбрасывается через радиальные сквозные отверстия 64 в направлении турбинных лопаток 63, так как последние расположены напротив радиальных сквозных отверстий 64. Струи воды, образовавшиеся в радиальных сквозных отверстиях 64, воздействуют на турбинные лопатки 63, вследствие чего приводной барабан 58 приобретает угловую скорость вращения. В полости 65 расположения турбинных лопаток 63 резко возрастает давление, под действием которого открываются клапаны 72 и вода перетекает из полости 65 расположения турбинных лопаток 63 в сосуд 70 высокого давления, а после поглощения кинетической энергии струй воды избыточная вода вновь протекает через верхние клапаны 71 сосуда 70 высокого давления в полость 66 приводного барабана 58.
Кроме того, световой луч квантового генератора имеет высокую температуру, под действием которой вода мгновенно испаряется. Образовавшаяся парогазовая смесь, расширяясь, усиливает действие гидравлического ударного импульса.
Давление газовой среды, возникшее при высоковольтном искровом разряде в кольцевом электроразряднике 30, через продольные сквозные направляющие окна 43, выполненные в корпусе 36, воздействует на профилированные впадины 45 и выступы 44 вспомогательного корпуса 39 ротора 35, вследствие чего ротор 35 турбогенератора 1 приобретает дополнительную угловую скорость вращения. Благодаря указанным воздействиям увеличивается частота вращения ротора 35 турбогенератора 1 и указанных турбин 2 и 3.
В кольцевом электроразряднике 31 возникают светящиеся стриммеры (каналы сильно ионизированного газа). Газы в стриммерах нагреваются до высоких температур, что приводит к окислению водорода кислородом из очищенного сухого воздуха, вследствие этого резко увеличивается давление газовой среды в разрядной камере 89, воздействующей через радиальные сквозные отверстия 87 на турбинные лопатки 86. Приводной барабан 78 с турбинными лопатками 86 приобретает дополнительное приращение скорости вращения, причем чем выше интенсивность высоковольтных искровых электроимпульсов в газовой среде, тем выше давление газовой среды в разрядной камере, вследствие чего увеличивается как скорость вращения ротора 35 турбогенератора 1, так и скорость вращения приводных барабанов 58 и 78 указанных турбин 2 и 3.
Под воздействием давления газовой среды в разрядной камере 89 открывается обратный клапан 69 с тарированным силовым элементом в светогидравлической турбине 2, при этом часть газовой среды перетекает из электрогазодинамической турбины 3 в полость 66 приводного барабана 58 светогидравлической турбины 2. Перетекание газовой среды тем меньше, чем на большее усилие рассчитан тарированный силовой элемент обратного клапана 69.
После заданной выдержки времени блок 105 запаздывания сигнала подает управляющий импульс в искровой разрядник 101. При поджоге искрового разрядника 101 между основными электродами возникают искровые разряды. Разрядные токи высокого напряжения текут через секцию 109 распределителя 11 высоковольтных искровых электроимпульсов к коаксиальным электроразрядникам 32 электрогазодинамической турбины 3. В каждом коаксиальном электроразряднике 32 возникают мощные стриммеры, направленные от положительного электрода к отрицательному электроду, вследствие этого в полости 88 расположения турбинных лопаток 86 возникают мощные ударные волны, ускоряющие линейную скорость турбинных лопаток 86 относительно полуосей 79 и 80.
Под воздействием ударных волн газовая среда проникает через радиальные сквозные отверстия 87 в полость 89 приводного барабана 78, так как после искровых разрядов между кольцевыми электроразрядниками 31 в полости 89 возникает разрежение газовой среды, вследствие этого в полости 89 и в полости полуоси 79 нарастает давление газовой среды, воздействующей на обратный клапан 69, последний открывается и пропускает часть газовой среды из электрогазодинамической турбины 3 в светогидравлическую турбину 2, причем в данный момент избыточное давление воды в полости 66 приводного барабана 58 светогидравлической турбины 2 падает.
Описанный процесс осуществляется циклически.
Регулирование частоты вращения ротора 35 турбогенератора 1 осуществляется за счет интенсивности высоковольтных искровых электроимпульсов, частоты повторения высоковольтных искровых электроимпульсов, частоты подач и расхода водорода и сухого очищенного воздуха, подаваемых в электрогазодинамическую турбину 3.
Благодаря описанным приемам турбогенератор 1 выводится на номинальную мощность генерируемой электроэнергии при номинальных оборотах трубчатых полуосей указанных турбин 2 и 3, при этом обратимый электромашинный преобразователь 111 после запуска энергетической установки используется для нужд описанной установки.
Таким образом, предложенная совокупность существенных признаков изобретения обеспечивает достижение технического результата.
Технико-экономическая эффективность энергетической установки заключается в том, что мощность генерируемой электроэнергии для потребителей не связана с экологическими проблемами окружающей среды в связи с использованием в установке водорода, очищенного сухого воздуха и инертных газов, производимых по месту расположения установки.
Энергетическая установка безопасна в эксплуатации.
ФОРМУЛА ИЗОБРЕТЕНИЯ
1. ЭНЕРГЕТИЧЕСКАЯ УСТАНОВКА, содержащая силовую турбину, соединенную с турбогенератором, электроразрядники, подключенные к источнику импульсного электропитания, и магистрали водорода и окислителя, отличающаяся тем, что она снабжена инерционным аккумулятором энергии и светогидравлической турбиной, корпус которой герметично соединен с корпусом турбогенератора, при этом светогидравлическая турбина содержит приводной барабан, закрепленный на двух трубчатых полуосях, одна из которых соединена с силовой турбиной, а другая с ротором турбогенератора, причем в стенке приводного барабана выполнены радиальные сквозные отверстия, а на поверхности барабана закреплены тангенциальные турбинные лопатки, каждая из которых расположена напротив соответствующего радиального отверстия, при этом ротор турбогенератора содержит вспомогательный корпус, выполненный с возможностью вращения и соединенный с трубчатой полуосью светогидравлической турбины, а на наружной поверхности вспомогательного корпуса установлены магнитные полюса с обмоткой возбуждения и контактные кольца, подключенные к обмотке возбуждения, причем во вспомогательном корпусе размещен корпус с трубчатыми опорами, заполненный газовой средой, внутри которого установлен квантовый генератор, размещенный в трубке, выполненной из прозрачного материала, при этом в корпусе установлены кольцевые электроразрядники, охватывающие трубку, а в трубчатой полуоси соосно с квантовым генератором установлено защитное прозрачное стекло, причем светогидравлическая турбина заполнена жидкостью.
2. Установка по п. 1, отличающаяся тем, что светогидравлическая турбина снабжена сосудом высокого давления, охватывающим ее корпус и сообщенным с турбиной через клапаны с тарированными силовыми элементами.
3. Установка по п. 1, отличающаяся тем, что силовая турбина выполнена в виде электрогазодинамической турбины и содержит приводной барабан с трубчатыми полуосями, размещенный в корпусе и электрически с ним соединенный, при этом в стенке приводного барабана выполнены радиальные сквозные отверстия, а напротив каждого отверстия на приводном барабане тангенциально установлены турбинные лопатки, причем в полости приводного барабана размещены кольцевые электроразрядники, а в корпусе напротив каждой турбинной лопатки установлены коаксиальные электроразрядники, при этом силовая турбина заполнена газовой средой.
4. Установка по пп. 1 и 3, отличающаяся тем, что силовая турбина снабжена сосудом высокого давления, охватывающим ее корпус, при этом в корпусе выполнены тормозные каналы, соединенные через емкости с магистралями водорода, окислителя и активной среды газовых квантовых генераторов.
5. Установка по п. 3, отличающаяся тем, что в трубчатой полуоси приводного барабана светогидравлической турбины установлен обратный клапан с тарированным силовым элементом, обеспечивающим сообщение полости приводного барабана электрогазодинамической турбины с полостью приводного барабана светогидравлической турбины.
6. Установка по п. 1, отличающаяся тем, что инерционный аккумулятор энергии размещен в корпусе турбогенератора и соединен с трубчатой полуосью светогидравлической турбины.
7. Установка по пп. 1 и 3, отличающаяся тем, что источник импульсного электропитания выполнен в виде генератора высоковольтных искровых электроимпульсов, электрически соединенного со статором турбогенератора и через распределитель высоковольтных искровых электроимпульсов с кольцевыми электроразрядниками ротора турбогенератора, с кольцевыми электроразрядниками электрогазодинамической турбины и коаксиальными электроразрядниками электрогазодинамической турбины.
8. Установка по пп. 1, 3 и 7, отличающаяся тем, что на трубчатой опоре корпуса ротора турбогенератора и на трубчатой полуоси электрогазодинамической турбины установлены на изоляторах контактные проводящие элементы, электрически соединенные с источником импульсного электропитания.
9. Установка по п. 1, отличающаяся тем, что в качестве газовой среды, заполняющей корпус ротора турбогенератора, использована активная среда газовых квантовых генераторов.
10. Установка по пп. 1 и 3, отличающаяся тем, что в качестве газовой среды в электрогазодинамической турбине использована активная среда газовых квантовых генераторов с примесью водорода 0,2 5,0% от общего объема газа и сухого очищенного воздуха 0,4 10,0 от общего объема газа.
Версия для печати
Дата публикации 07.01.2007гг
Created/Updated: 25.05.2018
|




