| Начало раздела Производственные, любительские Радиолюбительские Авиамодельные, ракетомодельные Полезные, занимательные | Хитрости мастеру Электроника Физика Технологии Изобретения | Тайны космоса Тайны Земли Тайны Океана Хитрости Карта раздела | |
| Использование материалов сайта разрешается при условии ссылки (для сайтов - гиперссылки) | |||
Навигация: => | На главную/ Каталог патентов/ В раздел каталога/ Назад / |
|
ИЗОБРЕТЕНИЕ
Патент Российской Федерации RU2284630
![]()
ЭЛЕКТРИЧЕСКИЙ ГЕНЕРАТОР С НЕОГРАНИЧЕННЫМ РАБОЧИМ РЕСУРСОМ
Имя изобретателя: Пулатов Анатолий Болтаевич (RU)
Имя патентообладателя: Пулатов Анатолий Болтаевич (RU)
Адрес для переписки: 141200, Московская обл., г. Пушкино, мкр. Серебрянка, 24, кв.23, А.Б. Пулатову
Дата начала действия патента: 2004.12.07
Изобретение относится к области электротехники. Электрогенератор включает генерирующий блок со снабженным катушкой рабочим каналом, с генерирующим магнитом, который установлен с возможностью перемещения между противоположными торцами канала. Обеспечивающие это перемещение силовые средства выполнены с подвижными относительно рабочего канала одним или несколькими приводными магнитами, размещенными вне рабочего канала. Предусмотрена возможность движения указанных магнитов и/или генерирующего блока поперек собственных осей таким образом, что генерирующий и приводной магниты периодически сближаются одноименными полюсами для создания взаимно отталкивающего импульса силы. Генерирующий блок и приводной магнит могут монтироваться раздельно на взаимно движущихся частях механического устройства. Наиболее выгодная область применения изобретения - питание маломощных потребителей тока (особенно в аварийных условиях). Технический результат - повышение эффективности электрогенератора.
ОПИСАНИЕ ИЗОБРЕТЕНИЯ
Изобретение относится к генерированию электрической энергии, конкретно - к устройству электрических генераторов (электрогенераторов).
Известен электрогенератор,включающий генерирующий блок со снабженным катушкой рабочим каналом, с генерирующим магнитом, который установлен с возможностью перемещения между противоположными торцами канала, обеспечивающие это перемещение силовые средства с подвижным относительно рабочего канала приводным органом, который взаимодействует с генерирующим магнитом; пат.США 5347186, НКИ 310/17, 26.05.92, фиг.11 (прототип изобретения).
В известном электрогенераторе приводной орган выполнен в виде поршня, прикрепленного к генерирующему магниту и движимого избыточным давлением рабочей среды (воздуха). Такое техническое решение обусловливает сложную и громоздкую конструкцию электрогенератора-прототипа, затрудняет его эксплуатацию, не позволяет получить достаточную мощность. В итоге перечисленные недостатки делают известный электрический генератор неэффективным и малопригодным для практического применения.
Изобретение решает техническую задачуповышения эффективности электрогенератора, с тем чтобы обеспечить ему возможность широкого применения.
Поставленная задача решается тем, что в электрогенераторе, включающем генерирующий блок со снабженным катушкой рабочим каналом, с генерирующим магнитом, который установлен с возможностью перемещения между противоположными торцами канала, обеспечивающие это перемещение силовые средства с подвижным относительно рабочего канала приводным органом, который взаимодействует с генерирующим магнитом, согласно изобретению, приводной орган выполнен в виде одного иди нескольких магнитов, которые размещены вне рабочего канала, причем предусмотрена возможность движения этих приводных магнитов и/или генерирующего блока поперек собственных осей таким образом, что генерирующий и приводной магниты периодически сближаются одноименными полюсами для создания взаимно отталкивающего импульса силы.
В частных случаях осуществления изобретения:
- генерирующий блок и/или приводной магнит смонтированы с возможностью вращения вокруг оси, проходящей через ось рабочего канала, перпендикулярно к ней;
- генерирующий блок и/или приводной магнит смонтированы с возможностью вращения вокруг оси, параллельной оси рабочего канала;
- генерирующий блок и приводной магнит смонтированы с возможностью прямолинейного движения относительно друг друга;
- приводные магниты смонтированы по обе стороны от генерирующего блока;
- приводной магнит размещен в рабочем канале другого аналогичного электрическою генератора, для которого указанный магнит является генерирующим;
- ось вращения проходит вне генерирующего блока;
- ось вращения проходит через генерирующий блок;
- генерирующий блок и приводной магнит выполнены с возможностью раздельного монтирования на частях механического устройства, совершающих перемещение относительно друг друга, так что часть механического устройства является приводом для электрического генератора.
При осуществлении изобретения ожидается технический результат, совпадающий с существом решаемой задачи.
Существо изобретения иллюстрируется на фиг.1-10, которые схематично представляют:
![]() Фиг.1 - одноблочный электрогенератор с одним генерирующим блоком и одиночным приводным магнитом (вид сверху, в разрезе) | ![]() Фиг.2 - многоблочный электрогенератор с несколькими приводными магнитами (вид сверху, в разрезе) |
![]() Фиг.3 - одноблочный электрогенератор с несколькими приводными магнитами, одно положение (вид сверху, в разрезе) | ![]() Фиг.4 - одноблочный электрогенератор с несколькими приводными магнитами, другое положение (вид сверху, в разрезе) |
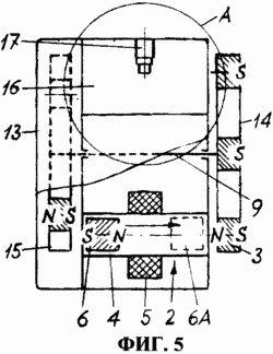
![]() Фиг.5 - встроенный электрогенератор в составе блока электропитания (вид сбоку, с разрезами) | ![]() Фиг.6 - устроенный электрогенератор согласно фиг.5, вид справа |
![]() Фиг.7 - электрогенератор согласно фиг.5, 6 в варианте, встроенном в фонарь | ![]() Фиг.8 - электрогенератор с двумя рядами генерирующие блоков и промежуточным рядом приводных магнитов |
![]() Фиг.9 - двухрядный многоблочный электрогенератор, одно положение | ![]() Фиг.10 - двухрядный многоблочный электрогенератор, другое положение |
В соответствии с общепринятыми условными обозначениями на фигурах буквой N обозначен северный полюс магнита, буквой S - южный полюс. При этом, чтобы не загромождать» изображений, не все полюса магнитов обозначены; само собой разумеется, что все магниты являются двухполюсными.
Показанный на фиг.1 (вид сверху, в разрезе) одноблочный электрогенератор с одним генерирующим блоком и одиночным приводным магнитом является простейшим устройством, выполненным согласно настоящему изобретению. Этот электрогенератор включает смонтированные в корпусе 1 генерирующий блок 2 и приводной магнит 3. Генерирующий блок, в свою очередь, состоит из образующей рабочий канал трубки 4, окружающей ее внешней катушки 5 и внутреннего генерирующего магнита 6. Трубка изготовлена из непроводящего ток немагнитного материала (например из пластика) и обычно имеет круглое сечение, хотя может быть прямоугольной, многоугольной или иного сечения. Ему соответствует форма генерирующего магнита 6, который выполнен как правило дискообразным или цилиндрическим (но может быть и другого сечения), из обладающего большой магнитной силой сплава (например, «самарий-кобальт», «неодим-железо-бор»). Генерирующий магнит установлен внутри рабочего канала с радиальным зазором для возможности перемещения магнита вдоль канала между его противоположными (в данном случае левым и правым) торцами, на одном из них (в данном случае левом) размещен торцевой магнит 7. Он обращен к генерирующему магниту одноименным полюсом: на фиг.1 показана одна из двух возможных ориентации магнитов: с правым расположением северного полюса для генерирующего магнита.
Генерирующий блок смонтирован в корпусе электрогенератора неподвижно, а приводной магнит укреплен на конце стержня 8 с возможностью вращения вокруг закрепленной в корпусе оси 9, которая проходит вне генерирующего блока, располагаясь на его геометрической оси (то есть на оси рабочего капала) перпендикулярно к ней (то есть нормально к плоскости изображения). Для обеспечения возможности вращения стержень 8 с противоположного магниту конца снабжен втулкой 10, которая свободно надета на ось 9. В среднем положении стержень и ось приводного магнита 3 расположены по оси рабочего канала 4, и приводной магнит находится напротив правого торца канала будучи обращен к генерирующему магниту 6 одноименным (в конкретном случае северным) полюсом. Между этими полюсами создается взаимно отталкивающий импульс силы, и под его действием магнит 6 перемещается к левому торцу рабочего канала. Здесь он удерживается на некотором расстоянии от магнита 7, отталкиваясь от него одноименным южным полюсом. Описанное исходное состояние функциональных элементов электрогенератора показано на фиг.1 сплошными линиями.
Описанное устройство позволяет при работе электрогенератора приводному магниту 3 совершать периодические отклонения поперек своей оси от исходного положения в крайние положения 3А и 3В (показанные штрихами) с попеременным сближением и отдалением полюса магнита от торца рабочего канала 4. Для осуществления движения задействуют не показанный на фиг.1 привод, в котором, например, предусмотрен механизм, входящий в зацепление с втулкой 10. (Такое устройство привода указывается лишь для лучшего понимания работы электрогенератора: привод не является объектом настоящего изобретения и может быть осуществлен на базе известных технических решений). Задействуем привод и начнем отклонять стержень 8 с приводным магнитом 3 от исходного положения, например по часовой стрелке. По мере этого отклонения взаимодействие между приводным и генерирующим магнитами ослабевает, и последний магнит, отталкиваемый торцевым магнитом, будет перемещаться от левого торца рабочего канала к правому, пока не достигнет его; это крайнее положение 6А генерирующего магнита показано штриховыми линиями. При описанном движении он пересекает витки катушки 5 и в ней генерируется ток.
После того как магнит 3 отклонен в крайнее положение 3А, привод начинает его возврат (против часовой стрелки) в исходное положение, сближая с торцем рабочего канала и находящимся возле него магнитом 6. При этом возникает все возрастающее взаимодействие между одноименными полюсами сближающихся магнитов, что приводит к перемещению магнита 6 к левому торцу рабочего канала в исходное положение. При этом возвратном движении в катушке генерируется очередной импульс тока. Следующий импульс генерируется при продолжающемся отклонении магнита 3 до другого крайнего положения 3В. Затем привод возвращает магнит 3 по часовой стрелке в исходное положение и далее в крайнее положение 3А, что генерирует очередную серию импульсов тока. Их характеристики определяются моточными данными катушки и скоростью челночного (то есть туда - обратно) движения генерирующего магнита между противоположными торцами рабочего канала. Производя многократные челночные перемещения магнита между указанными крайними положениями 3А и 3В, вырабатывают необходимый ток, который снимают известным способом с электрических выводов катушки (соответствующие электрические схемы известны и здесь не рассматриваются). Следует заметить, что при равной или близкой силе магнитов 3 и 7 в исходном положении генерирующий магнит 6 может находиться в средней части рабочего канала, однако при работе электрогенератора этот магнит может пролетать по инерции вплоть до контакта с магнитом 7.
На фиг.2 показан (в виде сверху, в разрезе) электрогенератор многоблочного типа с несколькими приводными магнитами. В конкретном техническом исполнении предусмотрены четыре генерирующих блока 2 и шесть приводных магнитов 3, которые смонтированы симметрично вокруг перпендикулярной оси 9 на концентрично расположенных токонепроводящих барабанах 11 и 12 (выполненных из немагнитного материала например пластика). Предусмотрено, что один или оба этих барабана могут вращаться вокруг указанной оси, причем при совместном вращении барабанов они движутся в противоположные стороны. Этот многоблочный электрогенератор, за исключением количества основных функциональных элементов, по сути не отличается от представленного на фиг.1 одноблочного электрогенератора и работает подобно ему.
Пусть, например, для определенности барабан 11 смонтирован (в не показанном на фиг.2 корпусе электрогенератора) неподвижно, а барабан 12 имеет возможность вращения по часовой стрелке. В исходном состоянии электрогенератора его магниты показаны сплошными линиями, причем положение магнитов на горизонтальной оси чертежа соответствует сплошным линиям фиг.1, а положение других магнитов соответствует штриховым линиям фиг.1. Горизонтальные генерирующие магниты находятся в рабочих каналах рядом с торцевыми магнитами, а вертикальные генерирующие магниты располагаются в других концах своих каналов. С поворотом барабана 12 на угол 30° эта картина меняется на прямо противоположную, представленную на фиг.2 штриховыми линиями, то есть генерирующие магниты перемещаются в противоположные концы своих рабочих каналов. При движении они генерируют ток в катушках электрогенератора. С дальнейшем вращением барабана 12 генерирующие магниты через 30° вернутся в исходное положение, произведя очередную серию импульсов тока, и затем картина рабочего процесса будет повторяться.
Описанный многоблочный электрогенератор обладает более высокой мощностью нежели предыдущий одноблочный, и этот параметр можно варьировать, изменяя число функциональных элементов. Очевидно, что в другом конкретном техническом осуществлении электрогенератора барабаны 11 и 12 можно поменять местами, то есть первый смонтировать внутри второго (при этом как генерирующие блоки, так и приводные магниты необходимо перевернуть на 180°). Вместо барабанов могут применяться другие технические решения, например внутренние функциональные элементы могут монтироваться на вращаемых радиальных стержнях (спицах), а внешние элементы могут крепиться непосредственно к корпусу электрогенератора и т.д.
На фиг.3 и 4 представлен в двух положениях одноблочный электрогенератор с несколькими приводными магнитами (вид сверху, в разрезе). В конкретном техническом исполнении электрогенератора три приводных магнита 3 смонтированы симметрично на барабане 12 вокруг одиночного генерирующего блока 2. Через него перпендикулярно оси рабочего канала (нормально к плоскости чертежа) проходит ось барабана. Вокруг нее барабан или генерирующий блок могут вращаться, а точнее отклоняться, в обе стороны на угол 60° относительно среднего положения. В отличие от вышеописанных этот электрогенератор не содержит торцевых магнитов 7, и перемещение генерирующего магнита 6 осуществляется в обе стороны рабочего канала, причем непосредственно до обоих торцев, за счет самих приводных магнитов. Для этого они смонтированы на барабане с различной ориентацией: один магнит обращен внутрь, к оси барабана, северным полюсом, а два других - южным. Пусть для определенности барабан 12 смонтирован в корпусе электрогенератора неподвижно (сам может быть корпусом), а генерирующий блок 2 имеет возможность вращения. Исходное положение такого электрогенератора, которое показано на фиг.3, соответствует сплошным линиям фиг.1. Другое положение при предельном отклонении генерирующего блока по часовой стрелке показано на фиг.4 и соответствует штриховым линиям фиг.1. Приведенною описания достаточно для понимания работы электрогенератора.
Представленные выше технические решения служат основой для разнообразных устройств, могущих найти широкое применение.
Фиг.5 представляет вид сбоку, с разрезами, встроенный электрогенератор в составе блока электропитания; фиг.6 представляет вид справа на фиг.5. В корпусе 13 блока электропитания закреплен генерирующий блок 2, и по его сторонам смонтированы на общей оси 9, параллельной оси рабочего канала, совместно вращаемые барабаны 14 и 15. В них на том же расстоянии от оси 9, что и генерирующий магнит 6, закреплено по четыре приводных магнита 3, обращенных одноименными полюсами к генерирующему магниту. Из фиг.6 видно, что магниты в барабане 14 (показан прозрачным) расположены со сдвигом (чередуются) относительно магнитов в барабане 15. Следовательно, когда, например, магнит первого барабана находится против правого торца рабочего канала 4, магниты второго барабана находятся по сторонам от левого торца, и к нему будет отжат генерирующий магнит 6: см. фиг.5. Работа такого электрогенератора понятна из приведенного выше описания работы других конкретных устройств. Приведение в действие электрогенератора может осуществляться ручным вращением барабана 14: может и предусматриваться его пружинный завод.
Посредством смонтированной в корпусе 13 электрической схемы (не показана) импульсы тока, снимаемые с катушки генерирующего блока, выпрямляются и поступают к электронному блоку 16 с накопительной системой известного типа (включающей, например, конденсатор или ионистор и т.п.). К ней подсоединен контактный вывод 17, через который потребитель имеет возможность получить запасенную в блоке электропитания энергию.
На фиг.7 представлен электрогенератор согласно фиг.5, 6 в варианте, встроенном в фонарь. Показанный здесь электронный блок 18 подключен к источнику света 19, которым является светодиод. Для фокусирования светового луча предусмотрена оптическая система с линзой 20. Время зарядки такого электрического фонаря может быть небольшим, его можно подзаряжать и в процессе освещения.
Представленные на фиг.5, 6, 7 устройства с встроенным электрогенератором имеют простую и компактную конструкцию; они могут быть сделаны абсолютно герметичными, что обеспечивает им практически неограниченный рабочий ресурс. Перечисленные достоинства вместе с приемлемым временем зарядки и удобством эксплуатации описанных устройств обусловливают практичность встроенного электрогенератора.
Во всех описанных выше электрогенераторах попеременное сближение и отдаление полюсов приводных магнитов от торца рабочего канала генерирующего блока (что приводит к перемещению генерирующего магнита в рабочем канале и в результате к выработке тока) осуществлено за счет частичного или полного кругового движения приводных магнитов и/или генерирующего блока. Ниже представлены некоторые технические решения электрогенератора, в которых генерирующий блок и приводной магнит смонтированы с возможностью прямолинейного движения относительно друг друга.
На фиг.8 показан в двух положениях электрогенератор с двумя рядами генерирующих блоком и промежуточным рядом приводных магнитов. Генерирующие блоки 2 смонтированы на протяженных элементах 21А и 21В соосно друг другу; между торцами блоков смонтирован на протяженном элементе 22 ряд приводных магнитов 3; с противоположных внешних сторон блоков установлены торцевые магниты 7. Магниты в соседних рядах обращены друг к другу одноименными полюсами. Предусмотрено, что магнитный ряд 22 может перемещаться относительно первых двух рядов в продольном направлении (например, в направляющих известного типа, которые не показаны). При этом приводные магниты периодически располагаются напротив генерирующих, отталкивая их в сторону торцевых магнитов, как это показано на фиг.8 сплошными линиями. При отдалении приводных магнитов от генерирующих блоков магниты в рабочих каналах перемещаются к торцам соседних блоков навстречу друг другу, как это показано штриховыми линиями. Периодическим перемещением генерирующих магнитов между показанными крайними положениями обеспечивается вырабатывание импульсов тока в катушках генерирующих блоков.
На фиг.9, 10 показан в двух положениях двухрядный многоблочный электрогенератор с двумя параллельными смежными рядами генерирующих блоков 2, которые могут перемещаться параллельно друг другу (например, в направляющих известного типа, которые не показаны). Блоки этих соседних рядов обращены друг к другу одноименными полюсами генерирующих магнитов 6; с противоположных сторон установлены торцевые магниты 7. В показанном на фиг.9 положении одни генерирующие блоки находятся напротив других, и поэтому генерирующие магниты отталкиваются друг от друга к торцевым магнитам 7. В другом положении, которое показано на фиг.10, генерирующие блоки одного ряда сдвинуты относительно блоков другого ряда, так что генерирующие магниты отталкиваются от торцевых по направлению друг к другу. Периодическим перемещением генерирующих магнитов между показанными крайними положениями обеспечивается вырабатывание импульсов тока в катушках генерирующих блоков. Как явствует из приведенного описания, показанное на фиг.9, 10 устройство состоит из простейших одноблочных электрогенераторов, приводные магниты которых размещены в рабочих каналах других аналогичных электрогенераторов, для которых указанные магниты являются генерирующими.
Представленные выше технические решения не исчерпывают сущности изобретения. В частности, возможны и следующие вариации:
- в генерирующем блоке вместо одной катушки может устанавливаться ряд из нескольких последовательно расположенных катушек;
- вместо торцевых магнитов могут предусматриваться выполняющие ту же функцию пружины (из немагнитного материала);
- для электрогенератора согласно фиг.1 торцевой магнит 7 может не понадобиться, если этот электрогенератор эксплуатировать в верхнем вертикальном положении рабочего канала, в расчете на перемещение генерирующего магнита к нижнему торцу канала исключительно за счет силы тяжести;
- для смягчения соударений генерирующих магнитов с торцами рабочих каналов в них могут размещаться амортизаторы (в простейшем варианте - эластичные прокладки);
- торцевой магнит 7 может размещаться как вне рабочего канала 4, так и в общей с ним трубке;
- при необходимости генерирующий блок может выполняться с центральной катушкой и внешним кольцевым генерирующим магнитом;
- по типу электрогенераторов с круговым движением функциональных элементов могут быть выполнены аналогичные устройства с прямолинейным движением и наоборот.
Как явствует из вышеизложенного, предложенный электрический генератор отличается простой конструкцией, компактен, прост в эксплуатации, имеет практически неограниченный рабочий ресурс. Эти достоинства сочетаются с широкими энергетическими возможностями предложенного электрического генератора. В первую очередь, выгодной областью применения изобретения является питание маломощных потребителей тока, таких как сигнальные маячки, портативные радиоприемники и радиопередатчики, сотовые телефоны, портативные электрические фонарики и тому подобные устройства, особенно в аварийных условиях, когда отсутствует возможность подзарядки штатных систем питания перечисленных устройств от других источников тока. Предложенный электрический генератор может использоваться как для подзарядки штатных систем питания, так и непосредственно для обеспечения работы перечисленных устройств. (Конкретные примеры были представлены на фиг.5, 6, 7).
Электрогенераторы с круговым движением функциональных элементов могут и легко и с большой пользой монтироваться на разнообразных механических устройствах, в частности на колесных транспортных средствах. Например, на велосипеде в районе педалей удобно разместить электрогенератор типа того, который показан на фиг.5, 6. В этом случае ось 9 соответствует оси вращения шатунов педалей, к этой оси по обеим сторонам крепятся диски с приводными магнитами 3, а генерирующий блок 2 монтируется со смещением относительно этой оси на велосипедной раме. Такой велосипедный электрогенератор не содержит общего корпуса для размещения упомянутых функциональных элементов, и они раздельно крепятся на разных частях транспортного средства, движущихся относительно друг друга. При этом одна часть транспортного средства является приводом для электрогенератора. Вырабатываемого при движении велосипеда тока достаточно для питания велосипедного фонаря, для слушания портативного радиоприемника и т.п. Аналогичный велосипедному электрогенератор хорошо вписывается и в компоновку ветроэлектроагрегата. Вырабатываемого при этом тока достаточно, по меньшей мере, для освещения в ночное время приусадебного участка, периметра охранной зоны (например, аэродрома) и т.п.
Электрогенераторы с линейным движением функциональных элементов могут успешно применяться для выработки электрической энергии при движении разного рода транспортировочных устройств. Например, снаружи лифтовой кабины может монтироваться ряд генерирующих блоков, а на стенках лифтовой шахты - соответствующий ряд приводных магнитов. Вырабатываемый таким электрогенератором ток может использоваться в целях освещения кабины.
Таким образом, подтвержден ожидаемый от изобретения технический результат, состоящий в повышении эффективности электрогенератора, что обеспечивает ему возможность широкого применения.
ФОРМУЛА ИЗОБРЕТЕНИЯ
- Электрический генератор, включающий генерирующий блок со снабженным катушкой рабочим каналом, с генерирующим магнитом, который установлен с возможностью перемещения между противоположными торцами канала, обеспечивающие это перемещение силовые средства с подвижным относительно рабочего канала приводным органом, который взаимодействует с генерирующим магнитом, отличающийся тем, что приводной орган выполнен в виде одного или нескольких магнитов, которые размещены вне рабочего канала, причем предусмотрена возможность движения этих приводных магнитов и/или генерирующего блока поперек собственных осей таким образом, что генерирующий и приводной магниты периодически сближаются одноименными полюсами для создания взаимно отталкивающего импульса силы.
- Электрический генератор по п.1, отличающийся тем, что генерирующий блок и/или приводной магнит смонтированы с возможностью вращения вокруг оси, проходящей через ось рабочего канала, перпендикулярно к ней.
- Электрический генератор по п.1, отличающийся тем, что генерирующий блок и/или приводной магнит смонтированы с возможностью вращения вокруг оси, параллельной оси рабочего канала.
- Электрический генератор по п.1, отличающийся тем, что генерирующий блок и приводной магнит смонтированы с возможностью прямолинейного движения относительно друг друга.
- Электрический генератор по п.1, отличающийся тем, что приводные магниты смонтированы по обе стороны от генерирующего блока.
- Электрический генератор по п.2, отличающийся тем, что ось вращения проходит вне генерирующего блока.
- Электрический генератор по п.2, отличающийся тем, что ось вращения проходит через генерирующий блок.
- Электрический генератор по одному из пп.1-7, отличающийся тем, что генерирующий блок и приводной магнит выполнены с возможностью раздельного монтирования на частях механического устройства, совершающих перемещение относительно друг друга так, что часть механического устройства является приводом для электрического генератора.
- Электрический генератор по п.8, отличающийся тем, что он выполнен с возможностью размещения указанных функциональных элементов на велосипеде, у которого приводные магниты установлены на дисках, укрепленных на оси вращения педалей, а генерирующий блок установлен со смещением относительно этой оси на велосипедной раме.
- Электрический генератор по п.8, отличающийся тем, что он выполнен с возможностью размещения указанных функциональных элементов на лифте, у которого генерирующий блок смонтирован снаружи кабины
Версия для печати
Дата публикации 23.12.2006гг
Created/Updated: 25.05.2018
|










