| Начало раздела Производственные, любительские Радиолюбительские Авиамодельные, ракетомодельные Полезные, занимательные | Хитрости мастеру Электроника Физика Технологии Изобретения | Тайны космоса Тайны Земли Тайны Океана Хитрости Карта раздела | |
| Использование материалов сайта разрешается при условии ссылки (для сайтов - гиперссылки) | |||
Навигация: => | На главную/ Каталог патентов/ В раздел каталога/ Назад / |
|
ИЗОБРЕТЕНИЕ
Патент Российской Федерации RU2075154
![]()
ЕМКОСТНЫЙ ЭЛЕКТРОСТАТИЧЕСКИЙ ГЕНЕРАТОР
Имя изобретателя: Феоктистов Борис Петрович
Имя патентообладателя: Феоктистов Борис Петрович
Адрес для переписки:
Дата начала действия патента: 1993.07.07
Изобретение относится к области получения электрической энергии, в частности к источникам питания постоянного напряжения. Сущность изобретения: электростатический генератор содержит корпус с закрепленным в нем статором, выполненным в виде установленных диаметрально противоположно двух групп параллельно расположенных изолированных металлических пластин. Ротор выполнен в виде набора изолированных металлических пластин, расположенных между пластинами статора параллельно им. Каждый элемент ротора состоит из двух пар секторов, расположенных в одной плоскости. При этом, когда пластины статора перекрывают пару соседних секторов ротора, пара диаметрально противоположно расположенных секторов ротора электрически соединяется с диаметрально противоположно расположенными пластинами статора посредством пары щеток возбуждения и коллектора, а другая пара диаметрально расположенных секторов ротора - с нагрузкой посредством пары щеток токосъема и коллектора. Коллектор, щетки возбуждения и токосъема расположены за пределами корпуса.
ОПИСАНИЕ ИЗОБРЕТЕНИЯ
Изобретение относится к получению электрической энергии, в частности к источникам питания постоянного напряжения.
Известен емкостной электростатический генератор, содержащий статор и ротор, выполненные в виде дисков с установленными на них диаметрально противоположно изолированными пластинами электродами, щетки возбуждения и щетки токосъема, соединенные с нагрузкой (1).
Недостатками известного генератора являются низкая энергоемкость и КПД, отсутствие возможности начального самовозбуждения и работы в жидком диэлектрике.
Известен емкостной электростатический генератор, содержащий статор, выполненный в виде установленных диаметрально противоположно двух групп параллельно расположенных изолированных металлических пластин, ротор, выполненный в виде набора изолированных металлических пластин, закрепленных на его диэлектрическом основании, расположенных между пластинами статора параллельно им, щетки токосъема, расположенные диаметрально противоположно и соединенные с нагрузкой (2).
Недостатками известного устройства являются низкий КПД, сильная зависимость напряжения возбуждения от нагрузки при работе в режиме самовозбуждения.
Задачей изобретения является создание емкостного электростатического генератора с эффективным самовозбуждением и возможностью работы в жидком диэлектрике.
Сущность изобретения заключается в том, что в электростатическом емкостном генераторе, содержащем корпус с закрепленным в нем статором, выполненным в виде установленных диаметрально противоположно двух групп параллельно расположенных изолированных металлических пластин, ротор, выполненный в виде набора изолированных металлических пластин, закрепленных на его диэлектрическом основании, расположенных между пластинами статора параллельно им и электрически соединенных с пластинами коллектора, щетки токосъема, расположенные диаметрально противоположно и соединенные с нагрузкой, каждый элемент ротора состоит из двух пар секторов, расположенных в одной плоскости с возможностью перекрытия каждой пары соседних секторов параллельно расположенными пластинами статора и возможностью электрического соединения одной пары диаметрально противоположно расположенных секторов с диаметрально противоположно расположенными пластинами статора посредством пары щеток возбуждения и коллектора, а другой пары диаметрально расположенных секторов с нагрузкой посредством пары щеток токосъема и коллектора, при этом коллектор щетки возбуждения и токосъема расположены за пределами корпуса.
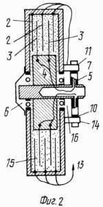
![]() Фиг. 1 представлен вид генератора сверху | ![]() Фиг. 2 вид сбоку в разрезе |

Фиг. 3 сечение А-А на фиг. 1
Генератор содержит корпус 1, на внутренней поверхности которого закреплены изолированные металлические пластины 2, образующие статор, диэлектрический ротор 4, на внешней поверхности которого укреплены изолированные металлические пластины 3, коллектор 5, вал 6, пластины 7 10 коллектора, щетки 11, 13 возбуждения и щетки 12, 14 токосъема, жидкий диэлектрик 15, сальник 16, нагрузка 17. Пластины 2 статора соединены электрически со щетками 11, 13, нагрузка со щетками 12, 14, а пластины 3 ротора с пластинами 7, 8, 9, 10 коллектора 5, чем меньше расстояние между пластинами ротора и статора, тем выше электрические параметры генератора.
ЭЛЕКТРОСТАТИЧЕСКАЯ МАШИНА РАБОТАЕТ СЛЕДУЮЩИМ ОБРАЗОМ
Допустим, что в начальный период возбуждения изолированные металлические пластины ротора (а) и (с) имеют различный потенциал и расположены внутри изолированных металлических пластин 2 статора. Заряды с пластин 3 ротора полностью перейдут на внешнюю поверхность пластин 2 статора, поскольку пластины (а) и (с) ротора соединены электрически с пластинами 7 и 9 коллектора, пластины 2 статора со щетками 11 и 13. Полученный заряд на пластинах 2 статора вызовет индукцию зарядов на пластинах (в) и (d) ротора. Последние электрически соединены с пластинами 8 и 10 коллектора через щетки 12 и 14, на нагрузке 17 возникает электрический ток, а на пластинах (в) и (d) ротора по закону электрофора образуются заряды. При вращении ротора размыкаются все скользящие контакты коллектор-щетки и заряды эти фиксируются. Пары пластин ротора меняются местами, но уже имеют больший заряд, чем первоначально. Потенциал на пластинах 2 статора постоянного возрастает и ограничивается утечкой тока. Для увеличения КПД генератора и регулирования напряжения его в системе возбуждения, в ее разрыв может устанавливаться реле-регулятор. Цепь в системе пластин статора-щетки 11 и 13 может быть коммутируемой. При ее отключении пластины 2 статора долго сохраняют свой заряд. Длительность токосъема определяется длиной дуг щеток 12 и 14 до 90o.
ФОРМУЛА ИЗОБРЕТЕНИЯ
Емкостный электростатический генератор, содержащий корпус с закрепленным в нем статором, выполненным в виде установленных диаметрально противоположно двух групп параллельно расположенных изолированных металлических пластин, ротор, выполненный в виде набора изолированных металлических пластин, закрепленных на его диэлектрическом основании, расположенных между пластинами статора параллельно им и электрически соединенных с ближайшими пластинами коллектора, щетки токосъема, расположенные диаметрально противоположно и соединенные с нагрузкой, отличающийся тем, что каждый элемент ротора состоит из двух пар секторов, расположенных в одной плоскости с возможностью перекрытия каждой пары соседних секторов параллельно расположенными пластинами статора и электрического соединения одной пары диаметрально противоположно расположенных секторов с диаметрально противоположно расположенными пластинами статора посредством пары щеток возбуждения и коллектора, а другой пары диаметрально расположенных секторов с нагрузкой посредством пары щеток токосъема и коллектора, при этом коллектор, щетки возбуждения и токосъема расположены за пределами корпуса.
Версия для печати
Дата публикации 09.11.2006гг
Created/Updated: 25.05.2018
|


