| Начало раздела Производственные, любительские Радиолюбительские Авиамодельные, ракетомодельные Полезные, занимательные | Хитрости мастеру Электроника Физика Технологии Изобретения | Тайны космоса Тайны Земли Тайны Океана Хитрости Карта раздела | |
| Использование материалов сайта разрешается при условии ссылки (для сайтов - гиперссылки) | |||
Навигация: => | На главную/ Каталог патентов/ В раздел каталога/ Назад / |
|
ИЗОБРЕТЕНИЕ
Патент Российской Федерации RU2206939
![]()
ЭЛЕКТРОХИМИЧЕСКИЙ ГЕНЕРАТОР НА ОСНОВЕ МЕТАНОЛЬНЫХ ТОПЛИВНЫХ ЭЛЕМЕНТОВ
Имя изобретателя: Каричев З.Р.
Имя патентообладателя: Закрытое акционерное общество "Индепендент Пауэр Технолоджис"
Адрес для переписки: 129626, Москва, Кучин пер., 12, кв.1, З.Р. Каричеву
Дата начала действия патента: 2002.04.12
Изобретение относится к области электрохимических генераторов (ЭХГ) на основе топливных элементов, в частности на основе метанольных топливных элементов (МТЭ), и может быть использовано при производстве указанных генераторов. Согласно изобретению электрохимический генератор на основе метанольных топливных элементов содержит батарею топливных элементов, каждый из которых включает анод и катод, разделенные жидким электролитом, и ионопроводящую мембрану, размещенную на поверхности анода, обращенной к катоду, контур циркуляции электролита с насосом, теплообменником, электролитной емкостью, контур циркуляции метанольно-водяной смеси с насосом, емкостью с метанольно-водяной смесью и газожидкостным сепаратором, контур подачи воздуха с вентилятором. В качестве жидкого электролита взят водный раствор щелочи, контур циркуляции метанольно-водяной смеси дополнительно содержит устройство удаления воды, а электролитная емкость снабжена датчиками уровня электролита. В качестве ионопроводящей мембраны на анодах в батарее топливных элементов используется анионопроводящая мембрана. Устройство удаления воды может быть выполнено в виде термического испарителя, в виде двух поочередно подключаемых термических испарителей с нагревателем, диффузионного испарителя с первапорационной мембраной, разделяющей жидкостную и паровую полости испарителя, либо в виде диффузионного испарителя с пористой композиционной мембраной, снабженной гидрофобным слоем, обладающим селективной проницаемостью к парам метанола, разделяющей жидкостную и паровую полости испарителя. Концентрация водного раствора щелочи в батарее топливных элементов может составлять 35ё45 мас. %, а рабочая температура батареи может составлять 55ё65oС. Электролитный контур может быть дополнительно снабжен декарбонизатором электролита. Техническим результатом изобретения является создание ЭХГ, обладающего высокой эффективностью и низкой стоимостью.
ОПИСАНИЕ ИЗОБРЕТЕНИЯ
Изобретение относится к области электрохимических генераторов (ЭХГ) на основе топливных элементов, в частности на основе метанольных топливных элементов (МТЭ), и может быть использовано при производстве указанных генераторов.
Известен ЭХГ на основе МТЭ с протонпроводящим полимерным мембранным электролитом, содержащий батарею МТЭ, контур рециркуляции окислителя с устройством удаления воды, контур рециркуляции топливно-водяной смеси с емкостью, насосом и теплообменником (см. патент США 5599638, кл. H 01 M 8/10, 1997).
Недостаток данного ЭХГ связан с использованием МТЭ с протонпроводящим полимерным мембранным электролитом, который требует поддержания влажности мембраны в заданном узком диапазоне, что при наличии резко переменной нагрузки и переменных условиях термостатирования значительно усложняет функциональную схему и конструкцию ЭХГ. Кроме того, наличие диффузии топлива через электролитную мембрану к катоду снижает эффективность работы ЭХГ, а и ресурс ЭХГ за счет отравления метанолом катодного катализатора.
Из известных ЭХГ наиболее близким по совокупности существенных признаков и достигаемому техническому результату является ЭХГ на основе метанольных топливных элементов, содержащий батарею топливных элементов с анодом, жидким электролитом и диффузионными мембранами на поверхности анодов, примыкающих к электролиту, контур циркуляции электролита с насосом, радиатором, электролитной емкостью и регенератором электролита, контур циркуляции метанольно-водяной смеси с насосом, смесителем и регенератором метанольно-водяной смеси, контур подачи воздуха с вентилятором и сепаратором воды (см. международную заявку WO 01/39307, кл. Н 01 М 8/00, 2001).
Недостатком указанного ЭХГ является
использование коррозионно-активного
кислотного электролита, что удорожает
конструкцию ЭХГ из-за ограниченного выбора
конструкционных материалов и
использования катализаторов из
благородных металлов.
Задачей изобретения является создание ЭХГ,
обладающего высокой эффективностью и
низкой стоимостью.
Указанный технический результат достигается тем, что в электрохимическом генераторе на основе метанольных топливных элементов, содержащем батарею топливных элементов, каждый из которых включает анод и катод, разделенные жидким электролитом, и ионопроводящую мембрану, размещенную на поверхности анода, обращенной к катоду, контур циркуляции электролита с насосом, теплообменником и электролитной емкостью, контур циркуляции метанольно-водяной смеси с насосом, емкостью с метанольно-водяной смесью и газожидкостным сепаратором, контур подачи воздуха с вентилятором, согласно изобретению в качестве жидкого электролита взят водный раствор щелочи, контур циркуляции метанольно-водяной смеси дополнительно содержит устройство удаления воды, а электролитная емкость снабжена датчиками уровня. Применение щелочного электролита позволяет использовать более концентрированную метанольно-водяную смесь, что повышает электрические характеристки ЭХГ, облегчает выбор конструкционных материалов и допускает использование катализаторов из неблагородных металлов, что уменьшает стоимость ЭХГ.
Целесообразно, чтобы в качестве ионопроводящей мембраны на анодах в батарее топливных элементов использовалась анионопроводящая мембрана. Использование указанной мембраны исключает доступ метанола и СО2 в щелочной контур, что исключает карбонизацию электролита, отравление катодного катализатора и способствует повышению эффективности ЭХГ.
Целесообразно, чтобы устройство удаления воды было выполнено в виде термического испарителя с нагревателем, снабженного паровой и жидкостной полостями для разделения метанольно-водяной смеси на метанол и воду, либо в виде двух поочередно подключаемых термических испарителей с нагревателем, при этом в качестве источника теплоты может использоваться метанол, а нагреватель может быть каталитическим. Использование термического испарителя с каталитическим нагревателем позволяет для нагрева испарителя и удаления воды из метанольно-водяной смеси использовать метанол, выделяемый в испарителе, что упрощает схему ЭХГ и повышает его эффективность, а использование двух поочередно подключаемых термических испарителей с каталитическими нагревателями позволяет поочередно подключать их к контуру циркуляции метанольно-водяной смеси для заполнения смесью, убывающей по мере удаления воды.
Целесообразно, чтобы паровая полость термического испарителя была соединена с каталитической горелкой, а жидкостная полость через запорное устройство была соединена с электролитным контуром. Указанная схема соединения устройства удаления воды позволяет обеспечить баланс образующейся и удаляемой воды за счет возврата части удаляемой воды в электролитный контур по сигналу датчиков уровня электролита в электролитной емкости и утилизацию выделенного в устройстве удаления воды метанола, что повышает эффективность ЭХГ.
Целесообразно, чтобы устройство удаления воды было выполнено в виде испарителя с первапорационной мембраной, разделяющей жидкостную и паровую полости испарителя, при этом паровая полость испарителя через конденсатор и сборник воды соединена с вакуумным насосом, а сборник воды по воде соединен через клапан с электролитным контуром. Использование первопорационной мембраны, обладающей селективной проницаемостью по воде, позволяет существенно упростить технологию удаления воды из метанольно-водяной смеси, а указанная схема соединения позволяет обеспечить баланс воды за счет возврата части удаляемой воды в электролитный контур.
Целесообразно, чтобы устройство удаления воды было выполнено в виде диффузионного испарителя с пористой композиционной мембраной, снабженной гидрофобным слоем, обладающим селективной проницаемостью к парам метанола, разделяющей жидкостную и паровую полости испарителя, при этом гидрофобный слой обращен в сторону жидкостной полости.
Целесообразно, чтобы гидрофобный слой был выполнен на основе силоксанов.
Целесообразно, чтобы паровая полость диффузионного испарителя через конденсатор и сборник метанола была соединена с вакуумным насосом, а жидкостная полость через клапан и водяную емкость была соединена с электролитным контуром.
Целесообразно, чтобы сборник метанола по метанолу был соединен через клапан с контуром циркуляции метанольно-водяной смеси.
Целесообразно, чтобы концентрация водного раствора щелочи в батарее топливных элементов составляла 35-45 мас.%, а рабочая температура батареи составляла 55-65oС. При указанных параметрах поток воздуха, проходящий вдоль катодной поверхности топливных элементов батареи, практически не будет удалять воду, так как его влажность будет совпадать с давлением паров воды над электролитом. Это позволит уменьшить производительность устройств удаления воды в контуре циркуляции метанольно-водяной смеси, а следовательно, и повысить удельные характеристики ЭХГ.
Целесообразно, чтобы электролитный контур дополнительно был снабжен декарбонизатором электролита. Наличие декарбонизатора позволит удалить карбонаты из электролита топливных элементов, которые отрицательно влияют на их электрические характеристики.
Проведенный анализ уровня техники показал, что заявленная совокупность существенных признаков, изложенная в формуле изобретения, неизвестна. Это позволяет сделать вывод о ее соответствии критерию "новизна".
Для проверки соответствия заявленного изобретения критерию "изобретательский уровень" проведен дополнительный поиск известных технических решений с целью выявления признаков, совпадающих с отличительными от прототипа признаками заявленного технического решения. Установлено, что заявленное техническое решение не следует явным образом из известного уровня техники. Следовательно, заявленное изобретение соответствует критерию "изобретательский уровень".
Сущность изобретения поясняется чертежом и описанием работы заявленного ЭХГ.

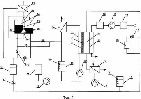
На фиг.1 представлена принципиальная пневмогидравлическая схема заявленного ЭХГ с термическим испарителем.

На фиг.2 представлена принципиальная пневмогидравлическая схема заявленного ЭХГ с испарителем с первапорационной мембраной.

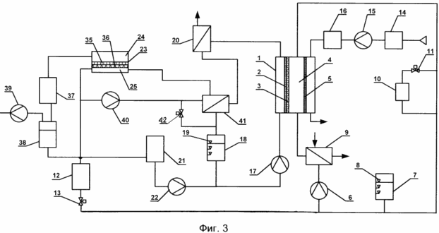
На фиг.3 представлена принципиальная пневмогидравлическая схема заявленного ЭХГ с диффузионным испарителем с композиционной мембраной.
Заявленный ЭХГ, для всех вариантов схемы, включает батарею топливных элементов 1 с анодом 2, анионопроводящей мембраной 3, жидким электролитом 4 и катодом 5, электролитный контур с электролитным насосом 6, емкостью электролита 7 с сигнализатором уровня 8, теплообменник 9, декарбонизатор 10 с клапаном 11 и емкостью накопления воды 12 с клапаном 13, воздушный контур с механическим фильтром 14, вентилятором 15 и адсорбером СO2 16, топливный контур с насосом циркуляции метанольно-водяной смеси 17, емкостью метанольно-водяной смеси 18 с сигнализатором уровня 19, газожидкостным сепаратором 20, метанольной емкостью 21, питающим насосом 22 и устройством удаления воды 23 с паровой полостью 24 и жидкостной полостью 25.
Различные варианты выполнения схемы ЭХГ отличаются друг от друга выполнением устройства удаления воды 23. Для первого варианта схемы ЭХГ (фиг. 1) устройство удаления воды выполнено в виде двух поочередно подключаемых термических испарителей 23 с горелкой 26, вход 27 которой подключен к паровым полостям 24 испарителя, а выход 28 - к конденсатору паров воды 29. Жидкостные полости испарителя через клапаны 30 соединены с емкостью накопления воды 12. Для второго варианта схемы ЭХГ (фиг.2) устройство удаления воды выполнено в виде испарителя 23 с паровой полостью 24 и жидкостной полостью 25, разделенными первапорационной мембраной 31. Паровая полость 24 через конденсатор 32 и сборник воды 33 соединена с вакуумным насосом 34. Сборник воды по воде соединен с емкостью накопления воды 12, которая в свою очередь через запорное устройство 13 соединена с электролитным контуром. Для третьего варианта схемы ЭХГ (фиг.3) устройство удаления воды выполнено в виде диффузионного испарителя 23 с паровой полостью 24 и жидкостной полостью 25, разделенными композиционной мембраной 35 с гидрофобным слоем 36, обращенным в жидкостную полость 25. Паровая полость 24 соединена через конденсатор 37, сборник метанола 38 с ваккумуным насосом 39. Сборник метанола по метанолу соединен с метанольной емкостью 21. Жидкостная полость 25 соединена с емкостью накопления воды, которая в свою очередь через запорное устройство соединена с электролитным контуром. Насос 40 обеспечивает циркуляцию смеси через теплообменник 41 и жидкостную полость 25 испарителя. Периодически, по мере удаления метанола и возврата воды в электролитный контур, через клапан 42 в контур испарителя подается свежая порция метанольно-водяной смеси.
Сведения, подтверждающие возможность
осуществления изобретения
Заявленный ЭХГ работает следующим образом.
К анодам 2 батареи топливных элементов 1
подается метанольно-водяная смесь, к
катодам 5 вентилятором 15 подается воздух,
очищенный от механических примесей в
фильтре 14 и СО2 в адсорбере 16. В
результате реакции окисления метанола на
анодах образуется СO2 и вода, которые
из топливных элементов уносятся потоком
метанольно-водяной смеси. Образующаяся
вода удаляется в устройствах 23 за счет
вакуумного испарения через
первапорационную мембрану, термического
или диффузионного испарения с разделением
воды и паров метанола. Нагрев термического
испарителя осуществляется нагревателем с
каталитической горелкой 26, использующим
пары метанола, отделяемые в устройстве
удаления воды и подаваемые на вход 27
горелки 26. Жидкостная полость 25 для
термического испарителя, в которой после
испарения метанола остается вода, через
клапаны 30 и емкость воды 12 соединена с
электролитным контуром для обеспечения
баланса воды. В испарителе с
первапорационной мембраной удаление воды
производится в паровой вазе за счет
разрежения, создаваемого в паровой полости
24 ваккуумным насосом 34 и селективной
проницаемостью мембраны по отношению к
воде. Пары воды, проходя через конденсатор
32, конденсируются и собираются в
водосборнике 33, который соединен с емкостью
воды 12. В диффузионном испарителе с
композиционной мембраной производится
удаление метанола из метанольно-водяной
смеси в паровой вазе за счет разрежения,
создаваемого в паровой полости 24
ваккуумным насосом 39. Пары метанола,
проходя через конденсатор 37,
конденсируются, собираются в сборнике 38 и
подаются в емкость метанола 21. Вода,
оставшаяся в полости 25 после испарения
метанола, подается в электролитный контур
через емкость 12 и клапан 13.
Анионопроводящая мембрана 3, размещенная на
аноде со стороны электролита,
предотвращает попадание СО2 и
метанола в щелочной электролит. Это, с одной
стороны, исключает образование карбонатов
и необходимость периодической очистки
электролита в декарбонизаторе 10 и с другой -
отравление катодного катализатора
метанолом.
Детальное описание конструкции и принципа работы заявляемого электрохимического генератора дает основание специалисту в рассматриваемой области техники сделать вывод, что заявляемый электрохимический генератор может быть реализован на практике с достижением заявляемого технического результата и соответствует критерию "промышленная применимость".
ФОРМУЛА ИЗОБРЕТЕНИЯ
1. Электрохимический генератор на основе метанольных топливных элементов, содержащий батарею топливных элементов, каждый из которых включает анод и катод, разделенные жидким электролитом, и ионопроводящую мембрану, размещенную на поверхности анода, обращенной к катоду, контур циркуляции электролита с насосом, теплообменником и электролитной емкостью, контур циркуляции метанольно-водяной смеси с насосом, емкостью с метанольно-водяной смесью и газожидкостным сепаратором, контур подачи воздуха с вентилятором, отличающийся тем, что в качестве жидкого электролита взят водный раствор щелочи, контур циркуляции метанольно-водяной смеси дополнительно содержит устройство удаления воды, а электролитная емкость снабжена датчиками уровня электролита.
2. Электрохимический генератор по п.1, отличающийся тем, что в качестве ионопроводящей мембраны на анодах в батарее топливных элементов используется анионопроводящая мембрана.
3. Электрохимический генератор по п.1, отличающийся тем, что устройство удаления воды выполнено в виде термического испарителя с нагревателем, снабженного паровой и жидкостной полостями для разделения метанольно-водяной смеси на метанол и воду.
4. Электрохимический генератор по любому из пп.1-3, отличающийся тем, что устройство удаления воды выполнено в виде двух поочередно подключаемых термических испарителей с нагревателем.
5. Электрохимический генератор по п. 3 или 4, отличающийся тем, что термический испаритель в качестве нагревателя использует нагреватель, потребляющий в качестве топлива метанол.
6. Электрохимический генератор по п.5, отличающийся тем, что нагреватель термического испарителя снабжен каталитической горелкой.
7. Электрохимический генератор по любому из пп.3-6, отличающийся тем, что паровая полость термического испарителя соединена с входом каталитической горелки, выход каталитической горелки соединен с конденсатором, а жидкостная полость через клапан и водяную емкость соединена с электролитным контуром.
8. Электрохимический генератор по п.1, отличающийся тем, что устройство удаления воды выполнено в виде испарителя с первапорационной мембраной, разделяющей жидкостную и паровую полости испарителя.
9. Электрохимический генератор по п.8, отличающийся тем, что паровая полость указанного испарителя через конденсатор и сборник воды соединена с вакуумным насосом.
10. Электрохимический генератор по п.9, отличающийся тем, что сборник воды по воде соединен через клапан с электролитным контуром.
11. Электрохимический генератор по п.1, отличающийся тем, что устройство удаления воды выполнено в виде диффузионного испарителя с пористой композиционной мембраной, снабженной гидрофобным слоем, обладающим селективной проницаемостью к парам метанола, разделяющей жидкостную и паровую полости испарителя, при этом гидрофобный слой обращен в сторону жидкостной полости.
12. Электрохимический генератор по п.11, отличающийся тем, что гидрофобный слой выполнен на основе силоксанов.
13. Электрохимический генератор по п.11, отличающийся тем, что паровая полость диффузионного испарителя через конденсатор и сборник метанола соединен с вакуумным насосом, а жидкостная полость через клапан и водяную емкость соединена с электролитным контуром.
14. Электрохимический генератор по п.13, отличающийся тем, что сборник метанола по метанолу соединен через клапан с контуром циркуляции метанольноводяной смеси.
15. Электрохимический генератор по п.1, отличающийся тем, что концентрация водного раствора щелочи в батарее топливных элементов составляет 35ё45 мас.%, а рабочая температура батареи составляет 55ё65oС.
16. Электрохимический генератор по п.1, отличающийся тем, что электролитный контур дополнительно снабжен декарбонизатором электролита.
Версия для печати
Дата публикации 25.03.2007гг
Created/Updated: 25.05.2018
|
