| Начало раздела Производственные, любительские Радиолюбительские Авиамодельные, ракетомодельные Полезные, занимательные | Хитрости мастеру Электроника Физика Технологии Изобретения | Тайны космоса Тайны Земли Тайны Океана Хитрости Карта раздела | |
| Использование материалов сайта разрешается при условии ссылки (для сайтов - гиперссылки) | |||
Навигация: => | На главную/ Каталог патентов/ В раздел каталога/ Назад / |
|
ИЗОБРЕТЕНИЕ
Патент Российской Федерации RU2127932
![]()
ВОЗДУШНО-АЛЮМИНИЕВЫЙ ЭЛЕМЕНТ, БАТАРЕЯ НА ОСНОВЕ ВОЗДУШНО- АЛЮМИНИЕВОГО ЭЛЕМЕНТА И СПОСОБ ЭКСПЛУАТАЦИИ БАТАРЕИ
Имя изобретателя: Алехин В.В.; Былинкин А.П.; Гуськова Г.И.; Ивлева А.Е.; Кулаков Е.Б.; Севрук С.Д.; Черский О.М.
Имя патентообладателя: Научно-производственный комплекс источников тока "АльтЭн"
Адрес для переписки: 142490, Московская обл., Электроугли, Банный пер.1 НПК ИТ "АльтЭн"
Дата начала действия патента: 1996.09.30
Использование: воздушно-металлические батареи в качестве автономного
малогабаритного перезаряжаемого источника тока. Сущность изобретения: воздушно-металлический
гальванический элемент коробчатого типа, включающий электролитную емкость с
заправочным отверстием в ее верхней части, крышку, расходуемый металлический анод
плоской формы, помещенный в электролитную емкость, газодиффузионный катод,
расположенный на некотором расстоянии от рабочей поверхности анода и свободно
омываемый снаружи газом, например воздухом, газосборную камеру. В верхней части
электролитной емкости вокруг заправочного отверстия имеется непрерывный конический
выступ, выполняющий роль лабиринтного уплотнения, в средней части боковых стенок
электролитной емкости и в ее нижней части выполнено по два ограничительных выступа, в
нижней части электролитной емкости V образована камера для сбора шлама Vшл с
соотношением объемов V : Vшл = 5-15, толщина анода в пределах 1-3 мм и составляет 0,05-0,50
от величины межкатодного зазора, объем электролитной емкости определяется
выражениями:
V = Vэл+ Vан;
Vэл=qэл·Q·n·K1;
Vан=qэх+qкорQ·n·K2,
где V - объем электролитной емкости, см3;
Vэл - объем электролита, см3;
Vан- объем анода, см3;
qэл - удельный расход воды из электролита, см3/А·ч;
qэх - удельный расход алюминия на электрохимическую реакцию, см3/А·ч;
Q - емкость элемента за один цикл, А·ч;
n - количество циклов;
K1 = (0,44-1,45) - конструктивный коэффициент;
K2 = (1,97-1,49) -конструктивный коэффициент,
а соотношение длины а, ширины b и высоты с составляет: 1 : 0,38 : 2,7; 1 : 0,35 : 3,1; 1 : 0,33 : 3,9.
Воздушно-металлическая батарея содержит корпус, крышку с коммутацией, по крайней мере
один воздушно-металлический гальванический элемент предлагаемой конструкции. Способ
эксплуатации воздушно-металлического гальванического элемента и батареи на его
основе включает разряд, замену анодов и электролита свежими, промывку элементов. Аноды
перед использованием предварительно обрабатывают в водном растворе гидроокиси натрия
концентрацией (2-5) моль/л с добавкой трехводного натрий метастанната концентрацией
(0,01-0,10) моль/л.
ОПИСАНИЕ ИЗОБРЕТЕНИЯ
Изобретение относится к электрохимии, касается способа эксплуатации воздушно-металлических батарей и может быть использовано при применении воздушно-металлических батарей в качестве автономного малогабаритного перезаряжаемого источника тока.
Известен гальванический элемент, например, воздушно-металлического типа. Элемент в основном содержит электролитную емкость, крышку, расходуемый металлический электрод плоской формы, помещенный в электролитную емкость. На некотором расстоянии от рабочей поверхности электрода расположен газодиффузионный катод, который снаружи свободно омывается газом, в частности воздухом. Для улучшения циркуляции электролита и тем самым повышения эффективности электрохимического преобразования энергии водород, образующийся в процессе электрохимической реакции, накапливается в электролитной емкости и повышающееся при этом давление используется для перемещения электролита. При этом электролитная емкость содержит газосборную камеру, газовое давление в которой может воздействовать на электролит. Через систему трубок вытесняемый электролит переходит из верхней части электролитной емкости в нижнюю (Европатент N 0071015 А2 от 22.06.82 - прототип).
Недостатком известного гальванического элемента воздушно-металлического типа являются низкие удельные электроэнергетические характеристики из-за избыточного веса, вызванного усложнением конструкции.
Известна первичная воздушно-металлическая батарея, содержащая корпус, крышку с коммутацией, по крайней мере один воздушно-металлический гальванический элемент (патент США N 4626482, H 01 M 12/6, 1986 - прототип).
Недостатком известной первичной воздушно-металлической батареи являются низкие удельные электроэнергетические характеристики.
Известен способ эксплуатации воздушно-металлического гальванического элемента и батареи на его основе путем разряда, замены анодов и электролита свежими, промывки элемента (а.с. СССР, 621041, H 01 M 10/42, H 01 M 12/08).
Недостатком известного способа является длительный период выхода батареи на заданный режим (10-20) мин.
Целью изобретения является повышение удельных электроэнергетических характеристик воздушно-металлических элементов и батарей на их основе, повышение стабильности характеристик во времени, а и уменьшение времени выхода на режим до (1-3) мин.
Поставленная цель достигается тем, что в известном воздушно-металлическом
гальваническом элементе коробчатого типа, включающем электролитную емкость с
заправочным отверстием в верхней ее части, крышку, расходуемый металлический анод
плоской формы, помещенный в электролитную емкость, газодиффузионный катод,
расположенный на некотором расстоянии от рабочей поверхности анода и свободно
омываемый снаружи газом, например воздухом, газосборную камеру, в верхней части вокруг
заправочного отверстия имеется непрерывный конический выступ, выполняющий роль
лабиринтного уплотнения, в средней части боковых стенок электролитной емкости и в ее
нижней части выполнено по два ограничительных выступа, в нижней части электролитной
емкости (V) образована камера для сбора шлама (Vшл) с соотношением объемов V : Vшл= 5 - 15, толщина анода в пределах (1-3) мм составляет 0,05-0,50 от величины межкатодного зазора,
объем электролитной емкости определяется выражением:
V = Vэл + Vан;
Vэл = qэл·Q·n·k1;
Vан (qэх + qкор)·Q·n·k2;
где V - объем электролитной емкости, см3;
Vэл - объем электролита, см3;
Vан - объем анода, см3;
qэл - удельный расход воды из электролита, см3/А·ч;
qэх - удельный расход алюминия на электрохимическую реакцию, см3/А·ч;
qкор - удельный расход алюминия на коррозию, см3/А·ч;
Q - емкость элемента за один цикл, А·ч;
n - количество циклов;
k1 = (0,44-1,45) - конструктивный коэффициент;
k2 = (1,97-1,49) - конструктивный коэффициент;
а соотношение длины (a), ширины (b) и высоты (c) составляет:
a:b:c = 1:0,38:2,7;
a:b:c = 1:0,35:3,1;
a:b:c = 1:0,33:3,9.
В известной первичной воздушно-металлической батарее, содержащей корпус, крышку с коммутацией, один или несколько воздушно-металлических гальванических элементов, в качестве такого элемента применен предлагаемый элемент; в известном способе эксплуатации воздушно-металлического элемента и батареи на его основе путем разряда, замены анодов и электролита свежими, промывки элемента аноды предварительно обрабатывают в водном растворе гидроокиси натрия концентрацией (2-5) моль/л с добавкой трехводного натрий метастанната концентрацией (0,01-0,10) моль/л.
Общим признаком является наличие в воздушно-металлическом гальваническом элементе коробчатого типа электролитной емкости с заправочным отверстием в верхней ее части, крышки, расходуемого металлического анода плоской формы, помещенного в электролитную емкость, газодиффузионного катода, расположенного на некотором расстоянии от рабочей поверхности анода и свободно омываемого снаружи газом, например воздухом, газосборной камеры, наличие в батарее корпуса, крышки с коммутацией, одного или нескольких элементов, эксплуатация батареи путем разряда, замены анодов и электролита свежими, промывки элемента.
Отличительным признаком является то, что в верхней части электролитной емкости вокруг
заправочного отверстия имеется непрерывный конический выступ, выполняющий роль
лабиринтного уплотнения, в средней части боковых стенок электролитной емкости и в ее
нижней части выполнено по два ограничительных выступа, в нижней части электролитной
емкости (V) образована камера для сбора шлама (Vшл) с соотношением объемов V : Vшл= 5 - 15, толщина анода в пределах (1 - 3) мм составляет 0,05-0,50 от величины межкатодного зазора,
объем электролитной камеры определяется выражением:
V = Vэл + Vан;
Vэл = qэл·Q·n·k1;
Vан=(qэх+qкор)·Q·n·k2;
где V - объем электролитной емкости, см3;
Vэл - объем электролита, см3;
Vан - объем анода, см3;
qэл - удельный расход воды из электролита, см3/А·ч;
qэх - удельный расход алюминия на электрохимическую реакцию, см3/А·ч;
qкор - удельный расход алюминия на коррозию, см3/А·ч;
Q - емкость элемента за один цикл, А·ч;
n - количество циклов;
k1 = (0,44-1,45) - конструктивный коэффициент;
k2 = (1,97-1,49) - конструктивный коэффициент;
а соотношение длины (a), ширины (b) и высоты (c) составляет:
a:b:c = 1:0,38:2,7;
a:b:c = 1:0,35:3,1;
a:b:c = 1:0,33:3,9.
В батарее в качестве воздушно-металлического гальванического элемента применен предлагаемый элемент; при эксплуатации воздушно-металлического гальванического элемента и батареи на его основе аноды предварительно обрабатывают в водном растворе гидроокиси натрия концентрацией (2-5) моль/л с добавкой трехводного натрий метастанната концентрацией (0,01-0,10) моль/л.
Заявляемая совокупность и взаимосвязь отличительных признаков в известных источниках патентной и научно-технической литературы не обнаружены.
Таким образом, предлагаемое техническое решение обладает новизной и изобретательским уровнем.
Изобретение является промышленно применимым, т.к. может быть использовано в качестве
экологически чистого автономного источника тока в составе следующих систем:
- портативный переносной магнитофон типа "плеер" с функциями записи и
воспроизведения через внешнюю акустическую систему;
- портативный телевизионный приемник на жидких кристаллах;
- портативный электрофонарь;
- электровентилятор;
- детские видеоигры на жидких кристаллах;
- детские радиоуправляемые электромобили;
- портативный радиоприемник;
- зарядное устройство для аккумуляторов;
- переносной измерительный прибор.
Предлагаемый источник тока обеспечивает высокие удельные электроэнергетические характеристики, сохраняя их стабильными в течение всего своего ресурса, а и позволяет снизить время выхода на расчетный режим с 10 - 20 до 1-3 мин.
Состояние показателей позволяет сделать вывод о целесообразности использования полученных геометрических соотношений в проектировании воздушно-алюминиевых батарей.
![]() | ![]() |
![]() | ![]() |
![]() | ![]()
|
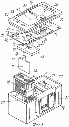
Изобретение поясняется чертежом, где на фиг. 1 показан воздушно-алюминиевый элемент - вид N 1, на фиг. 2 - воздушно-алюминиевый элемент - вид N 2, на фиг. 3 - воздушно-алюминиевый элемент - вид N 3. На фиг. 4 изображена электролитная емкость воздушно-алюминиевого элемента, а на фиг. 5 - батарея на основе воздушно-алюминиевых элементов.
Воздушно-алюминиевый гальванический элемент состоит из электролитной емкости 1,
которая имеет по внешним боковым стенкам 2 окна 3, в верхней части 4 заправочное
отверстие 5, окруженное непрерывным коническим выступом 6, выполняющим роль
лабиринтного уплотнения, с внутренней стороны электролитной емкости 1 на средней части
боковых стенок 2 и в ее нижней части выполнены два ограничительных выступа 7, в нижней
части электролитной емкости 1 образована камера 8 для сбора шлама, который
нарабатывается в процессе эксплуатации. В электролитную емкость 1 герметично
вставлены газодиффузионные катоды 9 в окна 3 рамки 10. Герметичность электролитной
емкости 1 достигается при помощи нейтрального по отношению к водному раствору
электролита герметика. Электрическая связь катодов 9 с потребителем при использовании
воздушно-алюминиевого элемента как вне батареи, а и в составе ее осуществляется с
помощью катодного токосъемника 11, охватывающего электролитную емкость 1 двумя
горизонтальными поджимами 12, которые электрически связаны с двумя вертикальными
поджимами 13. В электролитную емкость 1 через заправочное отверстие 5 вставляется
плоский металлический анод 14 с выступом 15 прямоугольной формы, предназначенным для
осуществления токосъема. Плоскость выступа 15 служит и для уплотнения по линии "анод
14 - крышка 16". Заправочное отверстие 5 закрывается и уплотняется крышкой 16, содержащей
одно отверстие 17 для пропускания через него анода 14 и одно или несколько отверстий 18
для отвода водорода из электролитной емкости 1 в процессе работы воздушно-алюминиевого
элемента через крышку 16, являющуюся одновременно гидрофобной мембраной. Наличие в
верхней части электролитной емкости 4 по периметру вокруг заправочного отверстия 5
выступа конической формы 6 позволяет усилить уплотнительные свойства крышки 16.
Геометрические соотношения конструкции, позволяющие улучшить удельные
электроэнергетические параметры следующие:
Н1/(Н2+Н3+Н4) = 1,05-1,20
Н3/Н2=Н3/Н4= 5-15
Н5/Н1= 1,1-1,5
Н6/Н3=1-1,1
L2/LI = 1-1,1
L3/LI= 1,1-1,5
L5/L6= 0,05-0,50
2xL4/L6= 0,95-0,75
Батарея на основе воздушно-алюминиевых элементов состоит из корпуса 19 с внутренними
вертикальными пазами 20 для удержания воздушно-алюминиевых элементов и окон 21 для
организации внешнего свободного притока воздуха внутрь батареи, замков 22 для
крепления крышки с коммутацией 23 к корпусу 19, одной или нескольких электролитных
емкостей 1 с установленными катодными токосъемниками 11, с вставленными в них анодами 14
и надетыми поверх крышками 16, токоразводящей двухсторонней платы 24, содержащей на
стороне, повернутой к воздушно-алюминиевым элементам, токопроводящие дорожки 25 для
осуществления электрической связи от катодов 9 к электролитным емкостям 1 через
катодные токосъемники 11 к токоразводящей двухсторонней плате 24, несколько отверстий 26
прямоугольной формы для пропускания выступа 15 металлического анода 14 с целью
осуществления электрической связи между металлическим анодом 14 и анодным
токосъемником 27, несколько отверстий произвольной формы 28 для дренажа водорода из
электролитной емкости 1 в атмосферу через крышку 23, несколько разъемов 29, расположенных
на верхней стороне токоразводящей двухсторонней платы 24, перемыкаемых
электропроводящей перемычкой 30 для выбора потребителем рабочего напряжения и связи с
электропроводящими дорожками 25 и 31 с обеих сторон, несколько разъемов 32, расположенных
на верхней стороне токоразводящей двухсторонней платы 24, служащих для подключения
потребителя, а и крышки 23, закрывающей батарею сверху и содержащей несколько
отверстий 33 под разъемы 32, несколько отверстий 34 под разъемы 29, одно или несколько
отверстий 35 под дренаж водорода, два продольных паза 36 под замки 22, этикетку 37 с краткой
инструкцией по эксплуатации.
Принцип действия и способ эксплуатации воздушно-металлического гальванического элемента и батареи на его основе, например батарея 3 ВА-24, заключаются в следующем.
Электрическая энергия в батарее генерируется при осуществлении электрохимической реакции окисления алюминия на аноде и восстановления кислорода на катоде. В качестве электролита используют водные растворы или едкого натрия (NaOH), или хлористого натрия (NaCI), или смеси указанных растворов с ингибирующими добавками: Na2SnO3·3Н2О - в щелочном электролите и NaHCO3 - в солевом. В процессе реакции наряду с расходом алюминия идет потребление кислорода из воздуха и воды из электролита, поэтому при эксплуатации батареи по мере их расходования в процессе разряда периодически проводят замену анода и электролита на свежие. Продуктами реакции являются гидроокись алюминия Al(OH)3 и тепло. Батарея работает в диапазоне температур от -10oC до +60oC без дополнительного подогрева при запуске от минусовых температур. Одним из отрицательных факторов воздушно-алюминиевой батареи является коррозия анода. Это приводит к снижению электрических характеристик батареи и выделению небольшого количества водорода. В большей степени влияние коррозии проявляется на пусковых характеристиках, вследствие чего время выхода на заданный режим составляет (10-20) мин. Предлагаемая обработка анодов, при которой их поверхность покрывается оловом, позволяет снизить плотность тока коррозии и значительно улучшить режим эксплуатации воздушно-алюминиевой батареи, в результате чего повышаются электрические характеристики и время выхода на режим снижается до (1-3) мин. Нанесение покрытия на анод проводят перед началом включения батареи в работу. Предварительно анод обезжиривают, а затем обрабатывают в водном растворе гидроокиси натрия концентрацией (2-5) моль/л с добавкой трехводного натрий метастанната концентрацией (0,01- 0,10) моль/л при комнатной температуре в течение 5-60 мин.
Результаты испытаний предлагаемой воздушно-алюминиевой батареи и прототипа представлены в табл. 1 и 2.
Как видно из таблиц, предлагаемая воздушно-алюминиевая батарея обеспечивает высокие удельные и стабильные во времени электроэнергетические характеристики при малом времени выхода на режим.
ФОРМУЛА ИЗОБРЕТЕНИЯ
1. Воздушно-металлический гальванический элемент коробчатого типа, включающий
электролитную емкость с заправочным отверстием в ее верхней части, расходуемый
металлический анод плоской формы, помещенный в электролитную емкость,
газодиффузионный катод, расположенный на некотором расстоянии от рабочей поверхности
анода и свободно омываемый снаружи газом, например воздухом, газосборную камеру,
отличающийся тем, что в верхней части электролитной емкости вокруг заправочного
отверстия имеется непрерывный конический выступ, выполняющий роль лабиринтного
уплотнения, в средней части боковых стенок электролитной емкости и в ее нижней части
выполнено по два ограничительных выступа, в нижней части электролитной емкости V
образована камера Vшл для сбора шлама с соотношением объемов V : Vшл = 5 - 15,
толщина анода в пределах 1 - 3 мм составляет 0,05 - 0,50 от величины межкатодного зазора,
объем электролитной емкости определяется выражением:
V = Vэл + Vан;
Vэл = qэл · Q · n · k1;
Vан = (qэх + qкор) · Q · n · k2;
где V - объем электролитной емкости, см3;
Vэл - объем электролита, см3;
Vан - объем анода, см3;
qэл - удельный расход воды из электролита, см3/А·ч;
qэх - удельный расход алюминия на электрохимическую реакцию см3/А·ч;
qкор - удельный расход алюминия на коррозию, см3/А ч;
Q - емкость элемента за один цикл, А·ч;
n - количество циклов;
K1 = (0,44 - 1,45) - конструктивный коэффициент;
K2 = (1,97 - 1,49) - конструктивный коэффициент;
а соотношение длины а, ширины b и высоты с составляет 1 : 0,38 : 2,7; 1 : 0,35 : 3,1; 1 : 0,33 : 3,9.
2. Первичная воздушно-металлическая батарея, содержащая корпус, крышку, по крайней мере один воздушно-металлический гальванический элемент, отличающаяся тем, что в качестве такого элемента взят элемент по п.1.
3. Способ эксплуатации воздушно-металлического гальванического элемента и батареи на его основе путем разряда, замены анодов и электролита свежими, промывка элемента, отличающийся тем, что аноды предварительно обрабатывают в водном растворе гидроокиси натрия концентрацией (2 - 5) моль/л с добавкой трехводного натрий метастанната с концентрацией (0,01 - 0,10) моль/л.
Версия для печати
Дата публикации 13.01.2007гг
Created/Updated: 25.05.2018
|







