| Начало раздела Производственные, любительские Радиолюбительские Авиамодельные, ракетомодельные Полезные, занимательные | Хитрости мастеру Электроника Физика Технологии Изобретения | Тайны космоса Тайны Земли Тайны Океана Хитрости Карта раздела | |
| Использование материалов сайта разрешается при условии ссылки (для сайтов - гиперссылки) | |||
Навигация: => | На главную/ Каталог патентов/ В раздел каталога/ Назад / |
|
ИЗОБРЕТЕНИЕ
Патент Российской Федерации RU2280924
![]()
ЭЛЕКТРОХИМИЧЕСКИЙ ГЕНЕРАТОР НА ОСНОВЕ ВОДОРОДНО-КИСЛОРОДНЫХ
ТОПЛИВНЫХ ЭЛЕМЕНТОВ
Имя изобретателя: Каричев Зия Рамизович (RU)
Имя патентообладателя: Каричев Зия Рамизович (RU)
Адрес для переписки: 129626, Москва, Кучин пер., 12, кв.1, З.Р. Каричеву
Дата начала действия патента: 2005.01.31
Изобретение относится к области электротехники, в частности к особенности выполнения электрохимическиих генераторов (ЭХГ) на основе топливных элементов (ТЭ) со щелочным электролитом, и может быть использовано при производстве указанных генераторов. Согласно изобретению ЭХГ содержит батарею топливных элементов (БТЭ), системы подачи и продувки водорода и кислорода, контур циркуляции электролита с насосом, теплообменником, нагревателем и электролитной емкостью с датчиком уровня электролита, размещенной под БТЭ, при этом БТЭ выполнена из двух блоков, каждый из которых состоит из набора модулей ТЭ фильтпрессной конструкции с внутренними коллекторами водорода, кислорода и электролита, при этом на магистралях соединения блоков по водороду и кислороду установлены влагоотделители с дренажными клапанами, выходы которых соединены с электролитной емкостью. Техническим результатом изобретения является повышение надежности работы ЭХГ.
ОПИСАНИЕ ИЗОБРЕТЕНИЯ
Изобретение относится к области электрохимических генераторов (ЭХГ) на основе топливных элементов (ТЭ) со щелочным электролитом и может быть использовано при производстве указанных генераторов.
Известен ЭХГ на основе водородно-кислородных ТЭ, содержащий батарею ТЭ, системы подачи и продувки водорода и кислорода, контур циркуляции электролита с насосом, теплообменником, электролитной емкостью с датчиками температуры и уровня электролита (см. пат. США 3935028, кл. Н 01 М 8/04, 1976).
Недостатком данного ЭХГ являетсясложность его эксплуатации при запуске и остановке, связанная со сливом, заправкой и разогревом электролита.
Из известных ЭХГ наиболее близким по совокупности существенных признаков и достигаемому техническому результату является ЭХГ на основе водородно-кислородных ТЭ, содержащий батарею топливных элементов, системы подачи и продувки водорода и кислорода, контур циркуляции электролита с насосом, теплообменником, нагревателем и электролитной емкостью с уровня электролита, размещенной под батареей топливных элементов (см. пат. РФ №2245594, кл. Н 01 M 8/04, 27.01.2005).
Недостатком указанного ЭХГ являетсясложность его эксплуатации, связанная с удалением и сбором капельной жидкости из газовых магистралей батареи топливных элементов.
Задачей изобретения является созданиенадежного в эксплуатации ЭХГ, лишенного указанных недостатков.
Указанный технический результат достигается тем, что ЭХГ на основе водородно-кислородных ТЭ содержит батарею топливных элементов (БТЭ), системы подачи и продувки водорода и кислорода, контур циркуляции электролита с насосом, теплообменником, нагревателем и электролитной емкостью с датчиком уровня электролита, размещенной под БТЭ, при этом согласно изобретению БТЭ выполнена из двух блоков, каждый из которых состоит из набора модулей ТЭ фильтр-прессной конструкции с внутренними коллекторами водорода, кислорода и электролита, при этом на магистралях соединения блоков по водороду и кислороду установлены влагоотделители с дренажными клапанами, выходы которых соединены с электролитной емкостью.
Такое выполнение БТЭ и наличие между блоками влагоотделителей и дренажных клапанов позволяет повысить надежность эксплуатации ЭХГ за счет уменьшения гидравлического сопротивления по водороду и кислороду, а и за счет отделения и удаления влаги из соединительных магистралей между блоками.
Целесообразно, чтобы ТЭ в модулях были соединены по водороду и кислороду параллельно, а модули в блоках соединены по водороду и кислороду параллельно последовательно.
Такое соединение ТЭ по водороду и кислороду позволяет уменьшить гидравлическое сопротивление, повысить надежность эксплуатации ЭХГ.
Целесообразно, чтобы модули ТЭ в батарее были соединены по электролиту параллельно, при этом вход электролита выполнен в нижние электролитные коллектора БТЭ, а выход электролита выполнен из верхних электролитных коллекторов БТЭ.
Подача электролита в нижние коллектора БТЭ, а выход из верхних коллекторов позволяет обеспечить вынос газовых пузырей из электролитных полостей ТЭ, что повышает надежность эксплуатации ЭХГ.
Целесообразно, чтобы контур циркуляции электролита через дренажный клапан был соединен с электролитной емкостью.
Наличие дренажного клапана, соединенного с электролитной емкостью, упрощает заправку и слив электролита при запуске и останове ЭХГ.
Целесообразно, чтобы БТЭ была снабжена датчиком температуры, расположенным на выходе электролита из БТЭ.
Наличие датчика температуры на выходе электролита позволяет контролировать и поддерживать рабочую температуру в заданном диапазоне, что повышает надежность эксплуатации ЭХГ.
Целесообразно, чтобы система подачи водорода и кислорода для обеспечения реверсивной подачи включала два кислородных и два водородных клапана, при этом одни водородный и кислородный клапаны подключены к одному блоку БТЭ, а другие подключены к другому блоку БТЭ.
Целесообразно, чтобы система продувки водорода и кислорода включала два кислородных и два водородных клапана, при этом одни водородный и кислородный клапаны подключены к одному блоку БТЭ, а другие подключены к другому блоку БТЭ.
Указанное выполнение систем подачи и продувки водорода и кислорода повышает надежность эксплуатации ЭХГ за счет реверса подачи реагентов и надежного удаления инертных примесей из газовых полостей ТЭ.
Целесообразно, чтобы в исходном состоянии свободный объем Vсв электролитной емкости контура циркуляции электролита, предназначенный для накопления образующейся в ТЭ воды, определялся выражением
Vсв =Vн(Сн
н-С
к)/Ск
к, где Vсв - свободный объем
электролитной емкости, (л), Vн, Vк- начальный и конечный объемы электролита в
емкости соответственно (л), Сн , Ск- начальная и конечная концентрации (%)
электролита в емкости, размещенной под
батареей топливных элементов,
н,
к - начальная и конечная плотности
электролита в емкости (кг/л).
Правильный выбор свободного объема электролитной емкости обеспечивает накопление образующейся в ТЭ воды при изменении концентрации электролита в допустимом диапазоне и сохранении электрических характеристик.
Целесообразно, чтобы электролитная емкость была выполнена в виде двух сосудов равного объема, сообщающихся в нижней части по электролиту.
Такое выполнение электролитной емкости упрощает компоновку ЭХГ и уменьшает его габариты.
Целесообразно, чтобы выход дренажного клапана на магистрали соединения блоков БТЭ по водороду был соединен с одним сосудом электролитной емкости, а выход дренажного клапана на магистрали соединения блоков БТЭ по кислороду соединен с другим сосудом.
Соединение дренажных клапанов с разными сосудами электролитной емкости предотвращает смешение водорода и кислорода в емкости и образование взрывоопасной газовой смеси. Это предотвращает возможность взрыва и повышает эксплуатационную надежность ЭХГ.
Проведенный анализ уровня техники показал, что заявленная совокупность существенных признаков, изложенная в формуле изобретения, неизвестна. Это позволяет сделать вывод о ее соответствии критерию "новизна".
Для проверки соответствия заявленного изобретения критерию "изобретательский уровень" проведен дополнительный поиск известных технических решений с целью выявления признаков, совпадающих с отличительными от прототипа признаками заявленного технического решения. Установлено, что заявленное техническое решение не следует явным образом из известного уровня техники. Следовательно, заявленное изобретение соответствует критерию "изобретательский уровень".
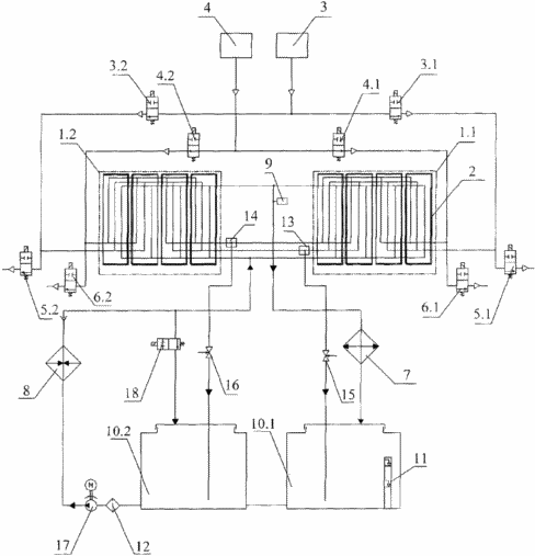
Сущность изобретения поясняется чертежом и описанием работы заявленного ЭХГ.

На чертеже представлена принципиальная пневмогидравлическая схема заявленного ЭХГ.
Заявленный ЭХГ содержит БТЭ, состоящую из двух блоков 1.1 и 1.2, каждый из которых состоит из набора модулей ТЭ 2, систему подачи водорода 3 с клапанами 3.1 и 3.2, систему подачи кислорода 4 с клапанами 4.1 и 4.2, систему продувки водорода с клапанами 5.1 и 5.2, систему продувки кислорода с клапанами 6.1 и 6.2, контур циркуляции электролита с насосом 17, теплообменником 7, нагревателем 8, датчиком температуры 9, электролитной емкостью с датчиком уровня электролита 11. Электролитная емкость может быть выполнена из двух сосудов 10.1 и 10.2 равного объема, сообщающихся по электролиту. Датчик температуры 9 расположен на выходе электролита из БТЭ, что позволяет контролировать температуру БТЭ. На магистрали соединения блоков по водороду и кислороду установлены влагоотделители 13 и 14 соответственно. Влагоотделители 13 и 14 соединены с дренажными клапанами 15 и 16 соответственно. Дренажный клапан 15 соединен с одним сосудом 10.1, дренажный клапан 16 соединен с сосудом 10.2 электролитной емкости. Контур циркуляции электролита может дополнительно содержать механический фильтр 12. Подача электролита насосом 17 в БТЭ производится снизу, а отвод из батареи в емкость электролита 10 производится сверху. Слив электролита из контура осуществляется через дренажный клапан 18.
Сведения, подтверждающие возможность осуществления изобретения.
ЭХГ работает следующим образом. Система подачи водорода 3 и кислорода 4 периодически через клапаны 3.1 и 4.1 или через клапаны 3.2 и 4.2 обеспечивает подачу реагентов в ТЭ, которые потребляются на реакцию и обеспечивают генерацию тока. Выделяющееся тепло отводится циркулирующим электролитом и сбрасывается в теплообменнике 7. Продувка ТЭ от инертных примесей, содержащихся в рабочих газах, осуществляется периодически посредством системы продувки водорода и кислорода через клапаны 5.1 и 6.1 или через клапаны 5.2 и 6.2. На магистралях соединения блоков по водороду и кислороду установлены влагоотделители 13 и 14 соответственно. Влагоотделители 13 и 14 соединены с дренажными клапанами 15 и 16 соответственно. Дренажный клапан 15 соединен с сосудом 10.1, дренажный клапан 16 соединен с сосудом 10.2. Влагоотделители обеспечивают удаление жидкой фазы из потоков водорода и кислорода, слив которой осуществляется через дренажные клапаны 15 и 16 в сосуды 10.1 и 10.2 соответственно. Водород и кислород вместе с дренажной жидкостью попадают в разные сосуды электролитной емкости, что предотвращает смешивание газов и образование взрывоопасной смеси. Датчик уровня 11 обеспечивает контроль уровня электролита, что обеспечивает контроль объема и концентрации электролита в контуре циркуляции. Нагреватель 8 используется при запуске ЭХГ от температуры окружающей среды и поддержания заданной температуры БТЭ при малых нагрузках. Датчик температуры 9 предназначен для контроля температуры электролита и используется для ее поддержания в заданном диапазоне. Дренажный клапан 18 предназначен для слива электролита из БТЭ при длительных остановках ЭХГ.
На основании вышеизложенного можно сделать вывод, что заявленный ЭХГ может быть реализован на практике с достижением заявленного технического результата, т.е. он соответствует критерию «промышленная применимость».
ФОРМУЛА ИЗОБРЕТЕНИЯ
- Электрохимический генератор на основе водородно-кислородных топливных элементов, содержащий батарею топливных элементов, системы подачи и продувки водорода и кислорода, контур циркуляции электролита с насосом, теплообменником, нагревателем и электролитной емкостью с датчиком уровня электролита, размещенной под батареей топливных элементов, отличающийся тем, что батарея топливных элементов выполнена из двух блоков, каждый из которых состоит из набора модулей топливных элементов фильтпрессной конструкции с внутренними коллекторами водорода, кислорода и электролита, при этом на магистралях соединения блоков по водороду и кислороду установлены влагоотделители с дренажными клапанами, выходы которых соединены с электролитной емкостью.
- Электрохимический генератор по п.1, отличающийся тем, что топливные элементы в модулях соединены по водороду и кислороду параллельно, а модули в блоках соединены по водороду и кислороду параллельно последовательно.
- Электрохимический генератор по п.1, отличающийся тем, что модули топливных элементов в батарее соединены по электролиту параллельно, при этом вход электролита выполнен в нижние электролитные коллектора батареи, а выход электролита выполнен из верхних электролитных коллекторов батареи.
- Электрохимический генератор по п.1, отличающийся тем, что контур циркуляции электролита через дренажный клапан соединен с электролитной емкостью.
- Электрохимический генератор по п.1, отличающийся тем, что батарея топливных элементов снабжена датчиком температуры, расположенным на выходе электролита из батареи топливных элементов.
- Электрохимический генератор по п.1, отличающийся тем, что система подачи водорода и кислорода для обеспечения реверсивной подачи, включает два кислородных и два водородных клапана, при этом одни водородный и кислородный клапаны подключены к одному блоку батареи, а другие подключены к другому блоку батареи.
- Электрохимический генератор по п.1, отличающийся тем, что система продувки водорода и кислорода включает два кислородных и два водородных клапана, при этом одни водородный и кислородный клапаны подключены к одному блоку батареи, а другие подключены к другому блоку батареи.
- Электрохимический генератор по
п.1, отличающийся тем, что в исходном
состоянии свободный объем Vсв электролитной емкости контура
циркуляции электролита, предназначенный
для накопления образующейся воды,
определяется выражением Vсв=V н(Сн
н-Ск
к)/Сн
к, где Vсв - свободный объем
электролитной емкости, (л), Vн, Vн - начальный и конечный объемы электролита
в емкости соответственно (л), Сн , Сн - начальная и конечная концентрации
электролита в емкости (%),
н,
к - начальная и конечная плотности
электролита в емкости (кг/л). - Электрохимический генератор по п.1 или 8, отличающийся тем, что электролитная емкость выполнена в виде двух сосудов равного объема, сообщающихся в нижней части по электролиту.
- Электрохимический генератор по п.9, отличающийся тем, что выход дренажного клапана на магистрали соединения блоков по водороду соединен с одним сосудом, а выход дренажного клапана на магистрали соединения блоков по кислороду соединен с другим сосудом.
Версия для печати
Дата публикации 23.12.2006гг
Created/Updated: 25.05.2018
|
