| Начало раздела Производственные, любительские Радиолюбительские Авиамодельные, ракетомодельные Полезные, занимательные | Хитрости мастеру Электроника Физика Технологии Изобретения | Тайны космоса Тайны Земли Тайны Океана Хитрости Карта раздела | |
| Использование материалов сайта разрешается при условии ссылки (для сайтов - гиперссылки) | |||
Навигация: => | На главную/ Каталог патентов/ В раздел каталога/ Назад / |
|
ИЗОБРЕТЕНИЕ
Патент Российской Федерации RU2214670
![]()
ДИАМАГНИТНО-ТЕПЛОВОЙ СПОСОБ ГЕНЕРИРОВАНИЯ ПЕРЕМЕННОЙ э.д.с.
Имя изобретателя: Киселёв Валерий Семёнович
Имя патентообладателя: Киселёв Валерий Семёнович
Адрес для переписки: 353831, Краснодарский край, Красноармейский р-н, ст. Новомышастовская, ул. Шевченко, 60, В.С. Киселеву
Дата начала действия патента: 2001.02.21
Изобретение относится к электротехнике и может быть использовано в электрогенераторах и других электромашинах, используемых в различных областях хозяйственной деятельности человека. Диамагнитно-тепловой способ генерирования переменной э.д.с. заключается в том, что в сверхпроводящем слое статора, которым оснащена электромашина, путем последовательного нагревания определенных областей указанного сверхпроводящего слоя до температуры, нарушающей сверхпроводимость и диамагнетизм, создают, удерживают и перемещают "нормальную зону", окруженную сверхпроводящим "диамагнитным барьером". Рабочий магнитный поток, проходящий через "нормальную зону", перемещают посредством перемещения указанной "нормальной зоны". Силовые магнитные линии перемещающегося рабочего магнитного потока, пересекая проводники неподвижной обмотки статора, закрепленной на магнитопроводе, индуцируют в них э.д.с.Рабочий магнитный поток электромашины может создаваться кольцевым электрическим током, протекающим в сверхпроводящем слое статора вокруг "нормальной зоны", или иным источником. Технический результат заключается в повышении надежности, т.к. устройства, реализующие данный способ, не имеют движущихся частей, а и в обеспечении универсальности питания за счет возможности использования как тепловой энергии, так и энергии других видов, легко преобразующейся в тепло.
ОПИСАНИЕ ИЗОБРЕТЕНИЯ
Изобретение относится к области электроэнергетики и может найти применение в электрогенераторах и других электромашинах, используемых в различных областях хозяйственной деятельности человека.
Известны способы генерирования э.д.с., основанные на изменении величины магнитного потока, пронизывающего замкнутый контур. Они широко используются в электрогенераторах как переменного, так и постоянного тока.
Наиболее близким к предлагаемому является способ, применяемый в генераторах переменного тока, заключающийся в том, что на неподвижную обмотку статора воздействуют вращающимся магнитным полем ротора. При этом витки статорной обмотки пересекаются меняющимся по направлению магнитным потоком ротора и в них индуктируется переменная э.д.с. (В.Ю. Ломоносов и К.М. Поливанов. Электротехника. - М., 1949. с. 173-174).
Недостатком упомянутого способа является то, что для создания вращающегося магнитного поля применяют вращающийся ротор. Это делает электрогенераторы, работающие на таком принципе, менее надежными, чем электромашины, не имеющие движущихся частей.
Задачей, на решение которой направлено изобретение, является увеличение возможностей и расширение области применения электрогенераторов и других электромашин.
Техническим результатом изобретения является увеличение надежности электрогенераторов и других электромашин и возможность приведения их в действие различными видами энергии.
Решение упомянутой задачи достигается тем, что по способу генерирования переменной э.д.с., заключающемуся в том, что на неподвижную обмотку электромашины, закрепленную на магнитопроводе статора, воздействуют перемещающимся рабочим магнитным потоком, силовые магнитные линии которого пересекают витки неподвижной обмотки и индуктируют в них переменную э.д.с.Перемещающийся рабочий магнитный поток, замыкающийся через "нормальную зону" сверхпроводящего слоя статора электромашины, приводится в движение перемещающимся сверхпроводящим "диамагнитным барьером", окружающим "нормальную зону", а "нормальная зона" создается и перемещается по сверхпроводящему слою статора электромашины при помощи перемещающегося теплового пятна, которое временно нарушает (с последующим восстанавливанием) диамагнитные и сверхпроводящие свойства прогреваемых областей сверхпроводящего слоя статора электромашины.
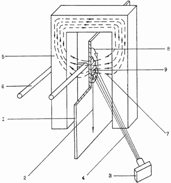
![]() | На чертеже изображена рабочая модель, демонстрирующая принцип действия устройств, реализующих способ. Сна состоит из статора, сверхпроводящий слой которого выполнен в виде находящейся в сверхпроводящем состоянии неподвижно стоящей пластины 1 (на чертеже верхняя левая часть пластины вырезана). Для создания "нормальной зоны" 9, перемещающейся по линии 2, имеется теплоизлучатель 3, излучающий тепловой луч 4. На магнитопроводе 5 закреплена обмотка 6. Способ генерирования переменной э.д.с.заключается в том, что перемещающийся рабочий магнитный поток 7, создаваемый кольцевым электрическим током 8, протекающим в сверхпроводящем слое статора 1 вокруг "нормальной зоны" 9, замыкается через магнитопровод 5. При перемещении "нормальной зоны" 9 по сверхпроводящему слою статора 1 по линии 2 вместе с "нормальной зоной" переместится и окруженный сверхпроводящим "диамагнитным барьером" перемещающийся рабочий магнитный поток 7, так как сверхпроводящий "диамагнитный барьер" (участок сверхпроводящего слоя статора, окружающий "нормальную зону" и обладающий сверхпроводящими и диамагнитными свойствами), служа препятствием для магнитного поля, увлечет его за собой. При этом перемещающийся рабочий магнитный поток пересечет силовыми магнитными линиями обмотку 6, закрепленную на магнитопроводе 5, в результате чего в обмотке будет индуктироваться э.д.с.Достигнув определенной конечной точки, "нормальная зона" изменит направление перемещения на противоположное и перемещающийся рабочий магнитный поток 7 пересечет обмотку 6 в противоположном направлении, индуктируя в ней э.д.с. обратного знака. При многократном повторении цикла в обмотке будет индуктироваться переменная э.д.с., частоту и амплитуду которой можно изменять в широких пределах. |
Кольцевой электрический ток 8, протекающий в сверхпроводящем слое статора 1 вокруг "нормальной зоны" 9, можно получить следующим образом. На находящемся в сверхпроводящем состоянии (охлажденном до температуры ниже Т-критической) сверхпроводящем слое статора 1 путем нагрева определенной его области, не граничащей с краем пластины, до температуры выше Т-критической создают "нормальную зону" 9 (не обладающую сверхпроводящими и диамагнитными свойствами). Далее берут кольцо из проводящего материала и приближают к центру его окружности один из полюсов постоянного магнита. Так как магнитные силовые линии пересекут проводник, то в нем наведется э.д.с. и потечет кольцевой ток, который быстро затухнет. После этого проводящее кольцо вместе с магнитом прикладывают к сверхпроводящему слою статора 1 таким образам, чтобы оно по всей окружности имело электрический контакт со сверхпроводником, а "нормальная зона" 9 располагалась напротив отверстия кольца. Сверхпроводник, обладая диамагнитными свойствами, не пропустит магнитное поле внутрь себя и силовые магнитные линии в значительной мере сконцентрируются в проводящем кольце. Затем магнит убирают. Силовые магнитные линии, пересекая проводник, наведут в нем э.д.с.и вызовут кольцевой электрический ток. Поскольку проводящее кольцо по всей окружности имеет электрический контакт со сверхпроводником, а электрический ток течет по пути наименьшего сопротивления, то кольцевой ток, наведенный в проводящем кольце, практически мгновенно переместится в сверхпроводник, окружающий "нормальную зону" на сверхпроводящем слое статора. После этого проводящее кольцо отделяют от сверхпроводящего слоя статора. Так как проводник не имеет электрического сопротивления, то кольцевой ток 8 будет циркулировать вокруг "нормальной зоны" 9 не затухая.
"Нормальную зону" 9 создают, удерживают и перемещают по сверхпроводящему слою статора 1 путем нагрева определенных его областей тепловым лучом 4 до температуры выше Т-критической. При этом нагретая область скачкообразно меняет свои свойства. Сверхпроводимость и диамагнетизм в ней исчезают.
Непременным условием работоспособности устройства является постоянное поддержание сверхпроводящего слоя статора 1 в сверхпроводящем состоянии (в описываемом случае процесс должен протекать в среде с температурой ниже Т-критической). После перемещения теплового пятна температура прогреваемой до этого области должна опуститься ниже Т-критической. Сверхпроводящие и диамагнитные свойства должны в ней восстановиться. и необходимо, чтобы "нормальная зона" не граничила с краем сверхпроводящего слоя статора. В противном случае сверхпроводящий "диамагнитный барьер", окружающий "нормальную зону", разорвется.
"Нормальных зон" на сверхпроводящем слое статора электромашины может быть несколько. Перемещающийся рабочий магнитный поток помимо кольцевого электрического тока может создаваться и другими способами, например при помощи постоянного или электромагнита. В этом случае перемещающийся рабочий магнитный поток окружается сверхпроводящим "диамагнитным барьером" следующим образом. На сверхпроводящем слое статора электромашины создается "нормальная зона", граничащая с краем. В эту зону вводится перемещающийся рабочий магнитный поток, после чего участок "нормальной зоны", прилегающий к краю, вновь переводится в сверхпроводящее состояние. Сверхпроводящий "диамагнитный барьер", окружающий "нормальную зону" с проходящим через нее перемещающимся рабочим магнитным потоком, замкнется. Далее, перемещая по сверхпроводящему слою статора "нормальную зону", мы будем перемещать и окружающий ее свехпроводящий "диамагнитный барьер", который увлечет за собой перемещающийся рабочий магнитный поток.
Так как тепловое пятно, создающее "нормальную зону", можно получить различными способами (тепловой излучатель либо излучатель другого вида энергии, преобразующейся при контакте с сверхпроводящим слоем в тепло, расположенные на сверхпроводящем слое последовательно включаемые теплонагревательные элементы и т.п.), устройства, реализующие способ, могут питаться различными видами энергии.
ФОРМУЛА ИЗОБРЕТЕНИЯ
Диамагнитно-тепловой способ генерирования переменной э.д.с., заключающийся в том, что на неподвижную обмотку, закрепленную на магнитопроводе статора, воздействуют перемещающимся рабочим магнитным потоком, индуцирующим в ней переменную э. д.с., отличающийся тем, что в статоре, имеющем сверхпроводящий слой, путем последовательного нагревания определенных областей указанного сверхпроводящего слоя до температуры, нарушающей его сверхпроводящие и диамагнитные свойства, создают, удерживают и перемещают "нормальную зону", посредством которой перемещается зажатый в диамагнитное кольцо указанный рабочий магнитный поток, создаваемый, например, электрическим током, протекающим в указанном сверхпроводящем слое вокруг указанной "нормальной зоны".
Версия для печати
Дата публикации 29.11.2006гг
Created/Updated: 25.05.2018
|

