| Начало раздела Производственные, любительские Радиолюбительские Авиамодельные, ракетомодельные Полезные, занимательные | Хитрости мастеру Электроника Физика Технологии Изобретения | Тайны космоса Тайны Земли Тайны Океана Хитрости Карта раздела | |
| Использование материалов сайта разрешается при условии ссылки (для сайтов - гиперссылки) | |||
Навигация: => | На главную/ Каталог патентов/ В раздел каталога/ Назад / |
|
ИЗОБРЕТЕНИЕ
Патент Российской Федерации RU2083869
![]()
ПРИБОЙНАЯ ГИДРОЭЛЕКТРОСТАНЦИЯ
Имя изобретателя: Судиловский Анатолий Георгиевич[UA]
Имя патентообладателя: Судиловский Анатолий Георгиевич[UA]
Адрес для переписки:
Дата начала действия патента: 1993.09.09
Использование: в гидроэнергетике, а частности к прибойным гидроэлектростанциям. Сущность изобретения: прибойная гидроэлектростанция, устанавливаемая на прибрежном гидротехническом сооружении, содержит гидротурбину с электрогенератором и установленный перед гидротехническим сооружением со стороны водоема волноприемный рабочий орган с поршневыми насосами, трубопроводами и обратными клапанами, подключенными к гидротурбине, при этом волноприемный рабочий орган выполнен в виде поплавка, установленного внутри вертикальной рамы с возможностью перемещения, а поршневые насосы параллельно подключены к коллектору через обратные клапаны, причем гидроэлектростанция снабжена, по меньшей мере, одним дополнительным поплавком, установленным внутри вертикальной рамы с возможностью перемещения, а рамы установлены на гидротехническом сооружении возможностью перемещения в горизонтальной плоскости.
ОПИСАНИЕ ИЗОБРЕТЕНИЯ
Изобретение относится к гидроэнергенике, а более конкретно к гидроэлектростанциям, использующим энергию прибойной и отраженной волн, возникающих на существующих прибрежных гидротехнических сооружениях, например, на оградительных волноломах портов, пирсах, молах, расположенных у берегов морей, океанов и других крупных водоемов естественного и искусственного происхождения.
Известная прибойная гидроэлекторстанция, устанавливаемая на волнорезе содержит рабочий орган с поршневыми насосами, гидротурбину и связанный с ней электрогенератор.
Рабочий орган представляет собой ряд установленных вдоль волнореза сферической формы поплавков, которые шарнирно присоединены к кронштейнам, закрепленными на перемещаемой по волнорезу раме.
Между поплавками и рамой под уровнем воды установлены поршневые насосы, выполненные в виде цилиндров с подпружиненными поршнями.
Поплавки приводят в действие подпружиненные поршни, перемещающиеся в цилиндрах снабженных отверстиями для заполнения их водой и телескопическими трубами с коллектором для подачи воды под давлением к гидротурбине.
Последняя вместе с электрогенератором установлена на гребне волнореза, а рама на его стене, обращенной к открытому морю.
В исходном положении цилиндры заполнены водой, а поршни и связанные с ними шарнирно с помощью рычагов поплавки находятся в крайнем левом положении.
Под действием набегающей прибойной волны поплавки приближаются к стенке волнореза и, сжимая поршнями воду в цилиндрах нагнетают ее по телескопическим трубам наверх к гидротурбине, которая вращаясь приводит в действие электрогенератор.
Сложность конструкции, обусловленная наличием рычагов с шарнирами, подвижной рамы с кронштейнами и телескопических нагнетательных труб.
Не используется энергия стоячей волны, возникающей при сложении набегающей прибойной и отраженной волн.
Указанные недостатки частично устранены в известном устройстве, устанавливаемом на волноломе.
Устройство содержит волноприемный рабочий орган с поршневыми насосами, трубопроводами и обратными клапанами и гидротурбину с электрогенератором.
Волноприемный рабочий орган выполнен в виде неподвижно установленной в водоем на некотором расстоянии перед волноломом вертикальной рамы с направляющими и установленного внутри рамы с возможностью перемещения асимметричного поплавка, который одновременно качается вокруг горизонтальной оси.
Последняя перемещается вертикально благодаря роликам зажатым между направляющими и соединяет поплавок с парным поршневым насосом двойного действия.
Поплавок имеет пластинчатый выступ, расположенный с одной стороны от оси и предназначенный для восприятия набегающих волн.
На противоположной стороне поплавка предусмотрен рычажный выступ, с помощью которого поплавок поворотно соединен посредством второй оси со вторым парным поршневым насосом двойного действия.
Устройство снабжено специальной рабочей площадкой для обслуживания оборудования и переходным мостиком для соединения с волноломом.
Поплавок имеет несколько камер, которые можно затоплять водой для изменения плавучести поплавка при изменении силы волнения.
При набегании волны на пластичный выступ поплавка последний испытывает вертикальную качку, энергия которой преобразуется в давление гидравлической жидкости в первом парном поршневом насосе двойного действия.
Одновременно энергия качания поплавка вокруг оси преобразуется в давление гидравлической жидкости во втором парном поршневом насосе.
Затем гидравлическая жидкость из насосов через трубопроводы и обратные клапаны направляется в гидротурбину, которая вращает электрогенератор.
Низкий КПД, поскольку асимметричный поплавок с односторонним пластинчатым выступом не позволяет использовать энергию отраженной волны.
Необходимость крепления вертикальной рамы с поплавком в морском дне, наличие рабочей площадки и мостика усложняет конструкцию прибойной гидроэлектростанции.
Диапазон длин используемых стоячих волн ограничен и не может быть менее расстояния от вертикальной рамы до волнолома.
Задачей изобретения является повышение КПД, упрощение конструкции прибойной гидроэлектростанции и расширения диапазона длин используемых стоячих волн.
Указанный технический результат достигается тем, что известная прибойная гидроэлектростанция, устанавливаемая на прибрежном гидротехническом сооружении, содержащая гидротурбину с электрогенератором и установленный перед гидротехническим сооружением со стороны водоема волноприемный рабочий орган с поршневыми насосами, трубопроводами и обратными клапанами, подключенными к гидротурбине, при этом волноприемный рабочий орган выполнен в виде поплавка, установленного внутри вертикальной рамы с возможностью перемещения, а поршневые насосы параллельно подключены к коллектору через обратные клапаны снабжения, по меньшей мере, одним дополнительным поплавком, установленным внутри вертикальной рамы с возможностью перемещения, а рамы установлены на гидротехническом сооружении с возможностью перемещения в горизонтальной плоскости.
Рамы могут быть выполнены подвижными с помощью гидроцилиндров.
Выполнение рам подвижными с помощью гидроцилиндров дает возможность осуществить регулирование и стабилизацию нагрузки прибойной гидроэлектростанции при изменении силы волнения.
![]() | ![]() | |
![]() | ![]() | |
![]() | ![]() | На фиг. 1 изображен общий вид прибойной гидроэлектростанции; на фиг. 2 - план на фиг.1; на фиг. 3 вид А на фиг.2; на фиг. 4 общий вид поршневого насоса в разрезе; на фиг. 5 разрез по Б-Б на фиг. 4; на фиг. 6 разрез по В-В на фиг. 5. Прибойная гидроэлектростанция содержит волнолом 1 (существующий), поплавки 2,3, рамы 4, поршневые насосы 5, фундаментные плиты 6, гидроцилиндры 7, компенсаторы 8, клапаны 9,10 обратные, коллектор 11 и гидротурбину 12 с электрогенератором 13. Волнолом 1 представляет собой существующий оградительный волнолом морского порта, который сооружается для защиты ветровых волн акватории рейдовых причалов, подходов к каналам и шлюзам или другое прибрежное гидротехническое сооружение. Волнолом служит для образования стоячей волны, установки с определенным шагом по длине на расположенной со стороны открытого моря части волнолома поплавков 2, 3, рам 4, поршневых насосов 5, фундаментных плит 6, прокладки на нем коллектора 11, а и установки гидротурбины 12 и электрогенератора 13. Поплавки 2, 3 предназначены для преобразования кинетической энергии стоячей воды в выталкивающую силу, а и создания сцепления с жидкостью и выполнены в виде закрытых полых емкостей прямоугольного сечения. |
Принятая форма поплавков позволяет исключить их случайный поворот в рамах 4 вокруг вертикальной оси под воздействием косонабегающей на волнолом 1 прибойной и отраженной волн.
Для передачи возникающих усилий штокам поршневых насосов 5 и шарнирного соединения с ними на каждом поплавке 2,3 в верхней части посредине имеется кронштейн с отверстием.
Поплавки располагаются по длине волнолома с определенным шагом, что позволяет минимизировать пульсации воды в коллекторе 11 в результате последовательного срабатывания и автоматического отключения поршневых насосов, связанных с соответствующими поплавками, по мере перемещения стоячей волны вдоль волнолома.
Рамы 4 служат для подвижного крепления поплавков 2,3 в зоне образования стоячей волны, образующейся на волноломе со стороны открытого моря и возможности перемещения поплавков перпендикулярно волнолому для регулирования и стабилизации нагрузки прибойной гидроэлектростанции.
Каждая рама представляет собой жесткую пространственную конструкцию прямоугольного сечения с открытыми торцами, установленную вертикально в вырезе консольной части фундаментной плиты 6.
В нижней части рам 4 расположены поплавки 2, 3, а в верхней с помощью осей шарнирно крепятся цилиндры поршневых насосов 5.
Внутренние размеры рам в плане несколько превышают соответствующие размеры поплавков для возможности возвратно-поступательного перемещения последних внутри рам на высоту стоячей волны.
По высоте рам 4 на некотором расстоянии от нижних торцов на каждой из них имеются две расположенные друг против друга горизонтальные опорные плиты, которые с помощью Z-образных направляющих и гидроцилиндров 7 позволяют фиксировать рамы на фундаментных плитах 6 или перемещать их в горизонтальном направлении перпендикулярно волнолому.
Со стороны последнего на рамах 4 имеются кронштейны с отверстиями для шарнирного соединения со штоками гидроцилиндров.
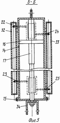
Поршневой насос 5 состоит из цилиндра 14 с крышкой 15, поршня 16 со штоком 17, корпусов 18, 19 клапанных коробок с крышками 20, 21, трубопроводов 22, 23, 24, 25, тарельчатых всасывающих клапанов 26, 27 и нагнетательных клапанов 28, 29, пружин 30, 31, всасывающего коллектора 32, напорного коллектора 33 и скобы 34.
В вертикально расположенном цилиндре 14 нижний торец открыт и снабжен фланцем для крепления крышки 15, а на дне имеется кронштейн с отверстием для шарнирного крепления к верхней части рамы 4 с помощью оси.
Шарнирное соединение поршневого насоса 5 с рамой служит для возможности возвратно-поступательного перемещения поршня 16 со штоком 17 в цилиндре 14 при вертикальном качании заключенного внутри рамы 4 поплавка, в свою очередь, шарнирно соединенного с насосом.
На боковой поверхности цилиндра под углом 90o к плоскости, проходящей через продольные оси цилиндра 14, всасывающего коллектора 32 и напорного коллектора 33 выполнены два окна для соединения его внутренней плоскости с корпусами 18, 19 клапанных коробок.
Для монтажа поршня 16 со штоком 17 на цилиндре 14 имеется фланцевая крышка 15. Пропуск штока в цилиндр осуществляется через отверстие с сальником, расположенное в центре крышки.
Цилиндр 14 для попеременного соединения со всасывающим коллектором 32 и отвода воды под давлением в напорный коллектор 33 снабжен двумя клапанными коробками, расположенными в зоне окон.
Корпуса 18, 19 клапанных коробок выполнены в виде расположенных параллельно продольной оси цилиндра прямоугольных призм, которые со стороны окон имеют дно, а с противоположной стороны открыты и разделены на две равные части горизонтальными перегородками.
Открытые и закрытые торцы корпусов снабжены фланцами для крепления крышек 20, 21 и присоединения к цилиндру 14.
Для монтажа всасывающих клапанов 26, 27, нагнетательных клапанов 28, 29 и пружин 30, 31 в корпусах 18, 19 имеются фланцевые крышки 20, 21.
Все фланцевые соединения по периметру примыкания и горизонтальные перегородки со стороны крышек уплотнены эластичными прокладками.
В боковых стенках корпусов 18,19 выше горизонтальных перегородок, если смотреть со стороны крышек, имеются по одному отверстию для соединения клапанных коробок с помощью трубопроводов 22, 23, со всасывающим коллектором 32, а в дне с внутренней полостью цилиндра.
Аналогичные отверстия в боковых стенках и дне имеются ниже горизонтальных перегородок, если смотреть со стороны крышек, и служат соответственно для соединения клапанных коробок с помощью трубопроводов 24, 25 с напорным коллектором 33 и отвода воды под давлением из внутренней полости цилиндра 14.
Отверстия в дне корпусов клапанных коробок закрыты тарельчатыми всасывающими клапанами 26, 27 и нагнетательными клапанами 28, 29.
Прижатие всасывающих клапанов к входным отверстиям производится с помощью пружин 30, закрепленных одним концом с помощью шайб и шплинтов на стержнях клапанов 26, 27, а другим упирающихся в дно корпусов 18, 19.
Прижатие нагнетательных клапанов к выходным отверстиям осуществляется с помощью пружин 31, упирающихся одним концом в тарелки клапанов 28, 29, а другим в крышки 20, 21 клапанных коробок.
Внутри цилиндра 14 находится поршень 16, который неподвижно закреплен посередине левой утолщенной части штока 17 и может перемещаться возвратно-поступательно под действием качающегося внутри рамы 4 поплавка.
Утолщенные части штока по обе стороны поршня являются упорами, ограничивающими перемещение поршня 16 в зоне окон.
На конце нижней части штока 17 имеется резьба для крепления и фиксации скобы.
Скоба 34 служит для шарнирного соединения штока с качающимся внутри рамы 4 поплавка 2(3) и имеет два соосно расположенных отверстия.
Снаружи цилиндра 14 на боковой поверхности под углом 90o к плоскости, проходящей через продольные оси цилиндра и окон справа, если смотреть со стороны клапанных коробок, имеется всасывающий коллектор 32.
Всасывающий коллектор предназначен для подвода воды из моря во внутреннюю полость цилиндра по трубопроводам 22, 23 и представляет собой закрытую с обоих торцов трубу с подводящим патрубком, который с помощью вертикального трубопровода соединяется с морем.
Снаружи цилиндра 14 на боковой поверхности со стороны диаметрально противоположной всасывающему коллектору 32 имеется напорный коллектор 33.
Напорный коллектор предназначен для сбора воды под давлением, поступающей из внутренней полости цилиндра по трубопроводам 24, 25 и представляет собой закрытую с обоих торцов трубу с отводящим патрубком, который с помощью компенсатора 8 и обратного клапана 9(10) подключается к коллектору 11.
Фундаментные плиты 6 служат для крепления рам 4 и гидроцилиндров 7 и представляют собой каждая жесткую конструкцию неподвижно закрепленную на волноломе и консольно выступающую в сторону открытого моря.
На консольной части плит выполнены прямоугольные вырезы для пропуска рам.
Вырезы в направлении перпендикулярном линии волнолома имеют длину, превышающую соответствующий наружный размер рам на величину равную ходу поршня гидроцилиндра 7, что позволяет осуществлять возвратно-поступательное перемещение рам 4 с поплавками 2(3) и поршневыми насосами 5 при стабилизации нагрузки прибойной гидроэлектростанции.
В состав фундаментных плит 6 входят и съемные Z-образные направляющие, которые устанавливают сбоку с обеих сторон по длине вырезов и позволяют фиксировать рамы на плитах в вертикальном и боковом направлениях и перемещать в продольном. При этом направляющие взаимодействуют с боковыми опорными плитами рам 4.
Гидроцилиндры 7 предназначены для изменения расстояния поплавков 2(3) до волнолома 1 при изменении силы волнения путем соответствующего перемещения рам 4 с качающимися внутри них поплавками.
При этом корпус гидроцилиндра неподвижно крепится к фундаментной плите 6, а шток поршня со скобой на конце, выполненной аналогично скобе 34 поршневого насоса 5 шарнирно к кронштейну рамы.
Компенсаторы 8 служат для шарнирного соединения поршневых насосов 5 с горизонтальными трубопроводами и установленными на них обратными клапанами 9,10, которые, в свою очередь, соединены с коллектором 11 и представляют собой трехшарнирные трубопроводы с двумя концевыми и одним промежуточным шарниром.
Трубы компенсаторов расположены в вертикальной плоскости под определенными острыми углами, в вершинах которых находятся промежуточные шарниры, благодаря чему они могут поворачиваться вокруг шарниров, изменяя углы и одновременно расстояние между концевыми шарнирами, которые с одной стороны крепятся к патрубкам напорных коллекторов 33 поршневых насосов 5, а с другой к соответствующим горизонтальным трубопроводам.
Клапаны обратные 9,10 устанавливаются на горизонтальных трубопроводах, соединяющих компенсаторы 8 с коллектором 11 так, что пропускают воду только в направлении из поршневых насосов 5 через коллектор в гидротурбину и предназначен для непрерывной подачи воды в гидротурбину 12 независимо от того, какие поплавки и связанные с ними насосы в данный момент находятся под воздействием стоячей волны.
Коллектор 1 служит для сбора воды под давлением, поступающей из поршневых насосов 5, а и подвода ее к гидротурбине 12. Коллектор проложен по волнолому и соединен с насосами с помощью горизонтальных трубопроводов, обратных клапанов и компенсаторов.
Гидротурбина 12 связана с электрогенератором 13, который предназначен для электроэнергии.
Гидроэлектростанция работает следующим образом. В исходном положении поршневые насосы 5, коллекторы 32, 33 насосов, компенсаторы 8, горизонтальные трубопроводы с обратными клапанами 9, 10, коллектор 11 гидроэлектростанции и гидротурбина 12 заполнены водой.
Рамы 4 погружены в воду на глубину несколько превышающую глубину погружения поплавков 2, 3, находящихся во впадине стоячей волны.
При этом штоки гидроцилиндров 7 наполовину выдвинуты, а соединенные с ними рамы на такое же расстояние не доходят до стенки волнолома 1.
Рассмотрим работу поплавка 2 внутри рамы 4 и связанного с ним поршневого насоса 5 на волнении.
В процессе сложения набегающей прибойной и отраженной от волнолома волн в зоне расположения поплавка 2 возникает стоячая волна и масса воды начинает подниматься вверх со скоростью, которая уменьшается по мере удаления от стенки волнолома.
Встречая на своем пути ограниченный по периметру рамой 4 поплавок 2 стоячая волна создает выталкивающую силу, под действием которой поплавок поднимается вертикально вверх и с помощью штока 17 перемещает поршень 16 вверх до упора утолщенной части штока в дно цилиндра 14.
По мере повышения давления в верхней части цилиндра сжимается пружина 31 нагнетательного клапана 28, клапан открывается и вода под давлением через корпус 18 клапанной коробки, трубопровод 24, напорный коллектор 33, компенсатор 8, горизонтальный трубопровод, обратный клапан 9, коллектор 11 поступает в гидротурбину 12, вызывая вращение связанного с ней электрогенератора 13.
Происходит первый рабочий ход.
В это время обратный клапан 10 закрыт, так как давление воды перед клапаном со стороны поршневого насоса будет ниже, чем в коллекторе 11.
Одновременно в нижней части цилиндра под давлением разряжения сжимается пружина 30 всасывающего клапана 27, клапан открывается и вода из моря через вертикальный трубопровод, всасывающий коллектор 32, трубопровод 23 и корпус 19 клапанной коробки поступает в цилиндр 14.
Затем за счет сил сцепления с жидкостью ограниченный по периметру рамой 4 поплавок 2 начинает опускаться вертикально вниз во впадину возникшей стоячей волны и с помощью штока 17 перемещает поршень 16 вниз до упора утолщенной части штока 17 в крышку 15 цилиндра.
По мере повышения давления в нижней части цилиндра 14 сжимается пружина 31 нагнетательного клапана 29, клапан открывается и вода под давлением через корпус 19 клапанной коробки, трубопровод 25, напорный коллектор 33, компенсатор 8, горизонтальный трубопровод, обратный клапан 9, коллектор 11 поступает в гидротурбину 12, вызывая вращение связанного с ней электрогенератора 13.
Происходит второй рабочий ход.
В это время обратный клапан 10 и закрыт, так как давление воды перед клапаном со стороны поршневого насоса 5 будет ниже, чем в коллекторе 11.
Одновременно в верхней части цилиндра под действием разряжения сжимается пружина 30 всасывающего клапана 26, клапан открывается и вода из моря через вертикальный трубопровод, всасывающий коллектор 32, трубопровод 22 и корпус 18 клапанной коробки поступает в цилиндр 14.
По мер перемещения стоячей волны вдоль волнолома 1 из зоны расположения поплавка 2 в зону поплавка 3 поднимающаяся вверх масса воды, встречая на своем пути ограниченный по периметру рамой 4 поплавок 3 создает выталкивающую силу, под действием которой поплавок поднимается вертикально вверх и с помощью штока 17 перемещает поршень 16 вверх до упора утолщенной части штока в дно цилиндра.
При этом выталкивающая сила поплавка 3, преобразующаяся в давление воды в цилиндре 14 связанного с ним поршневого насоса 5 превышает в некоторый момент выталкивающую силу, действующую на поплавок 2 и давление, создаваемое последним в его насосе, которое определяется выталкивающей силой уменьшающейся стоячей волны и при ее исчезновении становится равным нулю.
Под действием перепада давления вода из цилиндра 14 поршневого насоса, связанного с поплавком 3, сжимая пружину 31 и открывая нагнетательный клапан 28 проходит в корпус 18 клапанной коробки, трубопровод 24, нагнетательный коллектор 33, компенсатор 8, горизонтальный трубопровод, открывает обратный клапан 10 и через коллектор 11 поступает в гидротурбину 12, вызывая вращение электрогенератора 13.
Происходит первый рабочий ход.
В это время обратный клапан 9 закрыт, так как давление воды перед клапаном со стороны поршневого насоса 5 будет ниже, чем в коллекторе 11.
Одновременно в нижней части цилиндра под действием разряжения сжимается пружина 30 всасывающего клапана 27, клапан открывается и вода из моря через вертикальный трубопровод, всасывающий коллектор 32, трубопровод 23 и корпус 19 клапанной коробки поступает в цилиндр 14.
Затем за счет сил сцепления с жидкостью ограниченный по периметру рамой 4 поплавок 3 начинает опускаться вертикально вниз во впадину возникшей стоячей волны и с помощью штока 17 перемещает поршень 16 вниз до упора утолщенной части штока в крышку 15 цилиндра.
По мере повышения давления в нижней части цилиндра 14 сжимается пружина 31 нагнетательного клапана 29, клапан открывается и вода под давлением через корпус 19 клапанной коробки, трубопровод 25, напорный коллектор 11 поступает в гидротурбину 12, вызывая вращение связанного с ней электрогенератора 13.
Происходит второй рабочий ход.
В это время обратный клапан 9 и закрыт, так как давление воды перед клапаном со стороны поршневого насоса 5 будет ниже, чем в коллекторе 11.
Одновременно в верхней части цилиндра под действием разряжения сжимается пружина 30 всасывающего клапана 26, клапан открывается и вода из моря через вертикальный трубопровод, всасывающий коллектор 32, трубопровод 22 и корпус 18 клапанной коробки поступает в цилиндр 14.
Далее вышеописанный цикл повторяется непрерывно.
При изменении расчетной силы волнения в сторону увеличения штоки гидроцилиндров 7 начинают выдвигаться наружу, угол между подвижными трубопроводами компенсаторов 8 увеличивается, рамы 4 с поплавками 2, 3 отходят от стенки волнолома 1, кинетическая энергия стоячей волны уменьшается, давление падает и наоборот.
В обоих случаях происходит регулирование и стабилизация нагрузки.
Применение симметричных поплавков, выполненных в виде закрытой полой емкости прямоугольного сечения позволяет повысить КПД прибойной гидроэлектростанции.
Крепление вертикальных рам с поплавками непосредственно на прибрежном гидротехническом сооружении, исключение рабочих площадок и мостиков дает возможность упростить конструкцию гидроэлектростанции.
Установка рам на гидротехническом сооружении с возможностью перемещения в горизонтальной плоскости позволяет расширить диапазон длин используемых стоячих волн.
Выполнение вертикальных рам подвижными с помощью гидроцилиндров дает возможность осуществить регулирование и стабилизацию нагрузки прибойной гидроэлектростанции при изменении силы волнения.
ФОРМУЛА ИЗОБРЕТЕНИЯ
Прибойная гидроэлектростанция, устанавливаемая на прибрежном гидротехническом сооружении, содержащая гидротурбину с электрогенератором и установленный перед гидротехническим сооружением со стороны водоема волноприемный рабочий орган с поршневыми насосами, трубопроводами и обратными клапанами, подключенными к гидротурбине, при этом волноприемный рабочий орган выполнен в виде поплавка, установленного внутри вертикальной рамы с возможностью перемещения, а поршневые насосы параллельно подключены к коллектору через обратные клапаны, отличающаяся тем, что гидроэлектростанция снабжена по меньшей мере одним дополнительным поплавком, установленным внутри вертикальной рамы с возможностью перемещения, а рамы установлены на гидротехническом сооружении с возможностью перемещения в горизонтальной плоскости.
Версия для печати
Дата публикации 12.01.2007гг
Created/Updated: 25.05.2018
|






