| Начало раздела Производственные, любительские Радиолюбительские Авиамодельные, ракетомодельные Полезные, занимательные | Хитрости мастеру Электроника Физика Технологии Изобретения | Тайны космоса Тайны Земли Тайны Океана Хитрости Карта раздела | |
| Использование материалов сайта разрешается при условии ссылки (для сайтов - гиперссылки) | |||
Навигация: => | На главную/ Каталог патентов/ В раздел каталога/ Назад / |
|
ИЗОБРЕТЕНИЕ
Патент Российской Федерации RU2143584
![]()
РЕГУЛЯТОР ВЕТРОКОЛЕСА ДЛЯ ВЕТРЯКА
Имя изобретателя: Шарафан В.Я.; Литвинов С.А.; Зайцев Н.М.; Федоров Ю.С.
Имя патентообладателя: Шарафан Владимир Яковлевич
Адрес для переписки: 357600, Ессентуки, ул.Долина роз, д.23, кв.42, Федорову Юрию Сергеевичу
Дата начала действия патента: 1997.11.10
Изобретение относится к ветроэнергетике и может быть использовано для регулирования работы ветродвигателей с быстроходными ветроколесами. Технический результат, заключающийся в упрощении конструкции, повышении надежности работы механизма поворота лопастей, защите от перегрузок, обеспечивается тем, что регулятор ветроколеса содержит кривошипно-шатунный механизм, ветровое реле, ветровое реле кинематически связано с ползунами, перемещающимися по направляющим и связанными тягами с кривошипно-шатунным механизмом, при этом ветровое реле содержит кулису и выполнено из двух подпружиненных полотен, закрепленных на оси.
ОПИСАНИЕ ИЗОБРЕТЕНИЯ
Изобретение относится к ветроэнергетике и может быть использовано для регулирования работы ветродвигателей с быстроходными ветроколесами.
Известны регуляторы ветроколес, содержащие кривошипно-шатунный механизм, кинематически связанный с силовой и пусковой пружинами, размещенными в обоймах, установленных соосно с валом ветроколеса, и ветровое реле, расположенное вне ветроколеса (Шефтер Я.И. М.: Энергоиздат, 1983 г., стр. 82, рис. 5,3.). Прототипом, наиболее близким по технической сущности, является регулятор по а.с. N 688681, Мосалев В.Ф., МК F 03 D 7/00, 30.09.79.
Регулятор ветроколеса прототипа содержит кривошипно-шатунный механизм, связанный с силовой и пусковой пружинами, размещенных в обоймах, установленных внутри вала ветроколеса, а и ветровое реле, расположенное вне ветроколеса.
Этот регулятор включает в себя вертлюг, цилиндрическую обечайку, фиксатор, кинематически связанный с ветровым реле, которое отключает ветроколесо при критической скорости ветропотока. Сложность конструкции очевидна.
Цель изобретения - упростить конструкцию, повысить надежность работы механизма поворота лопастей при неограниченной амплитуде колебания силы ветрового потока и тем самым защитить ветроколесо от деформирующих перегрузок. Это особенно важно при конструировании маломощных ветроэнергоустановок.
Указанная цель достигается тем, что сложный механизм управления работой ветроколеса в прототипе заменяется на упрощенную а следовательно, более надежную схему регулирования, которая включает в себя ветровое реле, установленное вне ветроколеса под любым углом к оси мачты ветроэнергоустановки, кинематически связанное с подпружиненными ползунами, перемещающимися по направляющим, жестко закрепленным в кронштейнах. Ползуны тягами связаны с кривошипно-шатунным механизмом ветроколеса.
![]() | ![]() | |
![]() | ![]() | ![]() |
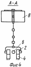
На фиг. 1 и 4 показана схема регулятора при отсутствии ветра; на фиг. 1 - то же, в рабочем режиме; на фиг. 3 - в критическом режиме.
Заявленный регулятор ветроколеса содержит кривошипно-шатунный механизм 1, связанный тягами 10 с подпружиненными ползунами 2, перемещающимися по направляющим 3, жестко закрепленным параллельно вала 6 ветроколеса в кронштейнах 4.
Ползуны 2 кинематикой 5 связаны с ветровым реле 8, состоящим из двух подпружиненных полотен и оснащенного кулисой 9.
РАБОТАЕТ РЕГУЛЯТОР СЛЕДУЮЩИМ ОБРАЗОМ
При отсутствии ветра (см. фиг. 1 и 4) под действием пружины 7 ползуны 2 перемещаются по направляющим 3 до кронштейна 4 и через тяги 10 кривошипно-шатунным механизмом 1 устанавливают лопасти ветроколеса на пусковые углы.
При возникновении ветрового потока с достаточной скоростью реле 8 через кинематику 5, ползуны 2, тяги 10, кривошипно-шатунный механизм 1 устанавливают лопасти ветроколеса на рабочий режим. При этом пружина 7 частично сжимается. Реле 8, смещаясь под давлением ветрового потока, удерживается кулисой 9 перпендикулярно к направлению ветра.
При критическом давлении ветрового потока реле 8 смещаясь еще больше вышеописанным способом устанавливает лопасти ветроколеса на флюгерные углы, обеспечивая остановку, и предупреждает его разрушение. При этом плоскость реле 8 постоянно сохраняет перпендикулярность к ветровому потоку.
При уменьшении скорости ветра пружина 7 возвращает лопастям ветроколеса углы, соответствующие напору ветрового потока.
На фиг. 5 показано ветровое реле 8, состоящее из двух подпружиненных полотен, закрепленных на оси.
При ураганной скорости ветра, для уменьшения опрокидывающего момента и возможности разрушения всего регулятора полотна реле 8, преодолевая расчетную жесткость пружины 11, смещаются на оси, образуя угол, тем самым уменьшая разрушающее давление ветрового потока на реле 8.
Такая схема регулятора ветроколеса позволит оптимально использовать энергию ветропотока, улучшить технико-экономические показатели ветроэнергоустановки при эксплуатации, удешевить ее изготовление и упростить ремонт.
ФОРМУЛА ИЗОБРЕТЕНИЯ
1. Регулятор ветроколеса, содержащий кривошипно-шатунный механизм, ветровое реле, отличающийся тем, что ветровое реле кинематически связано с ползунами, перемещающимися по направляющим и связанными тягами с кривошипно-шатунным механизмом.
2. Регулятор по п.1, отличающийся тем, что ветровое реле содержит кулису.
3. Регулятор по п.1, отличающийся тем, что ветровое реле выполнено из двух подпружиненных полотен, закрепленных на оси.
Версия для печати
Дата публикации 31.01.2007гг
Created/Updated: 25.05.2018
|





