| Начало раздела Производственные, любительские Радиолюбительские Авиамодельные, ракетомодельные Полезные, занимательные | Хитрости мастеру Электроника Физика Технологии Изобретения | Тайны космоса Тайны Земли Тайны Океана Хитрости Карта раздела | |
| Использование материалов сайта разрешается при условии ссылки (для сайтов - гиперссылки) | |||
Навигация: => | На главную/ Каталог патентов/ В раздел каталога/ Назад / |
|
ИЗОБРЕТЕНИЕ
Патент Российской Федерации RU2290532
![]()
ПАНЕЛЬНЫЙ ВЕТРОДВИГАТЕЛЬ ( ВЕТРЯК )
Имя изобретателя: Сустин Иван Филимонович
Имя патентообладателя: Сустин Иван Филимонович
Адрес для переписки: 445026, Самарская обл., г. Тольятти, Московский пр-кт, 27, кв.275, И.Ф. Сустину
Дата начала действия патента: 2004.10.20
Изобретение относится к машиностроению и может найти применение в областях, где требуется производство электроэнергии в отдаленных районах, как, например, в фермерских хозяйствах, в частных домах, а и для производственных целей. Панельный ветродвигатель содержит два параллельно расположенные на раме ведущий и ведомый коленчатые валы, соединенные тягами. На ведущем коленчатом валу установлены вертикально расположенные панели, в которые встроены поворотные лопасти. Тяги соединены с шатунными шейками коленчатых валов с возможностью обеспечения вертикального положения панелей, причем при движении панели по направлению ветра панели закрываются, а при движении панели навстречу ветру панели открываются. Колена валов имеют форму трапеции, что позволяет сблизить коленчатые валы настолько, насколько это возможно, что обеспечивает производство компактных ветродвигателей. Конструкция ветродвигателя обеспечивает повышение его КПД и увеличение мощности.
ОПИСАНИЕ ИЗОБРЕТЕНИЯ
Изобретение относится к машиностроению и может найти применение в тех областях техники, где требуется производство электроэнергии, как, например, в фермерских хозяйствах, в частных домах, для производственных целей и т.д.
Этот ветродвигатель используется для выработки электроэнергии в отдаленных местах, в сельской местности, в фермерских хозяйствах.
Настоящее изобретение усовершенствует известный крыльчатый многолопастной ветродвигатель, недостатком которого является низкий КПД (0,48) и небольшая мощность (1).
Целью настоящего изобретения является устранение указанных недостатков, то есть повышение КПД ветродвигателя и увеличение его мощности. Поставленная цель достигается тем, что в панельном ветродвигателе, содержащем два параллельно расположенные на раме ведущий и ведомый коленчатые валы, соединенные тягами, и лопасти, на ведущем коленчатом валу установлены вертикально расположенные панели, в которые встроены поворотные лопасти, тяги соединены с шатунными шейками коленчатых валов с возможностью обеспечения вертикального положения панелей, причем при движении панели по направлению ветра панели закрываются, а при движении панели навстречу ветру панели открываются.
Повышение КПД достигается за счет большой площади панелей и длинного плеча коленчатого вала. Шатунные шейки коленчатых валов соединены тягами, за счет которых обеспечивается вертикальное положение панелей и синхронизация вращения валов.
![]() | ![]() | ![]() |
![]() | ![]() | |
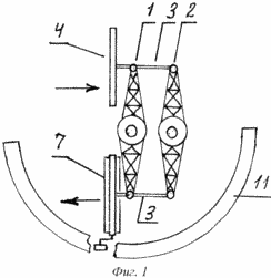
![]() | Сущность изобретения поясняется чертежами, где фиг.1 - схема панельного ветродвигателя (вид сбоку); фиг.2 - схема панельного ветродвигателя (вид спереди), фиг.3 - вид А-А на фиг.2, фиг.4 - схема расположения панелей на восьмиколенном валу, фиг.5 - панельный ветродвигатель на металлической раме, фиг.6 - установка рулей направления на раме. Панельный ветродвигатель включает в себя два параллельно расположенных коленчатых вала, из которых вал 1 - ведущий, а вал 2 - ведомый, тяги 3, панели 4, 7, вертикально расположенные на ведущем валу 1. Тяги 3 соединяют шатунные шейки на вершинах колен 6 валов, синхронизируют вращение валов 1 и 2 и обеспечивают вертикальное положение панелей 4, 7. В панели 4, 7 встроены поворотные лопасти 5, колено 6 валов 1 и 2 имеет форму трапеции, что позволяет сблизить коленчатые валы настолько, насколько это возможно, что обеспечивает производство компактных ветродвигателей. Механизм поворота лопастей 5 выполнен в виде рычагов 8, соединенных с осями лопастей 5 и с тягой 9, на конце которой установлено колесико 10, накатывающееся на выступ 11, что обеспечивает поворот лопасти 5 на 90°. Ведущий коленчатый вал 1 вращает генератор 13. | |
При выполнении ветродвигателя на металлической раме 14 его длина может достигать 200 м, 400 м и более, а мощность конкурировать с тепловой электростанцией. На раме 14 установлены рули направления 12. Рама 14 вращается на вертикальной оси 15 в горизонтальной плоскости. Колеса 16 катятся по кольцевым дорожкам, создавая опору по всей длине рамы 12, установленной на сваи, предохраняющие в зимнее время от заносов. В момент включения в работу панельного ветродвигателя ветер начинает оказывать давление на панель 4, которая давит на плечо коленчатого вала 1, а через тягу 3 на плечо коленчатого вала 2. Панель 4 движется в направлении ветра, лопасти 5 в ней закрыты, а панель 7 - навстречу ветру, лопасти 5 в ней открыты, и она не оказывает сопротивления встречному ветру. Мощность панельного ветродвигателя определяется длиной коленчатых валов, длиной плеча колена, общей площадью панелей, их количеством панелей, находящихся под напором ветра, силой ветра. Для выработки электроэнергии в больших количествах и при стабильном ветре панели 4, 7 должны иметь как можно большую площадь и длину колена вала.
Предлагаемый панельный ветродвигатель следует использовать в регионах с устойчивой розой ветров (Сахалин, Камчатка, Курилы, Север), что позволяет обеспечить ему наибольший КПД.
1. Политехнический словарь. Издательство «Советская энциклопедия», Москва, 1980, с.76, 77.
ФОРМУЛА ИЗОБРЕТЕНИЯ
Панельный ветродвигатель, содержащий два параллельно расположенные на раме ведущий и ведомый коленчатые валы, соединенные тягами, и лопасти, отличающийся тем, что на ведущем коленчатом валу установлены вертикально расположенные панели, в которые встроены поворотные лопасти, тяги соединены с шатунными шейками коленчатых валов с возможностью обеспечения вертикального положения панелей, причем при движении панели по направлению ветра панели закрываются, а при движении панели навстречу ветру панели открываются.
Версия для печати
Дата публикации 31.01.2007гг
Created/Updated: 25.05.2018
|






