| Начало раздела Производственные, любительские Радиолюбительские Авиамодельные, ракетомодельные Полезные, занимательные | Хитрости мастеру Электроника Физика Технологии Изобретения | Тайны космоса Тайны Земли Тайны Океана Хитрости Карта раздела | |
| Использование материалов сайта разрешается при условии ссылки (для сайтов - гиперссылки) | |||
Навигация: => | На главную/ Каталог патентов/ В раздел каталога/ Назад / |
|
ИЗОБРЕТЕНИЕ
Патент Российской Федерации RU2280192
![]()
ВЕТРОВОЙ ПРЕОБРАЗОВАТЕЛЬ ЭНЕРГИИ ДВИЖЕНИЯ ВОЗДУХА В ЭЛЕКТРОЭНЕРГИЮ
Имя изобретателя: Вейнберг Вениамин Яковлевич (RU)
Имя патентообладателя: Вейнберг Вениамин Яковлевич (RU)
Адрес для переписки: 125319, Москва, ул. Усиевича, 1/5, кв.73, В.Я.Вейнбергу
Дата начала действия патента: 2001.04.12
Изобретение относится к ветроэнергетике, а именно к преобразователям энергии движения воздуха в электрическую энергию, где в качестве приводного элемента используются лопасти. Технический результат заключается в повышении коэффициента полезного действия (КПД) преобразователя. Ветровой преобразователь содержит лопасти, механически связанные с генератором электрической энергии. Вал генератора механически связан с лопастями, а корпус генератора механически связан с лопастями противоположного исполнения по сравнению с лопастями, механически связанными с валом генератора, при этом корпус генератора установлен в ветровом преобразователе с возможностью вращения.
ОПИСАНИЕ ИЗОБРЕТЕНИЯ
Ветровой преобразователь относится к ветроэнергетике, а именно к преобразователям энергии движения воздуха в электрическую энергию, где в качестве приводного элемента используются лопасти.
Известен ветровой преобразователь, содержащий лопасти, механически связанные с генератором электрической энергии (см., например, RU, 2079703 С1, кл. F 03 D 3/00, 20.05.1997), по совокупности существенных признаков принятый за ближайший аналог изобретения (прототип).
Недостатками известного устройства являются его ограниченные функциональные возможности и низкий коэффициент полезного действия (КПД).
Технический результат, заключающийся в повышении коэффициента полезного действия (КПД), обеспечивается за счет того, что в ветровом преобразователе, содержащем лопасти, механически связанные с генератором электрической энергии, согласно изобретению вал генератора электрической энергии механически связан с лопастями, а корпус генератора механически связан с лопастями противоположного исполнения по сравнению с лопастями, механически связанными с валом генератора, при этом корпус генератора установлен в ветровом преобразователе с возможностью вращения. Выход генератора электрически связан с его нагрузкой через коллектор, механически связанный с ним. Ветровой преобразователь дополнительно снабжен управляющим крылом флюгера.
Ветровой преобразователь поясняется следующими чертежами:
![]() | ![]() |
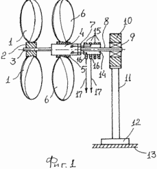
Фиг.1 и фиг.2 изображена принципиальная схема устройства
![]() Фиг.3 изображена принципиальная схема устройства с чашкообразными лопастями | ![]() Фиг.4 изображен ветровой преобразователь с чашкообразными лопастями, вид сверху |
![]() | ![]() |
Фиг.5 и фиг.6 изображен флюгерный вариант устройства
![]() Фиг.7 изображен пример комплексного решения лопастной части устройства | Ветровой преобразователь содержит Обойма 5 с лопастями 6 может быть установлена и на штоке 8, механически связанном с корпусом генератора 4. В качестве лопастей 1 и 6 могут быть использованы закрепленные на штоках 18 чашкообразные лопасти 19 и закрепленные на штоках 20 противоположного исполнения чашкообразные лопасти 21. При этом штоки 18 закреплены на обойме 2, например приварены к ней, а штоки 20 закреплены на обойме 5, например приварены к ней. |
Ветровой преобразователь может быть снабжен управляющим крылом флюгера. В этом примере, обойма 10 крепится на промежуточном штативе 22, противоположный конец которого закреплен через подшипник 23 на обойме 24, с возможностью вращения вокруг своей оси, при этом обойма 24 закреплена на штативе 11. На промежуточном штативе 22 может быть установлена промежуточная изолирующая втулка 25 с закрепленными на ней токопроводящими кольцами 26, контактно соприкасающимися со щетками 27 с подведенными к ним проводами 17 и щетками 28 с подведенными к ним электропроводами 29, соединяющими их с нагрузкой генератора 4. На промежуточном штативе 22 может быть закреплено управляющее крыло 30 флюгера, или иначе его можно назвать управляющим хвостом.
На промежуточной втулке 25 могут быть закреплены дополнительные кольца 31, электрически соединенные с кольцами 26 перемычками 32, контактно соприкасаемыми со щетками 28, такое исполнение электрического коллектора, состоящего из деталей втулки 25, колец 26 щеток 27 и 28, позволяет вращаться промежуточному штативу 22 без соприкосновения щеток 27 и 28. Электрический коллектор в данном примере можно назвать промежуточным коллектором, через который и основной коллектор происходит электрическая связь генератора 4 с его нагрузкой. Через этот же коллектор может происходить связь с источником тока для обмотки возбуждения генератора 4. Можно сказать и, что промежуточный электрический коллектор кинематически или механически связан с корпусом генератора 4.
В общем можно сказать, что лопасти 1 и 19 механически соединены с валом 3 электрического генератора 4, а лопасти 6 и 21 механически соединены с корпусом электрического генератора, закрепленного в ветровом преобразователе с возможностью вращения вокруг своей оси.
Возможно комплексное выполнение устройства, в котором лопасти 1 закреплены на горизонтальном первичном вале 33, стяжка 34 соединена с обоймой 35 через подшипник 36. Обойма 35 закреплена на первичном валу 33, противоположный конец которой соединен с обоймой 37 через подшипник 38, соединенный с вертикально расположенным валом 3. Окончания валов 33 и 3 соединены через коническую зубчатую передачу 39, а на штоке 8 закреплена обойма 5 с установленными на ней штоками 20 с чашкообразными лопастями 21. Управляющее крыло 30 в данном случае может быть закреплено на обойме 37.
Под понятием противоположного исполнения для лопастей 1 и 6 подразумевается противоположное расположение передних и задних граней у лопастей 1 по отношению к их расположению у лопастей 6, что позволяет им вращаться от одного и того же потока воздуха в противоположные стороны относительно друг друга.
Аналогичный результат получается при выполнении противоположного исполнения лопастей 19 и 21, т.е. выпуклость лопастей 19 направлена в противоположную сторону по отношению к направлению выпуклости лопастей 21, что позволяет вращаться лопастям 19 в противоположную сторону относительно направления вращения лопастей 21 от одного и того же потока воздуха. В принципе, можно считать, что при комплексном решении лопастной части устройства, исполнения обычных лопастей 1 и лопастей 21 чашкообразной формы противоположны относительно друг другу, т.к. они, исполнения, должны обеспечивать вращение лопастей 1 в противоположную сторону по отношению к направлению вращения лопастей 21 чашкообразной формы.
Следует учесть и, что у лопастей 1 и 6 оси вращения совпадают, т.е. они соосны, аналогично соосны по осям вращения и лопасти 19 и 21.
ВЕТРОВОЙ ПРЕОБРАЗОВАТЕЛЬ ЭНЕРГИИ РАБОТАЕТ СЛЕДУЮЩИМ ОБРАЗОМ
Под действием ветра лопасти 1 начинают вращаться, приводят во вращение вал 3, а лопасти 6 начинают вращаться под действием ветра в противоположную сторону по отношению к направлению вращения лопастей 1, приводя во вращение корпус генератора 4 в противоположную сторону по отношению к направлению вращения его вала 3, тем самым, якорь и индуктор генератора 4 начинают вращаться в противоположную сторону относительно друг друга, так как один из них связан с валом 3, а другой - с корпусом генератора 4. Тем самым КПД генератора 4 увеличивается в два раза, по сравнению с исполнением устройства с установленными лопастями только на валу 3, при неподвижном генераторе 4.
Аналогично работают и лопасти 19 и 21, имеющие чашкообразную форму с вертикальной осью вращения.
Электрический коллектор позволяет передавать вырабатываемую электроэнергию вращающимся генератором 4 его нагрузке, например лампочке или нагревателю.
При выполнении ветрового преобразователя, в котором лопасти 1 и лопасти 6 имеют две степени свободы движения, т.е. они могут вращаться вокруг своей горизонтальной оси и одновременно вокруг оси вращения промежуточного штатива 22, появляется необходимость в промежуточном электрическом коллекторе, который коммутирует электроэнергию, идущую от генератора 4 через основной коллектор к вспомогательному коллектору, а через него к нагрузке генератора 4.
Управляющее крыло 30 разворачивает лопасти 1 и 6 по ветру, вращая их вокруг оси промежуточного штатива 22.
При комплексном решении лопастной части устройства, лопасти 1 вращают вал 33, который через коническую передачу 39 передает вращающий момент валу 3, а лопасти 21 вращают корпус генератора 4 в противоположную сторону относительно его вала. Преимущество такого исполнения устройства заключается в исполнении только одного электрического коллектора при сохранении его флюгерной формы.
ФОРМУЛА ИЗОБРЕТЕНИЯ
- Ветровой преобразователь, содержащий лопасти, механически связанные с генератором электрической энергии, отличающийся тем, что вал генератора электрической энергии механически связан с лопастями, а корпус генератора механически связан с лопастями противоположного исполнения по сравнению с лопастями, механически связанными с валом генератора, при этом корпус генератора установлен в ветровом преобразователе с возможностью вращения.
- Ветровой преобразователь по п.1, отличающийся тем, что выход генератора электрически связан с его нагрузкой через коллектор, механически связанный с ним.
- Ветровой преобразователь по п.1, отличающийся тем, что он дополнительно снабжен управляющим крылом флюгера.
Версия для печати
Дата публикации 01.11.2006гг
Created/Updated: 25.05.2018
|







