| Начало раздела Производственные, любительские Радиолюбительские Авиамодельные, ракетомодельные Полезные, занимательные | Хитрости мастеру Электроника Физика Технологии Изобретения | Тайны космоса Тайны Земли Тайны Океана Хитрости Карта раздела | |
| Использование материалов сайта разрешается при условии ссылки (для сайтов - гиперссылки) | |||
Навигация: => | На главную/ Каталог патентов/ В раздел каталога/ Назад / |
|
ИЗОБРЕТЕНИЕ
Патент Российской Федерации RU2202048
![]()
КАРУСЕЛЬНОЕ ВЕТРОКОЛЕСО И ЛОПАСТЬ КАРУСЕЛЬНОГО ВЕТРОКОЛЕСА
Имя изобретателя: Мозговой Александр Иванович
Имя патентообладателя: Мозговой Александр Иванович
Адрес для переписки: 347900, Ростовская обл., г. Таганрог, ул. Ленина, 96, ЦГПБ им. А.П. Чехова, патентный отдел
Дата начала действия патента: 1998.02.17
Изобретение относится к области ветроэнергетики, а именно к ветродвигателям с осью вращения ротора, перпендикулярной направлению ветра. Технический результат, заключающийся в повышении мощности ветроколеса, увеличении площади лопастей и снижении пульсаций, повышении надежности, упрощении конструкции, а и в снижении металлоемкости, обеспечивается за счет того, что в карусельном ветроколесе, содержащем установленные на вертикальной оси рамочные махи, лопасти, шарнирно закрепленные в махах с возможностью поворота и циклически взаимодействующие с упорами и ограничителями поворота лопасти, закрепленными на махах, согласно изобретению, лопасти выполнены плоскими и ось вращения каждой лопасти разделяет ее на неравные части с соотношением площадей в пределах от 10 : 1 до 3 : 1. При этом в лопасти карусельного ветроколеса, содержащей прямоугольный лист, скрепленный с осью, согласно изобретению, ось закреплена на листе с удалением от кромки на 1/10... 1/3 длины лопасти.
ОПИСАНИЕ ИЗОБРЕТЕНИЯ
Изобретение относится к области ветроэнергетики, а именно к ветродвигателям с осью вращения ротора, перпендикулярной направлению ветра.
Известен ветродвигатель, имеющий рабочие колеса нижнего и верхнего ярусов, включающие закрепленные на вертикальном валу держатели с упорами и размещенные между держателями лопасти, каждая из которых выполнена составной из аэродинамических профилей. Колеса вращаются в разные стороны, выполняя при этом функции контрольного генератора (см. SU, 1622609 A1, кл. F 03 D 9/00, 23.01.1991).
Указанный ветродвигатель имеет невысокий КПД, т.к. мощность ветрового потока передается через лопасти только с одной стороны оси вращения.
Известно карусельное ветроколесо, содержащее установленные на вертикальной оси рамочные махи, лопасти, шарнирно закрепленные в махах с возможностью поворота и циклически взаимодействующие с упорами и ограничителями поворота лопасти, закрепленными на махах, при этом лопасть карусельного ветроколеса содержит прямоугольный лист, скрепленный с осью (см. SU, 1772407 A1, кл. F 03 D 3/00, 30.10.1992), по совокупности существенных признаков принятое за ближайший аналог изобретения (прототип).
Указанное ветроколесо имеет низкую надежность и не обеспечивает снижения пульсаций вращательного момента.
Технический результат, заключающийся в повышении мощности ветроколеса, увеличении площади лопастей и снижении пульсаций, повышении надежности, упрощении конструкции, а и в снижении металлоемкости, обеспечивается за счет того, что в карусельном колесе, содержащем установленные на вертикальной оси рамочные махи, лопасти, шарнирно закрепленные в махах с возможностью поворота и циклически взаимодействующие с упорами и ограничителями поворота лопасти, закрепленными на махах, согласно изобретению, ось вращения каждой лопасти разделяет ее на неравные части с соотношением площадей в пределах от 10 : 1 до 3 : 1, а лопасти выполнены плоскими, каждый мах содержит соединенные жестко друг с другом горизонтальные стержни и вертикальные ребра жесткости, лопасти могут быть установлены шарнирно с возможностью поворота в панелях, жестко закрепленных в махах, в каждой панели может быть установлено несколько лопастей, часть панелей в махах могут быть установлены перпендикулярно плоскости маха, а каждый упор и каждый ограничитель поворота лопасти могут быть закреплены между горизонтальными стержнями маха и установлены параллельно оси вращения лопасти, при этом область взаимодействия упора с лопастью находится в плоскости маха, а область взаимодействия ограничителя поворота лопасти с лопастью - в плоскости, проходящей через ось вращения лопасти под углом 90o к плоскости маха, каждый упор и каждый ограничитель поворота лопасти установлены в панели параллельно оси вращения лопасти, при этом область взаимодействия упора находится в плоскости панели, а область взаимодействия лопасти с ограничителем поворота лопасти в плоскости, проходящей через ось вращения лопасти под углом 90o к плоскости панели, область взаимодействия лопасти с упором и ограничителем поворота лопасти находится на расстоянии от 0,5D до 0,9D от оси вращения лопасти, где D - расстояние от оси вращения лопасти до ее наиболее удаленной кромки от этой оси, при этом взаимодействие упора и ограничителя с лопастью происходит по всей ширине лопасти.
При этом в лопасти карусельного ветроколеса, содержащей прямоугольный лист,
скрепленный с осью, согласно изобретению, ось закреплена на удалении от 1/10 до 1/3 длины
лопасти. Ось выполнена в виде трех прутков, размещенных один - с одной стороны листа и
два - с другой, концы прутков за пределами листа заключены в цилиндрические втулки,
внутренний диаметр которых равен
где 2R - диаметр прутка. Прутки зафиксированы на поверхностях листа профилированными
пластинами, скрепленными с листом.
![]() | ![]() | ||
![]() | ![]() | ||
![]() | ![]() | ![]() | ![]() |
![]() | ![]() | ||
На фиг.1 изображено карусельное ветроколесо, вид сверху;
на фиг.2 - карусельное ветроколесо, вид сбоку;
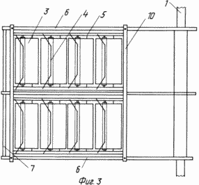
на фиг.3 - рамочные махи с лопастями в панелях;
на фиг.4 - ветроколесо с панелями, установленными перпендикулярно махам;
на фиг.5 - крепление ограничителей поворота лопасти на махе;
на фиг.6 - крепление упоров;
на фиг.7 - лопасть карусельного ветроколеса (общий вид);
на фиг.8 - лопасть ветроколеса с осью, выполненной в виде трех прутков, зафиксированных с
помощью профилированных пластин (разрез);
на фиг.9 - лопасть ветроколеса с осью из трех прутков, зафиксированных с помощью
профилированных пластин в сборе;
на фиг.10 - мах с лопастью в сборе.
Заявляемое карусельное ветроколесо содержит установленные на вертикальной оси 1 радиальные махи 2 с лопастями 3, ограничителями 4 поворота лопасти и упорами 5. Каждый мах 2 представляет собой жесткую рамочную конструкцию из горизонтальных стержней 6 и вертикальных ребер 7 жесткости. Для усиления жесткости конструкции махи 2 могут быть соединены между собой межмаховыми фиксирующими планками 8. Плоские лопасти 3 закреплены шарнирно с возможностью поворота вокруг оси 9 непосредственно на горизонтальных стержнях 6 или на панелях 10, жестко скрепленных с махами 2. Панели 10 могут быть установлены как в плоскости махов 2, так и перпендикулярно им, что обеспечивает увеличение мощности ветроколеса без существенного увеличения его габаритов. Ограничители 4 и упоры 5 закреплены на горизонтальных стержнях 6 или на горизонтальных элементах панелей 10 и дополнительно выполняют роль дополнительных элементов жесткости. Упоры 5 закреплены в махах 2 так, что область взаимодействия их с лопастями 3 лежит в плоскости маха 2 или панели 10. Ограничители 4 закреплены в махах 2 так, что область взаимодействия их с лопастями 3 лежит в плоскости, проходящей через ось вращения 9 под углом 90o к плоскости маха 2. Лопасть 3 содержит прямоугольный лист 11, ось 9, выполненную в виде трех прутков 12, один из которых размещен с одной стороны листа 11, а два других - с другой, концы прутков 12 вне пределов листа 11 помещены во втулки 13, а сами прутки 12 зафиксированы на поверхности листа 11 с помощью профилированных пластин 14, жестко скрепленных с листом 11, например, точечной сваркой. Шарнирное соединение горизонтального стержня 6 и лопасти 3 достигается выполнением в горизонтальном стержне 6 вертикального отверстия 15, в которое вставляется втулка 13.
Работу заявленного карусельного ветроколеса рассмотрим при последовательном положении одного маха 2 к воздушному потоку от 0 до 270o. При положении маха 2 от 0 до 180o лопасти 3 прижаты воздушным потоком к упорам 5. Равномерность вращательного момента и его усиление обусловлено тем, что он создается как силой давления потока на лопасть 3,которая тем больше, чем ближе к 90o угол поворота лопасти 3 к направлению воздушного потока, так и аэродинамической подъемной силой (которая уменьшается с приближением угла наклона 90o). При положении маха 2, равном 180o, лопасти 3 поворачиваются вокруг оси 9 и, опираясь на ограничители 4, занимают положение с углом 90oпо отношению к маху 2. При повороте маха от 180 до 270o лопасть 3 вращает мах 2 за счет подъемной силы и момента силы установки лопасти 3 со смещением от оси маха. Для работы маха 2 от 270 до 360o возможно принудительное автоматическое смещение упора 5 лопасти 3 от 0 до 45o по отношению к маху 2. Для повышения КПД ветроколеса и при резком повышении ветра возможно автоматическое изменение установки угла ограничителя 4 лопасти 3 от 90 до 135o по отношению к маху 2.
При больших мощностях необходимо увеличение габаритов ветроколеса, для этого лопасти 3 устанавливаются в панелях 10, которые жестко закрепляются в махах 2. Такая конструкция позволяет снизить требования к жесткости лопастей 3, ограничителей 4 и упоров 5 и использовать одни и те же типовые узлы для изготовления ветровых колес различной мощности. Кроме того, часть панелей 10 может быть установлена перпендикулярно махам 2 и за счет этого можно добиться значительного увеличения мощности без заметного увеличения габаритов ветрового колеса.
ФОРМУЛА ИЗОБРЕТЕНИЯ
1. Карусельное ветроколесо, содержащее установленные на вертикальной оси рамочные махи, лопасти, шарнирно закрепленные в махах с возможностью поворота и циклически взаимодействующие с упорами и ограничителями поворота лопасти, закрепленными на махах, отличающееся тем, что лопасти выполнены плоскими и ось вращения каждой лопасти разделяет ее на неравные части с соотношением площадей в пределах от 10:1 до 3:1.
2. Карусельное ветроколесо по п. 1, отличающееся тем, что каждый мах содержит жестко соединенные друг с другом горизонтальные стержни и вертикальные ребра жесткости.
3. Карусельное ветроколесо по п.1 или 2, отличающееся тем, что лопасти установлены шарнирно в панелях, жестко закрепленных на махах.
4. Карусельное ветроколесо по п.3, отличающееся тем, что в каждой панели установлено несколько лопастей.
5. Карусельное ветроколесо по п.3 или 4, отличающееся тем, что часть панелей в махах установлена перпендикулярно плоскости маха.
6. Карусельное ветроколесо по одному из пп.1 и 2, отличающееся тем, что каждый упор и каждый ограничитель поворота лопасти закреплен между горизонтальными стержнями маха и установлен параллельно оси вращения лопасти, при этом область взаимодействия упора с лопастью находится в плоскости маха, а область взаимодействия лопасти с ограничителем поворота лопасти - в плоскости, проходящей через ось вращения лопасти под углом 90oк плоскости маха.
7. Карусельное ветроколесо по одному из пп.3-5, отличающееся тем, что каждый упор и каждый ограничитель поворота лопасти закреплены на панелях и установлены параллельно оси вращения лопасти, при этом область взаимодействия упора с лопастью находится в плоскости панели, а область взаимодействия лопасти с ограничителем поворота лопасти - в плоскости, проходящей через ось вращения лопасти под углом 90o к плоскости панели.
8. Карусельное ветроколесо по п.6 или 7, отличающееся тем, что область взаимодействия лопасти с упором и ограничителем поворота лопасти находится на расстоянии от 0,5D до 0,9D от оси вращения лопасти, где D - расстояние от оси вращения до ее наиболее удаленной кромки от этой оси, при этом взаимодействие упора и ограничителя с лопастью происходит по всей ширине лопасти.
9. Лопасть карусельного ветроколеса, содержащая прямоугольный лист, скрепленный с осью, отличающаяся тем, что ось закреплена на листе с удалением от кромки на 1/10...1/3 длины лопасти.
10. Лопасть по п.9, отличающаяся тем, что ось выполнена в виде трех прутков, один из
которых размещен с одной стороны листа, а два других с другой стороны, концы прутков за
пределами листа заключены в цилиндрические втулки, внутренний диаметр которых равен
,
где 2R - диаметр прутка.
11. Лопасть по п.10, отличающаяся тем, что прутки зафиксированы на поверхностях листа с помощью профилированных пластин, скрепленных с листом
Версия для печати
Дата публикации 30.01.2007гг
Created/Updated: 25.05.2018
|










