| Начало раздела Производственные, любительские Радиолюбительские Авиамодельные, ракетомодельные Полезные, занимательные | Хитрости мастеру Электроника Физика Технологии Изобретения | Тайны космоса Тайны Земли Тайны Океана Хитрости Карта раздела | |
| Использование материалов сайта разрешается при условии ссылки (для сайтов - гиперссылки) | |||
Навигация: => | На главную/ Каталог патентов/ В раздел каталога/ Назад / |
|
ИЗОБРЕТЕНИЕ
Патент Российской Федерации RU2075641
![]()
ВЕТРОЭНЕРГЕТИЧЕСКАЯ УСТАНОВКА
Имя изобретателя: Забегаев А.И.; Горбунов Ю.Н.; Закревский Ю.А.
Имя патентообладателя: Товарищество с ограниченной ответственностью Фирма "Общемаш- инжиниринг"
Адрес для переписки:
Дата начала действия патента: 1995.04.20
Использование: изобретение относится к ветроэнергетике, конкретно к ветроэнергетическим установкам, вырабатывающим электроэнергию в низкоскоростных ветропотоках. Сущность изобретения: ветроэнергетическая установка содержит башню, гондолу с опорно-поворотным устройством, ветроколесо с валом, пропущенным внутрь гондолы, раму с продольной балкой и монтированными на ней внутри гондолы, мультипликатором с входным тихоходным валом, соединенным с большим зубчатым колесом, включаемой муфтой для сцепления и генератором. Она снабжена раздаточным устройство в виде единого раздаточного многопоточного мультипликатора, включающего входной тихоходный вал с центрально расположенным большим зубчатым колесом и ряды выходных быстроходных валов с малыми зубчатыми колесами, периферийно установленных относительно продольной оси ветроколеса на расстояниях, определяемых радиусом большого входного и радиусами малых выходных зубчатых колес, и связанных с механизмами и агрегатами, составляющими каждый из нескольких энергетических потоков, вписанных своими продольными осями в ребра прямоугольной призмы, ориентированные параллельно оси ветроколеса, рама выполнена многоярусной балочной конструкцией, образованной рядом продольно, параллельно расположенных балок, жестко связанных поперечной силой стойкой, и имеющей в плане "П"-образную форму в основании с центральным проемом, механизмы и агрегаты, составляющие энергетические потоки, размещены на раме в виде отдельных рядов с образованием в гондоле между потоками центрального коридора обслуживания, связанного через проем рамы с внутренним объемом башни, и периферийных коридоров между энергетическими потоками и стенками гондолы. Вал ветроколеса внутри гондолы установлен в передней части силовой рамы между ветроколесом и мультипликатором при посредстве силового узла из двух подшипниковых опор, разнесенных к силовым фланцам вала ветроколеса. Передний силовой фланец вала ветроколеса выполнен с направляющими и стыковочными узлами для закрепления втулки ветроколеса. Силовая многоярусная рама балочной конструкции при четком числе энергетических потоков выполнена "П"-образной формы в каждом ярусе, а при нечетком числе энергетических потоков выполнена "Г"-образной формы и снабжена люком, установленным на раме по месту ее центрального проема. Центральный и периферийные коридоры обслуживания ограничены снизу съемным полом, закрепленным на раме, а сверху - потолком гондолы, а поперечные размеры центрального коридора обслуживания определены диаметром центрально расположенного большого зубчатого колеса и поперечными размерами механизмов и агрегатов, составляющих отдельные энергетические потоки, при этом диаметр центрального зубчатого колеса выбран из условия прохода человека при обслуживании. Поперечные размеры периферийных коридоров обслуживания определены с возможностью перемещения человека при обслуживании.
ОПИСАНИЕ ИЗОБРЕТЕНИЯ
Изобретение относится к ветроэнергетике, конкретно к ветроэнергетическим установкам (ВЭУ), вырабатывающим электроэнергию в низкоскоростных ветропотоках.
Известна ветроэнергетическая установка [1] содержащая башню, ветроколесо с лопастями, связанное с входным валом мультипликатора, чей выходной вал связан с входным валом раздаточного устройства, формирующего через выходные валы рабочий и технологический потоки, рабочий поток включает в себя маховики, муфты, генератор, а технологический пусковое устройство и муфту.
Система управления ВЭУ связана через выключаемые муфты с генераторами, маховиками и пусковым устройством.
В этой известной ВЭУ ветроколесо с лопастями связано с входным валом мультипликатора, выходной вал последнего продолжен по всей высоте башни и связан с первичным входным валом раздаточного устройства. Три вторичных (выходных) вала направлены относительно первичного в три стороны. Каждый из указанных валов направлен по отношению к соседнему под прямым углом.
Все механизмы потоков, как рабочие, так и технологические, размещены на рамных конструкциях, опирающихся непосредственно или через бетонированную площадку на грунт, а и монтированных у основания башни.
Такое известное техническое решение обладает следующими недостатками:
- оно не обеспечивает выборочного размыкания каждого силового потока, что ограничивает возможности приспособления ВЭУ к реальной мощности ветроколеса в особенности при низких скоростях ветропотока;
- количество силовых потоков ограничено тремя: два рабочие, один - технологический;
- не обеспечивает механического торможения ВЭУ, что снижает безопасность эксплуатации ВЭУ, в особенности при возникновении нештатных ситуаций, в которых, например, ветроколесо может оказаться "отключенным" от нагрузки, что потенциально влечет за собой аварию, чаще всего разрушение ветроколеса;
- не обеспечивает плавное страгивание на начальной стадии разгона ветроколеса, когда маховики еще не разогнаны, в особенности при низких температурах окружающего воздуха при загустевшей смазке и соответственно высоком сопротивлении трансмиссии, когда перевод трансмиссии во вращение сопровождается высокими динамическими нагрузками;
- невозможность практического размещения силовой и электрической систем компактно, например в гондоле, что по сути требует создания еще одного сооружения и увеличивает объем работ при сооружении ВЭУ;
- ВЭУ по такому решению имеет большую массу, как по физической величине, так и удельному показателю;
- недостаточную надежность;
- ограниченный ресурс из-за повышенного износа трансмиссии при ограничении мощности, отбираемой автономным потребителем в ситуации, когда, например, ВЭУ мощностью в десятки кВт "работает" на автономного потребителя, который отбирает мощность в единицы кВТ, и по существу происходит неэффективная выработка ресурса;
- недостаточную ремонтопригодность;
- потери электроэнергии при выходе из строя любого из силовых потоков;
- большую материалоемкость конструкции, так как, например, в конструкции этой известной ВЭУ применяется длинный вал между гондолой и установленным на земле раздаточным устройством, в свою очередь это приводит к повышенным вибродинамическим нагрузкам на ВЭУ при вращении протяженного вала.
Принципиально общая схема установки занимает большую площадь в силу крестообразного расположения потоков, входного, двух рабочих и технологического, относительно раздаточного механического устройства.
Указанные недостатки ограничивают использование этого известного технического решения.
Известна ветроэнергетическая установка [2] включающая башню, гондолу с опорно-поворотным устройством, ветроколесо с валом, пропущенным внутрь гондолы, раму с продольной балкой и монтированными внутри гондолы мультипликатором с входным тихоходным валом, выключаемой гидромуфтой для сцепления и генератором.
Такое техническое решение обладает следующими недостатками:
- ВЭУ имеет большие габариты как самой установки, так и гондолы, вызванные "плоской" компоновкой трансмиссии, ориентированной вдоль низкоскоростного вала, что приводит к увеличенным габаритам как самой трансмиссии, так и гондолы ВЭУ;
- большую массу ВЭУ, в том числе большую удельную массу из-за большой металлоемкости и массы силовой рамы, вызванной необходимостью восприятия больших изгибающих и крутящих моментов, что при "плоской" компоновке является неоптимальным;
- недостаточную надежность, прежде всего из-за наличия гидромуфты;
- не обеспечено механическое торможение ВЭУ, что приводит к низкой безопасности эксплуатации ВЭУ, в результате чего ВЭУ не удовлетворяет современным критериям безопасности;
- ограниченным ресурсом работы;
- увеличенной стоимостью как самой установки, так и вырабатываемой ею электроэнергии, в особенности при вырабатываемой установкой мощности менее номинальной при слабых ветропотоках;
- ограничением универсальности приспосабливаемости к условиям ветропотоков, так как постоянно включен единственный энергетический поток большой мощности, эксплуатация которого с недогрузом мощности экономически невыгодна.
Указанные недостатки этого известного устройства в большинстве своем являются принципиальными как для ВЭУ средней мощности, так и для ВЭУ высокой мощности, ориентированных на работу в условиях расширенного диапазона скоростей ветропотоков, в основном, в сторону низких скоростей, и рассчитанных на работу в режиме на локальную сеть с автономным потребителем или на промышленную сеть, и не позволяют, по существу, создать современную практически эффективно применимую ВЭУ.
Известная ветроэнергетическая установка [2] по существу выполняемой функции и по достигаемому результату является наиболее близкой к заявленной, и поэтому выбрана в качестве прототипа.
Задача, поставленная перед разработчиками настоящей ВЭУ, взаимосвязана по целому ряду факторов и условий.
Целью изобретения является:
- повышение надежности ВЭУ, уменьшение габаритов гондолы и снижение материалоемкости ВЭУ за счет реализации многопоточного построения и применения плотной компоновки трансмиссии и электросилового оборудования в гондоле ВЭУ;
- повышение ресурса ВЭУ за счет рационального использования рабочих потоков для выработки мощности, отдаваемой автономному потребителю, в условиях переменного потребления;
- уменьшение нагрузок, действующих на узлы и агрегаты трансмиссии ВЭУ и силовую конструкцию за счет рационального построения пространственной конструкции силовой рамы и многопоточного построения;
- повышение безопасности обслуживания ВЭУ за счет образования в гондоле коридоров обслуживания и обеспечение ремонтопригодности;
- снижение трудоемкости работ по монтажу и обслуживание ВЭУ.
Поставленная цель не достигается простой суммой известных результатов, требуется комплексное решение, имеющее изобретательский уровень.
Поставленная цель достигается за счет того, что ветроэнергетическая установка, содержащая башню, гондолу с опорно-поворотным устройством, ветроколесо с валом, пропущенным внутрь гондолы, раму, выключаемые муфты для сцепления и генератор, снабжена раздаточным устройством, выполненным совмещенным с мультипликатором, в виде единого раздаточного мультипликатора, включающего входной тихоходный вал с центрально расположенным большим зубчатым колесом и рядами выходных быстроходных валов с малыми зубчатыми колесами, периферийно установленных относительно продольной оси ветроколеса на расстояниях, определяемых радиусом большого входного и радиусами малых выходных зубчатых колес, и связанных с механизмами и агрегатами, составляющими каждый из нескольких энергетических потоков, вписанных своими продольными осями в ребра прямоугольной призмы, ориентированные параллельно оси ветроколеса, рама выполнена многоярусной балочной конструкцией, образованной рядом продольно, параллельно расположенных балок, жестко связанных поперечными силовыми стойками, и имеющей в плане "П"-образную форму в основании с центральным проемом, механизмы и агрегаты, составляющие энергетические потоки, размещены на раме в виде отдельных рядов с образованием в гондоле между потоками центрального коридора обслуживания, связанного через проем рамы с внутренним объемом башни, и периферийных коридоров между энергетическими потоками и боковыми стенками гондолы.
Дополнительно в заявляемом техническом решении ВЭУ вал ветроколеса внутри гондолы установлен в передней части силовой рамы между ветроколесом и мультипликатором при посредстве силового узла из двух подшипниковых опор, разнесенных к силовым фланцам и вала ветроколеса. Передний силовой фланец вала ветроколеса выполнен с направляющими и стыковочными узлами для закрепления втулки ветроколеса.
Силовая многоярусная рама балочной конструкции при четном числе энергетических потоков выполнена "П"-образной формы в каждом ярусе и "Г"-образной формы по крайней мере в одном в ярусе при нечетном числе энергетических потоков.
Центральный и периферийные коридоры обслуживания ограничены снизу съемным полом, закрепленным на раме, а сверху потолком гондолы.
Поперечные размеры центрального коридора обслуживания определены диаметром центрально расположенного большого зубчатого колеса и поперечными размерами механизмов и агрегатов, составляющих отдельные энергетические потоки, при этом диаметр центрального зубчатого колеса выбран из условия прохода человека при обслуживании через центральный коридор.
Поперечные размеры периферийных коридоров обслуживания определены с возможностью перемещения человека при обслуживании.
Рама снабжена силовыми такелажными узлами, выполненными с возможностью доступа к ним снаружи гондолы, и стыковочным фланцем под опорно-поворотное устройство, расположенным с нижней стороны рамы.
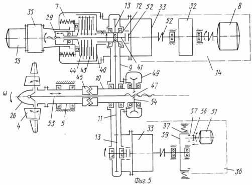
Приложенные чертежи изображают: фиг. 1 ветроэнергетическая установка, общий вид; фиг. 2 ветроэнергетическая установка, Разрез "В В", см. фиг. 1; фиг. 3 ветроэнергетическая установка, вид сбоку; фиг. 4 - ветроэнергетическая установка, вид сверху; фиг. 5 конструктивная схема трансмиссии ВЭУ, разрез "Г Г", см. фиг. 2
![]() | ![]() |


На фигурах и в тексте обозначено: 1 башня ВЭУ, 2 гондола ВЭУ, 3 - опорно-поворотное устройство, 4 ветроколесо, 5 вал ветроколеса, 6 рама, 7 выключаемая муфта сцепления, 8 генератор, 9 раздаточный многопоточный мультипликатор, 10 входной полый вал мультипликатора, 11 центральное большое зубчатое колесо входного тихоходного вала мультипликатора, 12 - выходной быстроходный вал мультипликатора, 13 выходное зубчатое колесо мультипликатора, 14 энергетический поток, 15 продольная балка, 16 - поперечная силовая стойка, 17 проем рамы, 18 центральный коридор обслуживания (выделен частой штриховкой), 19 внутренний объем башни, 20 - периферийный коридор обслуживания (один из двух изображенных на чертеже коридоров выделен крупной штриховкой), 21 боковые стенки гондолы, 22 - подшипниковая опора вала ветроколеса, 23 передний силовой фланец вала 5, 24 задний силовой фланец вала 5, 25 направляющие стыковочные узлы, 26 - втулка ветроколеса, 27 люк, 28 съемный пол, 29 нажимной элемент муфты, 30 такелажные узлы, 31 стыковочный фланец под опорно-поворотное устройство, 32 маховик, 33 дополнительный автономный мультипликатор, 34 - привод системы управления положением лопастей, 35 привод выключения муфты, 36 технологический разгонно-тормозной поток, 37 тормозные колодки, 38 система управления положением лопастей ветроколеса, 39 управляемый тормоз, 40 входной элемент муфты ступенчатая ведущая обойма, 41 центральный выходной элемент муфты, 42 полый выходной быстроходный вал мультипликатора, 43 ведомый фрикционный диск муфты, 44 ведущий фрикционный диск муфты, 45 зубчатая муфта, 46 выходной вал выключаемой муфты, 47 - ходовой винт системы управления положением лопастей (на чертеже изображен в крайнем правом положении при выключенном приводе), 48 электродвигатель привода системы управления положением, 49 корпус привода системы управления положением лопастей, 50 съемный настил, 51 разгонный электродвигатель, 52 соединительная муфта, 53 тяга привода поворота лопастей ветроколеса, 54 - червячное колесо в приводе поворота лопастей, 55 электродвигатель выключения муфты, 56 подвижная шестерня, 57 тормозной шкив, совмещенный с зубчатым колесом.
Ветроэнергетическая установка содержит башню 1, гондолу 2 с опорно-поворотным устройством 3, ветроколесо 4 с валом 5, пропущенным внутрь гондолы 2, раму 6, выключаемые муфты 7 для сцепления, генератор 8, раздаточное устройство, выполненное совмещенным с мультипликатором 9, в виде единого раздаточного многопоточного мультипликатора, включающего входной тихоходный вал 10 с центрально расположенным большим зубчатым колесом 11 и ряды выходных быстроходных валов 12 с малыми зубчатыми колесами 13, периферийно установленных относительно продольной оси ветроколеса на расстояниях, определяемых радиусом большого входного 11 и радиусами малых выходных 13 зубчатых колес, и связанных с механизмами и агрегатами, составляющими каждый из нескольких энергетических потоков 14, вписанных своими продольными осями в ребра прямоугольной призмы, ориентированные параллельно оси ветроколеса, рама 6 выполнена многоярусной балочной конструкцией, образованной рядом продольно, параллельно расположенных балок 15, жестко связанных поперечной силовой стойкой 16, и имеющей в плане "П"-образную форму в основании с центральным проемом 17, механизмы и агрегаты, составляющие энергетические потоки 14, размещены на раме 7 в виде отдельных рядов с образованием в гондоле между потоками центрального коридора обслуживания 18, связанного через проем 17 рамы 6 с внутренним объемом 19 башни 1, и периферийных коридоров 20 между энергетическими потоками и боковыми стенками 21 гондолы. Вал 5 ветроколеса 4 внутри гондолы установлен в передней части силовой рамы 6 между ветроколесом 4 и мультипликатором 9 при посредстве силового узла из двух подшипниковых опор 22, разнесенных к силовым фланцам 23 и 24 вала 5 ветроколеса 4. Передний силовой фланец 23 вала 5 ветроколеса выполнен с направляющими и стыковочными узлами 25 для закрепления втулки 26 ветроколеса.
Силовая многоярусная рама 6 балочной конструкции при четном числе энергетических потоков выполнена "П"-образной формы в каждом ярусе и "Г"-образной формы по крайней мере в одном ярусе при нечетном числе энергетических потоков.
Рама 6 снабжена люком 27, установленным по месту ее центрального проема 17 (люк на чертеже не изображен).
Центральный 18 и периферийные 20 коридоры обслуживания ограничены снизу съемным полом 28, закрепленным на раме 6, а сверху потолком гондолы 29.
Поперечные размеры центрального коридора 18 обслуживания определены диаметром центрально расположенного большого зубчатого колеса 11 и поперечными размерами механизмов и агрегатов, составляющих отдельные энергетические потоки 14, при этом диаметр центрального зубчатого колеса 11 выбран из условия прохода человека при обслуживании.
Поперечные размеры периферийных коридоров 20 обслуживания определены с возможностью перемещения человека при обслуживании.
Рама 6 снабжена силовыми такелажными узлами 30, выполненными с возможностью доступа к ним снаружи гондолы 2, и стыковочным фланцем 31 под опорно-поворотное устройство 3, расположенным с нижней стороны рамы 6.
Ветроэнергетическая установка работает следующим образом.
Ветроколесо 4 вращает вал 5, установленный в опорах 22 и через зубчатую муфту 45 входной вал мультипликатора 10. От центрального большого зубчатого колеса 11 мультипликатора 9 вращение передается на малые выходные зубчатые колеса 13, а оттуда через полые выходные валы 12 на выключаемую муфту сцепления 7. Выходной вал муфты 41, пропущенный через полый выходной вал 12 мультипликатора передает вращение на дополнительный автономный мультипликатор 33, затем на маховик 32 и на генератор 8.
Система управления положением лопастей производит поворот лопастей через механизм, расположенный в полом валу раздаточного мультипликатора и полом валу ветроколеса. За счет этого регулируется подводимая к генераторам мощность и осуществляется поддержание необходимой частоты вращения ветроколеса, генераторов и соответственно стабилизация частоты вырабатываемого тока.
Лопасти ветроколеса через тягу 53 связаны с винтом 47, а он в свою очередь с червячным колесом 54, червяком и через электромагнитные муфты с электродвигателями привода 48. (Подробно устройство и работа системы управления положением лопастей ветроколеса, использованная в ветроэнергетической установке, рассмотрены в заявке N 94044922/06/045696 от 29.12.94 г. того же заявителя).

При подключении к приводу одного из электродвигателей 48 приводится во вращение червячное колесо 54, см. фиг. 5, поступательно перемещая при этом винт 47, связанный с тягой 53, размещенной в полом вале 5 ветроколеса. Тяга 53 связана с механизмом поворота лопастей рычажного или шестеренчатого типа (конкретное его выполнение может быть различным, оно представляет собой независимое техническое решение и не является предметом настоящей заявки). Например, тяга 53 шарнирно связана с рычагом, жестко закрепленным на поворотном махе лопасти, или тяга 53 через зубчатую рейку взаимодействует с шестерней, и закрепленной на поворотном махе лопасти.
Нагрузки, возникающие при работе ВЭУ, воспринимаются вначале валом 5 ветроколеса, который установлен при посредстве силового узла в передней части силовой рамы 6. Соединение валов 5 и 10 через зубчатую муфту 45, которая допускает определенную величину перекоса валов, позволило развязать входной вал 10 мультипликатора от воздействия изгибающих моментов и поперечных деформаций, и исключить перекосы и деформации большого зубчатого колеса мультипликатора при действии на вал ветроколеса нагрузок от ветроколеса и соответственно обеспечить благоприятные условия работы мультипликатора с заданной долговечностью.
Восприятие ветровых нагрузок и нагрузок, возникающих при работе ветроколеса, осуществляется силовым узлом из двух подшипниковых опор 22 (передней и задней), установленных в передней части силовой рамы. В передней опоре применены радиально-упорные подшипники для восприятия осевой нагрузки от ветроколеса, а в задней опоре радиальные.
Передний силовой фланец 23 вала 5 ветроколеса выполнен с направляющими и стыковочными узлами для облегчения операций по установке втулки ветроколеса при монтаже ВЭУ. Как показано на фиг. 1, а и видно на фиг. 3, 4 передний силовой фланец вала 23 ветроколеса находится снаружи гондолы, что обеспечивает монтаж втулки ветроколеса по переднему фланцу 23.
Реакции и моменты, возникающие при передаче мощности через раздаточный мультипликатор 9, воспринимаются силовым набором рамы 6, состоящим из продольных 15 и поперечных балок, и вертикальных силовых стоек 16. Рама выполнена многоярусной и имеет "П"-образную форму в нижнем ярусе и в последующих верхних для четного числа энергетических потоков, и "Г"-образную форму для последующих верхних ярусов для варианта нечетного числа энергетических потоков.
Момент, передаваемый муфтой 7, регулируется за счет регулировки величины осевого усилия поджатия фрикционных дисков 43 и 44 с помощью нажимного элемента 29, состоящего из внешней невращающейся и внутренней вращающейся частей, поджатых пружиной. Включение выключение муфты 7 производится с помощью привода 35, включающего электродвигатель 55, редуктор, винт, гайку и связанный с ней толкатель с нажимным элементом 29 муфты (см. фиг. 5).
Нагрузки, возникающие при работе энергетических потоков, смонтированных на продольных параллельно расположенных балках 15, 16, замыкаются на пространственной прямоугольной призматической конструкции, в которой ребра призмы образованы продольными балками 15, а поперечные силовые стойки 16, поддерживающие потоки 14, создают необходимую жесткость конструкции. На фиг. 2, 3, 4 изображен вариант выполнения ветроэнергетической установки с четырьмя энергетическими потоками, возможны варианты с шестью, пятью или тремя потоками.
Корпус раздаточного многопоточного мультипликатора 9 выполнен силовым и на нем смонтированы выключаемые муфты 7, дополнительные автономные мультипликаторы 33 и привод 34 системы управления положением лопастей. Наличие мультипликатора в силовой цепи нагружения позволяет ему играть роль силовой плиты, обеспечивая необходимую жесткость многоярусной пространственной конструкции рамы.
Рама выполнена из 2-х силовых групп, связанных общей платформой:
- одна силовая группа включает в себя передний силовой узел со смонтированными опорами 22, и силовой корпус мультипликатора 9, на котором смонтированы с одной стороны выключаемые муфты, а с другой дополнительные автономные мультипликаторы;
- вторая силовая группа образована прямоугольной призмой из параллельно установленных продольных балок 15, на которых смонтированы энергетические потоки 14, усиленных силовыми вертикальными стойками, и поперечных балок 16, связывающих продольные параллельные балки 15, и придающих пространственной конструкции этой силовой группы высокую жесткость и прочность.
Описанное выполнение позволило сосредоточить в одном месте компактно узлы и механизмы, имеющие наибольший крутящий момент при работе ВЭУ и получить на выходе на высокой скорости вращения ряд малых крутящих моментов, распределенных по пространственной конструкции.
В результате, пространственная призматическая конструкция второй силовой группы значительно облегчена при достижении высокого момента инерции на изгиб, кручение.
Например, при скорости вращения вала
ветроколеса n 30 об/мин. и мощности N 150 кВт,
действующий момент составляет![]()
Для высокостного вала из ряда выходных
валов при мощности энергетического потока Nп50 кВт и nп 1500 об/мин. действующий
момент составляет![]()
Таким образом,![]()
где K- суммарное передаточное число
мультипликаторов 9 и 33, (K 50)
nп (1/3)ЧN
(nп 50 кВт).
Отсюда видно, что заявленное решение обеспечивает комплексный эффект с позиции прочности и надежности конструкции:
- снижает момент, передаваемый на конструкцию рамы, за счет повышения скорости вращения;
- снижает момент, передаваемый на конструкцию рамы, за счет уменьшения мощности отдельно взятого энергетического потока;
- улучшает восприятие нагрузок от энергетического потока за счет выполнения пространственной компоновки рамы во второй силовой группе;
- позволяет использовать корпус мультипликатора в качестве подкрепляющей силовой плиты для обеспечения высокой жесткости на изгиб и кручение рамы в первой силовой группе узлов.
В результате оказалось возможным без ущерба для прочностных и жесткостных свойств рамы м ВЭУ в целом выполнить в центральной части рамы проем 17, обеспечивающий доступ во внутренний объем 19 башни из гондолы для прохода человека или перемещения грузов, а и образовать центральный коридор обслуживания 18, из которого обеспечивается доступ человека к энергетическим потокам 14, см. область, выделенную на фиг. 4 частой штриховкой, к системе регулирования 34 положением лопастей ветроколеса, раздаточному мультипликатору 9, выключаемым муфтам 7, технологическому разгонно-тормозному потоку 36 в составе энергетических потоков 14.
(В настоящей заявке устройство трансмиссии и выполнение энергетических потоков: рабочих вырабатывающих электроэнергию и технологического - разгонно-тормозного, рассматривается в ограниченном объеме, в порядке иллюстрации к работе и устройству заявляемой ВЭУ. Этому посвящена другая заявка того же заявителя на "Ветроэнергетическую установку", направленная во ВНИИГПЭ исх. N 35/4-95 от 18.04.95 г.).
Из центрального коридора 18 обеспечивается доступ человека в периферийные коридоры обслуживания 20, см. выделение крупной штриховкой на фиг. 4, образованные между энергетическими потоками 14 и стенками гондолы (последние на чертеже не показаны). Пол в коридорах обслуживания зашит съемным листом 28.
Поперечный размер коридоров обслуживания выбран для центрального коридора 18 с одной стороны из условий прохода человека с учетом норм эргономических требований, например, он составляет 0,8 м; этот показатель является объективным и может рассматриваться в качестве конструктивного параметра; а с другой исходя из размеров центрального большого зубчатого колеса 11 мультипликатора 9 и поперечных размеров механизмов энергетических потоков 14. Правильнее сказать, что размер центрального большого зубчатого колеса 11 мультипликатора определен с учетом обеспечения прохода человека и поперечных размеров механизмов энергетических потоков 14.
Поперечный размер периферийных коридоров 20 выбран с более жесткими ограничениями по эргономическим требованиям из условия перемещения человека, так как поперечный размер гондолы ограничен условиями транспортировки ВЭУ видами транспорта, и составляет 0,4 м на уровне пола.
Созданное в заявляемой ВЭУ пространство обслуживания позволяет производить обслуживание ремонтные и профилактические работы на всех стадиях монтажа и во всех режимах эксплуатации ВЭУ.
В центральном проеме 17 рамы может устанавливаться люк, который обеспечивает возможность перекрытия внутреннего объема гондолы и изоляции его от объема башни.
Поворот гондолы ВЭУ в горизонтальной плоскости обеспечивается с помощью опорно-поворотного устройства 3, которое состыковано с гондолой фланцем 31, выполненным на нижней стороне рамы 6.
Для выполнения операций погрузки-разгрузки и монтажа рама снабжена силовыми такелажными узлами 30, выполненными с возможностью доступа к ним снаружи гондолы, что обеспечивает возможность перемещения гондолы как единого модуля и повышает производительность монтажных работ (на чертежах они не показаны, т. к. представляют собой стандартизованные узлы в обычном, известном из литературы, исполнении).
Важным для заявляемого решения является их установка на раме и обеспечение возможности доступа к ним снаружи гондолы.
Обеспечена возможность плавной через выключаемую фрикционную муфту сцепления 7 передачи крутящего момента с выходных валов 12 раздаточного многопоточного мультипликатора 9 на автономный мультипликатор 33 или, как вариант на повышающую коробку перемены передач, и далее через маховик на генератор (этот вариант касается возможного режима работы ветроколеса с переменной скоростью вращения "ступенчато переменной", для достижения максимального отбора мощности от ветропотока, в этом случае вместо дополнительного автономного мультипликатора 33 может применяться коробка перемены передач (повышающая) или мультипликатор 9 может быть выполнен с переменным передаточным числом).
ВЭУ обеспечивает возможность механического торможения в сочетании с нужным количеством замкнутых и разомкнутых потоков или только разомкнутых потоков, в том числе аварийного торможения.
ВЭУ позволяет практически разместить силовую, электрическую и даже электронную систему управления компактно в гондоле, поскольку механизмы и устройства силовых потоков направлены в одну и ту же сторону от раздаточного многопоточного мультипликатора 9 и установлены параллельно друг другу, что позволяет реализовать пространственную компоновку трансмиссии и электросиловых агрегатов ВЭУ в гондоле, за счет чего достигается удобное обслуживание, уменьшены габариты гондолы и облегчены ремонтные работы.
Возможность выборочного включения или выключения любого рабочего энергетического потока по мере необходимости в сочетании с прочими преимуществами установки позволяет, например, работать даже на одном рабочем потоке при неисправности остальных. При этом вырабатывается электроэнергия и может проводиться ремонт неисправностей на выключенных потоках.
Таким образом, с учетом изложенного удается повысить надежность, ресурс работы, ремонтопригодность ВЭУ. Соответственно возрастает количество и уменьшается стоимость вырабатываемой ВЭУ электроэнергии.
Одновременно уменьшаются расходы на ремонт в процессе эксплуатации ВЭУ.
Повышается ресурс ВЭУ: например, при мощности, развиваемой ветроколесом менее номинальной, нет необходимости включать все рабочие потоки, за счет чего достигается сохранение ресурса, а при длительных периодах низких скоростей ветра возможно сменно-последовательное использование потоков с целью рациональной выработки ресурса.
Заявляемое устройство ориентировано прежде всего для использования в условиях низкоскоростных ветропотоков и на нужды автономного потребителя или локальной сети, для которых требования, предъявляемые к ветроустановкам более высокие, нежели в классических случаях.
Заявляемое устройство является прогрессивным, а его использование позволяет добиться поставленной цели изобретения:
- повышает надежность ВЭУ, уменьшает габариты гондолы и снижает материалоемкость ВЭУ за счет реализации многопоточного построения и применения плотной компоновки трансмиссии и электросилового оборудования в гондоле ВЭУ;
- повышает ресурс ВЭУ за счет рационального использования рабочих потоков для выработки мощности, отдаваемой автономному потребителю, в условиях переменного потребления и понижает пороговое значение скорости ветропотока, при которой экономически выгодно производить электроэнергию, доводя ее до 2,0.2,8 м/с, например, при работе одного потока;
- уменьшает нагрузки, действующие на узлы и агрегаты трансмиссии ВЭУ и силовую конструкцию за счет рационального построения пространственной конструкции силовой рамы и многопоточного построения;
- повышает безопасность обслуживания ВЭУ за счет образования в гондоле коридоров обслуживания и обеспечение ремонтопригодности, отвечающих эргономическим требованиям;
- снижает трудоемкость работ по монтажу и обслуживанию ВЭУ.
ФОРМУЛА ИЗОБРЕТЕНИЯ
1. Ветроэнергетическая установка, содержащая башню, гондолу с опорно-поворотным устройством, ветроколесо с валом, пропущенным внутрь гондолы, раму с продольной балкой и смонтированными на ней внутри гондолы мультипликатором с входным тихоходным валом, соединенным с большим зубчатым колесом, выключаемой муфтой для сцепления и генератором, отличающаяся тем, что она снабжена раздаточным устройством, выполненным совмещенным с мультипликатором в виде единого раздаточного многопоточного мультипликатора, включающего входной тихоходный вал, соединенные с центральным большим зубчатым колесом ряды выходным быстроходных валов с малыми зубчатыми колесами, периферийно установленных относительно продольной оси ветроколеса на расстояниях, определяемых радиусом большого входного и радиусами малых выходных зубчатых колес, и связанных с механизмами и агрегатами, состоящими каждый из нескольких энергетических потоков, вписанных своими продольными осями в ребра прямоугольной призмы, ориентированные параллельно оси ветроколеса, рама выполнена многоярусной балочной конструкции, образованной рядом продольно параллельно расположенных балок, жестко связанных поперечной силовой стойкой, и имеющих в плане П-образную форму с центральным проемом в основании, механизмы и агрегаты, составляющие энергетические потоки, размещены на раме в виде отдельных рядов с образованием в гондоле между потоками центрального коридора обслуживания, связанного через проем рамы с внутренним объемом башни, и периферийных коридоров между энергетическими потоками и боковыми стенками гондолы.
2. Установка по п.1, отличающаяся тем, что вал ветроколеса внутри гондолы установлен в передней части силовой рамы между ветроколесом и мультипликатором при посредстве силового узла из двух подшипников опор, разнесенных к силовым фланцам вала ветроколеса.
3. Установка по пп.1 и 2, отличающаяся тем, что передний силовой фланец вала ветроколеса выполнен с направляющими и стыковочными узлами для закрепления втулки ветроколеса.
4. Установка по п. 1, отличающаяся тем, что силовая многоярусная рама балочной конструкции при четном числе энергетических потоков выполнена П-образной в каждом ярусе.
5. Установка по п. 1, отличающаяся тем, что силовая многоярусная рама балочной конструкции по крайней мере в одном ярусе при нечетном числе энергетических потоков выполнена Г-образной формы.
6. Установка по п.1, отличающаяся тем, что рама в ней снабжена люком, установленным на раме по месту ее центрального проема.
7. Установка по п.1, отличающаяся тем, что центральный и периферийные коридоры обслуживания ограничены снизу съемным полом, закрепленным на раме, а сверху потолком гондолы.
8. Установка по п.1, отличающаяся тем, что поперечные размеры центрального коридора обслуживания определены диаметром центрально расположенного большого зубчатого колеса и поперечными размерами механизмов и агрегатов, составляющих отдельные энергетические потоки.
9. Установка по пп. 1 и 8, отличающаяся тем, что диаметр центрального зубчатого колеса выбран из условия прохода человека при обслуживании.
10. Установка по пп. 1 и 8, отличающаяся тем, что поперечные размеры периферийных коридоров обслуживания определены возможностью перемещения человека при обслуживании.
11. Установка по п.1, отличающаяся тем, что центральный коридор обслуживания связан с периферийными коридорами.
12. Установка по п.1, отличающаяся тем, что рама в ней снабжена силовыми такелажными узлами, выполненными с возможностью доступа к ним снаружи гондолы.
13. Установка по п.1, отличающаяся тем, что рама снабжена стыковочным фланцем под опорно-поворотное устройство, расположенным с нижней стороны рамы.
Версия для печати
Дата публикации 02.04.2007гг
Created/Updated: 25.05.2018
|


