| Начало раздела Производственные, любительские Радиолюбительские Авиамодельные, ракетомодельные Полезные, занимательные | Хитрости мастеру Электроника Физика Технологии Изобретения | Тайны космоса Тайны Земли Тайны Океана Хитрости Карта раздела | |
| Использование материалов сайта разрешается при условии ссылки (для сайтов - гиперссылки) | |||
Навигация: => | На главную/ Каталог патентов/ В раздел каталога/ Назад / |
|
ИЗОБРЕТЕНИЕ
Патент Российской Федерации RU2075638
![]()
СПОСОБ УПРАВЛЕНИЯ ВЕТРОЭНЕРГЕТИЧЕСКОЙ УСТАНОВКОЙ
Имя изобретателя: Забегаев А.И.; Горбунов Ю.Н.; Забегаев Н.И.; Новак Ю.И.; Демкин В.В.; Соболь Я.Г.
Имя патентообладателя: Товарищество с ограниченной ответственностью Фирма "Общемаш- инжиниринг"; Научно-производственное объединение "Ветроэн"
Адрес для переписки:
Дата начала действия патента: 1995.04.20
Использование: изобретение относится к ветроэнергетике, конкретно к ветроэнергетическим установкам (ВЭУ) с синхронными генераторами, преимущественно работающими на сеть. Сущность изобретения: способ управления ветроэнергетической установкой включает аэродинамическое ограничение мощности, развиваемой ветроколесом, за счет изменения положения его лопастей относительно ветра и остановку ветроколеса в течение предварительного временного интервала, за который понижают мощность на ветроколесе не менее, чем на 40...60% от ее номинального значения, далее одновременно с выводом генератора из сети на аэродинамическое ограничение мощности ветроколеса дополнительно накладывают механическое торможение всей системы вращающихся элементов установки, при этом величину момента торможения задают постоянной и соответствующей величине номинального момента в трансмиссии установки после чего, сохраняя момент торможения, скачкообразно уменьшают момент инерции вращающихся и подвергаемых торможению элементов установки путем разъединения системы вращающихся элементов установки на несколько частей, по меньшей мере на две. Тормозной момент к вращающимся элементам установки прикладывают к промежуточному валу многоступенчатого мультипликатора или к выходному валу мультипликатора, например, прикладывая его к валу генератора. Дополнительный тормозной момент может быть создан за счет перевода генератора в режим электромагнитного тормоза, который включают при отсутствии регулирования угла положения лопастей. На уровнях мощности ветроколеса менее 40% от номинальной торможение вращающихся элементов установки и остановку ветроколеса осуществляют непосредственно без аэродинамического ограничения мощности. Скачкообразное изменение момента инерции вращающихся частей установки производят через интервал времени t, определяемый из соотношения t = (2...5) T, где Т-период низшей частоты колебаний лопастей ветроколеса в плоскости наименьшей жесткости.
ОПИСАНИЕ ИЗОБРЕТЕНИЯ
Изобретение относится к ветроэнергетике, конкретно к ветроэнергетическим установкам (ВЭУ) с синхронными генераторами, преимущественно работающими на сеть.
Известен способ управления ветроэнергетической установкой, см. описание к авт. свид. СССР N 1076617 от 28.05.82г. кл. F 03 D 1/00, [1] включающий в себя аэродинамическое ограничение мощности, развиваемой ветроколесом, за счет изменения положения лопастей ветроколеса относительно ветра и последующую остановку ветроколеса. В статическом положении при остановке ветроколеса возможно дополнительное торможение за счет пневматического тормоза, при этом тормозной момент прикладывают к низкоскоростному валу ветроколеса.
Это известное решение обладает следующими
недостатками:
аэродинамическое торможение лопастей
требует значительного времени в десятки
секунд и минуты для снятия мощности с
ветроколеса путем вывода его лопастей из-под
ветра, что налагает ограничения на
устройства связи генератора с сетью для
обеспечения длительного и плавного вывода
генератора из сети, усложняет их устройство
и понижает надежность;
приложение тормозного момента к
низкоскоростному валу приводит к
необходимости создания большой величины
тормозного момента и соответственно
больших удельных нагрузок на поверхности
трения, так как момент от ветроколеса на
низкоскоростном валу имеет наибольшую
величину относительно всех звеньев (ступеней)
трансмиссии;
реализация тормозного момента посредством
установки пневматического тормоза требует,
по существу, создания еще одной системы
энергопитания в ВЭУ - пневматической,
которая требует наличия компрессора,
пневмоарматуры, трубоприводов, что в
определенный степени усложняет
конструкции ВЭУ и понижает надежность и
эффективность практической реализации
этого способа управления, в особенности при
современных требованиях по безопасности,
надежности и продолжительности
эксплуатации ВЭУ, например 15 лет до
капитального ремонта и 10 лет после
капитального ремонта.
Указанные недостатки этого известного устройства в большинстве своем являются принципиальными и для ВЭУ-классов мощности в десятки и первые сотни кВт, и рассчитанных на работу как с сетью, так и с автономным потребителем,и не позволяют, по существу, создавать современную практически эффективно работающую ВЭУ.
Известен способ управления ветроэнергетической установкой, реализуемый при работе устройства, описанного в авт.свид. СССР N 1325189 от 07.01.86г. кл. F 03 D 7/04 [2] включающий в себя операции по повороту лопастей ветроколеса на заданные углы относительно направления ветропотока, регулировку мощности за счет этого и остановку ветроколеса.
По выполняемой функции и достигаемому результату такое известное техническое решение является наиболее близким к заявляемому и поэтому выбрано в качестве прототипа.
Это известное устройство имеет недостатки, ограничивающие его применение.
1. Современные сертификационные требования по безопасности эксплуатации ВЭУ требуют наличия не менее чем двух независимых систем торможения ветроколеса. При этом работы на ВЭУ в гондоле при незаторможенном ветроколесе запрещены.
Известное решение позволяет реализовать только один способ торможения - аэродинамический, что при отклонениях параметров системы регулирования положения лопастей, например при нарушениях точности регулировки, износе механизмов привода, а и при поломке элементов системы, потенциально может приводить к аварийной ситуации ветроколесо при выводе во флюгерное положение, например, не достигает "флюгерных" углов и продолжает вырабатывать мощность. Поэтому отсутствие механического торможения является существенным недостатком известного способа торможения ВЭУ.
При использовании современных ветроколес с высокой круткой лопасти, достигающей, например, 30.35o, нахождение флюгерного положения лопасти как такового затруднено, так как оптимизация лопасти при проектировании ВЭУ проводится, исходя из получения наилучших его характеристик при работе ветроколеса. При неподвижной лопасти вследствие ее высокой крутки могут создаваться различные режимы обтекания. Даже установка в теоретически флюгерное положение не означает достижения фактического флюгерного - аэродинамически равновесного положения, что приводит к вращению колеса и наличию на нем мощности. Поэтому механическое затормаживание ветроколеса необходимо, причем не только в неподвижном положении, при наличии аэродинамического момента на ветроколесе, но и при вращении его с пониженной мощностью.
2. При введении механических тормозных устройств в конструкцию ВЭУ их практическое применение при работе и управлении ВЭУ затруднено целым рядом условий, которые требуют создания специальных алгоритмов управления.
При включении механического тормоза происходит внезапное приложение тормозного момента к трансмиссии, в результате чего возникают колебания лопастей ветроколеса, которые к моменту осуществления торможения повернуты во флюгерное или близкое к нему положение и ориентированы в направлении вращения ветроколеса плоскостью минимальной жесткости. Наличие этого режима нагружения опасно для ветроколеса, например, при величине момента торможения Мтравной номинальному моменту Мн, передаваемому трансмиссией при работе ВЭУ на номинальной мощности, допускают только 20.50 циклов торможения механическим тормозом за период эксплуатации ветроколеса 15.20 лет, так как напряжение в лопасти при этом превышает напряжение при работе ветроколеса.
Кроме того, при работе тормоза происходит значительное выделение тепла, например, при торможении с величиной момента Мт=Мнмощность тепловыделения в начале торможения и равна номинальной, что создает серьезные проблемы, учитывая малые размеры и объем гондолы ВЭУ.
В известном способе эти аспекты не рассмотрены.
3. При возникновении аварийной ситуации, например отключении электрической нагрузки, выходе из строя генератора, ветроколесо, находящееся на углах отбора мощности, отказывается освобожденным от нагрузки, что может приводить к дальнейшему развитию аварии. Поэтому мощность тормоза необходимо задавать исходя из замены нагрузки от генератора нагрузкой от тормоза при одновременном выведении лопастей ветроколеса во флюгерное положение. В противном случае ветроколесо, освобожденное от нагрузки, разгоняется до увеличенной скорости. Нагрузки на систему управления положением лопастей возрастают и при недостатке мощности привода лопасти могут быть заклинены на углах отбора мощности. При достаточно сильном ветре, скорость которого превышает скорость выхода ветроколеса на номинальную мощность, это приводит к резкому росту мощности, отбираемой ветроколесом от ветропотока, ветроколесо может разгоняться до трех-четырех номинальных скоростей вращения, что вызывает разрушение лопастей, ветроколеса, башни.
Ряд аварий мощных ВЭУ по подобному сценарию имел место.
В известном способе эти аспекты и не рассмотрены.
4. При аэродинамическом торможении для останова ветроколеса требуется значительное время, что при возникновении нештатных ситуаций, требующих быстрого реагирования, ограничивает возможности управления и и повышает риск аварии, например, при развитии автоколебательных процессов в системе "ветроколесо-трансмиссия-генератор-сеть", когда в течение нескольких секунд ВЭУ приходит в аварийное состояние.
5. При увеличении масс и количества вращающихся частей ВЭУ увеличивается инерционность, увеличивается время, необходимое от начала аэродинамического ограничения мощности до полной остановки ветроколеса.
Из анализа недостатков известного способа управления ВЭУ в одном из характерных эксплуатационных режимов видно, что они имеют принципиальный характер и для обеспечения эффективной и безопасной эксплуатации ВЭУ необходима разработка нового способа управления.
Задача, поставленная перед разработчиками настоящей ВЭУ, взаимосвязана по целому ряду факторов и условий, она не достигается простой суммой известных результатов, требуется комплексное решение, имеющее изобретательский уровень.
Целью изобретения является: расширение возможности управления ВЭУ и тем самым повышение экономичности за счет расширения диапазона рабочих скоростей рабочих ветропотоков в режиме работы ВЭУ на отдачу мощности, а и за счет сокращения продолжительности переходных процессов торможения и остановки ВЭУ; повышение надежности и безопасности работы ВЭУ за счет применения в ней дистанционно включаемых устройств торможения; повышение безопасности эксплуатации ВЭУ при работе персонала; повышение ресурса ВЭУ за счет снижения динамических нагрузок, действующих на узлы и агрегаты трансмиссии ВЭУ, силовую конструкцию и лопасти ветроколеса.
Поставленная цель достигается за счет того, что в известном способе управления ВЭУ, включающем аэродинамическое ограничение мощности, развиваемой ветроколесом, и остановку ветроколеса, аэродинамическое ограничение мощности производят в течение предварительного временного интервала, понижая развиваемую мощность не менее, чем на 40.60% от номинального значения, и на аэродинамическое ограничение мощности одновременно с выводом генератора из сети накладывают дополнительное механическое торможение всей системы вращающихся элементов, при этом величину момента торможения задают постоянной и соответствующей величине номинального момента в трансмиссии, после чего, сохраняя момент торможения, скачкообразно уменьшают момент инерции вращающихся и подвергаемых торможению элементов установки путем разъединения системы вращающихся элементов установки на несколько частей, по меньшей мере на две.
Аэродинамическое ограничение мощности осуществляют уводом ветроколеса из-под ветра или переводом лопастей во флюгерное положение.
Тормозной момент к вращательным элементам установки прикладывают к промежуточному валу мультипликатора, при этом могут осуществлять дополнительное приложение его к выходному валу мультипликатора или к валу генератора, создавая его механическим путем, или за счет перевода генератора в режим электромагнитного тормоза, преимущественно при отсутствии возможности регулировки положения лопастей ветроколеса относительно ветра.
При уровнях мощности, развиваемых ветроколесом, менее 40% от номинальной мощности могут осуществлять торможение непосредственно без аэродинамического ограничения мощности.
Скачкообразное изменение момента инерции вращающихся частей ВЭУ производят через интервал времени t=(2.5)T, где T-период низшей части колебаний лопастей ветроколеса.
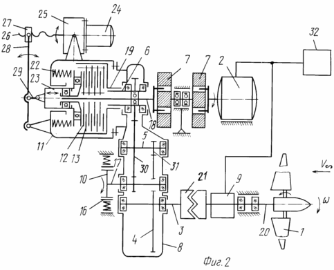
Приложенные чертежи изображают: фиг. 1 график изменения углового ускорения торможения ветроколеса по заявленному способу и колебаний лопастей ветроколеса при изменениях углового ускорения при разделении трансмиссии на две части; фиг.2 схема ВЭУ с разделяемой трансмиссией, иллюстрирующая осуществление способа на примере однопоточной схемы; фиг.3 изменение углового ускорения и амплитуд колебаний лопастей ветроколеса при торможении ветроколеса и трансмиссии многопоточной ВЭУ.
На чертежах и в тексте обозначено: лопасти ветроколеса 1; генератор 2; входной низкоскоростной вал мультипликатора 3; большое зубчатое колесо мультипликатора 4; промежуточный вал мультипликатора 5; выходной высокоскоростной вал мультипликатора 6; маховик 7; многоступенчатый (двух и более) мультипликатор 8; система управления положение лопастей ветроколеса 9; управляемый тормоз 10; выключаемая муфта сцепления 11; ведомый фрикционный диск муфты 12; ведущий фрикционный диск муфты 13; электродвигатель привода выключения муфты 14; редуктор привода выключения муфты 15; тормозные колодки 16; дополнительный быстроходный вал мультипликатора 17; выходной элемент выключаемой муфты 18; выходной элемент выключаемой муфты 19; полный вал ветроколеса 20; зубчатая муфта 21; пружина 22; нажимной элемент 23; электродвигатель привода выключения муфты 24; редуктор 25; винт 26 гайка 27; рычаг 28; толкатель 29; большая шестерня промежуточного вала мультипликатора 30; малая шестерня промежуточного вала мультипликатора 31; система управления ВЭУ 32.
Мт величина тормозного момента;
Мн номинальная величина момента,
передаваемого в трансмиссии при работе ВЭУ
на номинальной мощности Nном
Mн= Nном/wном
wномноминальная скорость вращения ветроколеса.
Способ управления ветроэнергетической установкой заключается в следующем.
Вначале производится предварительное аэродинамическое ограничение мощности, развиваемой ветроколесом за счет изменения положения его лопастей 1(см. фиг. 2) относительно ветра, что достигают поворотом лопастей 1 или уводом ветроколеса из-под ветра в течение временного интервала, за который понижают мощность на ветроколесе не менее чем на 40.60% от номинального значения. При этом осуществляют снижение мощности, отдаваемой генератором 2, в сеть. Далее, создавая режим выведения генератора 2 из сети, например, за счет регулирования возбуждения, дополнительно накладывают механическое торможение всей системы вращающихся элементов ВЭУ 3,4,5,6,7. Величину момента Мтторможения задают постоянной и соответствующей величине номинального момента Мн в трансмиссии установки при работе.
Момент торможения Мт прикладывают к промежуточному валу 5 мультипликатора 8. Затем, сохраняя величину момента торможения, скачкообразно уменьшают момент инерции J вращающихся и подвергаемых торможению элементов установки путем разделения их на несколько частей, по меньшей мере на две.
Дополнительно возможно приложение тормозного момента к выходному валу 6 генератора 2, который создают механическим тормозом или за счет перевода генератора в режим электромагнитного тормоза.
При работе ВЭУ возможны случаи невыведения лопастей во флюгерное положение или отказ системы 9 управления положением лопастей 1 ветроколеса. В этом случае при дополнительном приложении тормозного момента к высокочастотному валу 6 мультипликатора 8 его реализуют в виде момента электромагнитного тормоза.
При уровнях мощности менее 40% номинальной торможение осуществляют непосредственно без аэродинамического ограничения мощности. В этом дополнительном случае механический тормоз быстро и эффективно останавливает ветроколесо.
Рассмотрим реализацию заявляемого способа управления ВЭУ на примере работы ВЭУ однопоточного выполнения, конструктивно-компоновочная схема которой приведена на фиг. 2. (Подробно эта ВЭУ рассмотрена в заявке "Ветроэнергетическая установка " того же заявителя, направленной во ВНИИГПЭ, исх. N 34/4-95 от 12.04.95 г.).
Ветроэнергетическая установка содержит ветроколесо с поворотными лопастями 1, многоступенчатый мультипликатор 8, генератор 2, систему управления 9 положением лопастей 1, включаемую муфту сцепления 11, управляемый тормоз 10, маховик 7. Ветроколесо установлено в гондоле на полом валу 20, связанном через соединительную зубчатую муфту 21 с входным тихоходным валом 3 многоступенчатого мультипликатора 8, имеющего силовой корпус. В выключаемой муфте сцепления 11 выходной 18 и входной 19 элементы, передающие крутящий момент, выведены с одной и той же стороны муфты 11, входной элемент 18, выполненный в виде полой ступенчатой ведущей обоймы, установлен коаксиально выходному элементу 19 муфты 11 и связан с выходной ступенью мультипликатора 8. Центральный выходной элемент 18 вал муфты 11 пропущен через полый быстроходный вал 6 мультипликатора 8 и связан с маховиком 7, последовательно соединенным с генератором 2. Выключаемая муфта сцепления 11 своим корпусом закреплена на силовом корпусе мультипликатора 8.
Момент, передаваемый муфтой 11, регулируется за счет регулировки величины осевого усилия поджатия фрикционных дисков 12 и 13 с помощью нажимного элемента 23, состоящего из внешней невращающейся и внутренней вращающейся частей, поджатых пружиной 22. Включение выключение муфты 11 производится с помощью привода, включающего электродвигатель 24, редуктор 25, винт 26, гайку 27, связанный с ней одним концом рычаг 28, который другим концом шарнирно прикреплен к корпусу муфты, третья точка рычага 28 шарнирно связана через толкатель 29 с нажимным элементом 23 муфты 11.
Управляемый тормоз 10 монтирован на корпусе
мультипликатора 8 со стороны,
противоположной генератору 2 и ветроколесу,
как и выключаемая муфта 11 с приводом. Тормоз
10 выполнен механическим, например
колодочного типа, содержащим тормозной
барабан и колодки 16, или дисковым. Возможен
вариант выполнения тормоза
электромагнитным, например гистерезисным. (В
качестве механического тормоза, например,
может быть применен стандартный колодочный
тормоз типа ТКП [3])
Тормоз 10 связан с дополнительным
быстроходным валом 17 мультипликатора 8 и
через большую шестерню 30 промежуточного
вала 5, малую шестерню 31 промежуточного вала
5 с большой шестерней 4 входного тихоходного
вала 3 мультипликатора 8.
Способ реализуется следующим образом
По команде системы управления ВЭУ 32 система
регулирования положения лопастей
ветроколеса 9 начинает выводить лопасти 1 во
флюгерное положение. Мощность, развиваемая
ветроколесом, при этом уменьшается,
соответственно с помощью системы
управления производится снижение мощности,
отдаваемой генератором в сеть. Скорость
вращения ветроколеса при этом практически
неизменна. После снижения мощности,
отбираемой ветроколесом от потока до
уровня 40.60% от номинальной, одновременно
производят наложение тормозного момента на
систему вращающихся масс ВЭУ "ветроколесо
мультипликатор - маховик генератор" и
выводят генератор из сети. Таким образом,
остаточная мощность, развиваемая
ветроколесом, и инерция вращающихся частей
оказывается замкнутой на тормоз.
Относительно большая инерционность
ограничивает величину углового ускорения Jвращающихся масс, как это следует из
уравнения:![]()
где: Мт величина тормозного момента; I
суммарный момент инерции вращающихся
частей трансмиссии и ветроколеса.
Лопасти ветроколеса при внезапном приложении тормозного момента изгибаются и затем совершают затухающие колебания. Этот режим нагружения для лопастей весьма неблагоприятен: возникают значительные нагрузки, что существенно сокращает ресурс работы ветроколеса. Поэтому в практике проектирования известных ВЭУ ограничивают число таких нагрузок, например, до 20.50 за весь период эксплуатации 15.20 лет.
Введение маховика в систему вращающихся масс, как показывают исследования, например [4] приводит к увеличению приведенного момента инерции вращающихся частей системы "ветроколесо трансмиссия генератор" в 2.3 раза (при меньшем увеличении введение маховика может быть малоэффективным, а необходимость "приведения" момента инерции вызвана разной угловой скоростью разных элементов трансмиссии). Согласно уравнению (1) это позволяет при той же величине тормозного момента Мнуменьшить величину углового ускорения торможения и в 2.3 раза. В результате нагрузки, возникающие в лопастях ветроколеса при колебаниях, существенно снижаются, за счет чего не происходит сокращение ресурса, как это имеет место в известных конструкциях ВЭУ и в известных способах управления ВЭУ (торможения).
Таким образом, усложнение трансмиссии, увеличение ее момента инерции позволяет получить не отрицательный, а напротив, положительный эффект в одном из наиболее опасных режимов работы ВЭУ.
Величина тормозного момента при этом может быть значительно увеличена и доведена до уровня номинального момента, передаваемого трансмиссией при работе ветроколеса на номинальной мощности.
По истечении интервала времени, за который колебания лопастей, возникшие от приложения тормозного момента, затухают (в инженерной практике в качестве критерия затухания процесса допустимо использовать уменьшение амплитуд колебаний от начальной до уровня в 10.15% от начальных 100%), возможны дальнейшие операции, связанные с технологией торможения ВЭУ. Для стекло- и углепластиковых конструкций лопастей мощных ВЭУ интервал времени, необходимый для достижения указанных амплитуд колебаний при затухании, составляет 2.5 периодов Т колебаний.
Таким образом, через время t=(2.5)T, где Т
период низшей частоты поперечных колебаний
лопасти в плоскости минимальной жесткости (ветроколесо,
ориентированное во флюгерное положение,
имеет по направлению вращения минимальную
жесткость) производят выключение муфты 11 и
разъединение вращающихся элементов
трансмиссии, по меньшей мере, (в
рассматриваемом варианте конструкции ВЭУ)
на две части:
часть 1: "ветроколесо-вал-мультипликатор-тормоз";
часть 2: "маховик-генератор",
что приводит к скачкообразному возрастанию
углового ускорения торможения, см. фиг. 1.
![]() | Для этого электродвигатель 24 через редуктор 25 вращением винта 26 перемещает гайку 27 и поворачивает рычаг 28, за счет чего толкателем 29 и нажимным элементом 23 производится дополнительное обжатие пружины 22 и размыкание фрикционных дисков 12 и 13. Выключение муфты 11 происходит не внезапно, а в течение некоторого времени, необходимого для освобождения дисков, например, в течение 3 секунд. При постоянстве величины приложенного момента торможения это увеличивает угловое ускорение торможения Jсогласно уравнению (1) за счет уменьшения момента инерции вращающихся частей за счет отключения маховика и генератора. Важно отметить, что увеличение J производится не внезапно и не на полную величину, в результате чего возникающие колебания лопастей имеют значительно меньшую интенсивность, нежели при первом приложении момента торможения или по сравнению с непосредственным приложением момента к разомкнутой трансмиссии. Таким образом, обеспечивается быстрое и эффективное затормаживание ветроколеса, его остановка и удержание в заторможенном положении. Маховик и генератор при этом совершают свободный выбег. При рассмотренном способе управления ВЭУ в режиме торможения существенно снижается тепловыделение в гондоле ВЭУ, так как торможение объединенной трансмиссии с увеличенным моментом инерции занимает время порядка 2.5 периодов собственных колебаний лопасти, например, при частоте 0,8.1,5 Гц и соответственно периода 1,2.0,67 сек. Указанный интервал составляет 2,5.8,0 секунд. После разъединения трансмиссии ветроколесо при указанной величине тормозного момента затормаживается за 10.20 сек. |
Например, когда происходит авария и ВЭУ лишается связи с сетью и оказывается обесточенной это вероятно в случае выхода из строя генератора или устройств электросилового управления и связи с сетью, тормоз 10 перестает удерживать колодки 16 в разведенном состоянии. К трансмиссии прикладывается тормозной момент, а за счет автономного источника питания (на чертежах не показан) производится выведение лопастей во флюгерное положение, размыкание трансмиссии и остановка ветроколеса, которое после остановки остается в заторможенном состоянии. Это обеспечивает повышение безопасности ВЭУ.

Разъединение трансмиссии при торможении может производиться на несколько частей последовательно:
- для однопоточной ВЭУ, изображенной на фиг. 2, на две части;
- для многопоточной ВЭУ на три и более частей последовательно. (Например, см. заявку "Ветроэнергетическая установка", направленную во ВНММГПЭ, исх. N 35/95-4 от 12.04.95г. где рассмотрена многопоточная ВЭУ с последовательным выключением потоков.)
В последнем случае угловое ускорение торможения возрастает пропорционально уменьшению момента инерции, а величина ступени изменения углового ускорения при этом снижается (см. фиг. 3).
![]() | Первичное нагружение при срабатывании тормоза происходит при наибольшем моменте инерции. При отключении первого потока ускорение торможения возрастает до J1, нагружение происходит плавно за время Dt. Нагружение лопастей ветроколеса при этом возрастает плавно. При отключении последующих потоков при дальнейшем нарастании Jдо предельного уровня ускорение торможения определяется моментом инерции ветроколеса и связанных с ним элементов трансмиссии согласно уравнению (1) (см. фиг. 3). В результате заявляемый способ позволяет при таком "грубом" исполнительном устройстве, как механический тормоз колодочного типа, получить не только высокий момент торможения, но и сделать его достаточно благоприятным для нагружения лопастей ветроколеса при высокой эффективности ликвидации аварийной ситуации. Следует отметить, что поскольку в ВЭУ используются преимущественно мультипликаторы повышающие редукторы, то опасность поломки с точки зрения эксплуатации повышается с увеличением номера ступени, т.к. при этом увеличивается скорость вращения и соответственно растет число циклов нагружения и сильнее проявляется усталостный механизм разрушения, в особенности при сроке службы трансмиссии, достигающем 15-25 лет. В то же время при увеличении скорости вращения снижается потребный тормозной момент, что делает тормозные устройства более компактными, уменьшает их энергопотребление. |
Исходя из этого оптимальным является применение тормоза на промежуточной ступени мультипликатора, что дает возможность оптимизации параметров тормозных устройств: например, для 2-х ступенчатого мультипликатора на промежуточной ступени с организацией специализированного потока для уменьшения габаритов тормоза. Это позволяет получить повышенную надежность ВЭУ, т.к. механические поломки более вероятны на высокоскоростной ступени мультипликатора.
В то же время с общих позиций не является принципиальным для достижения целей заявляемого изобретения, в каком месте трансмиссии прикладывают тормозной момент. При его приложении к промежуточному валу имеет место дополнительный положительный эффект, как показано выше. Поэтому данный признак способа вынесен в дополнительный пункт формулы изобретения.
Предварительное аэродинамическое ограничение мощности может осуществляться различными путями, например, установкой лопастей на углы, ограничивающие развиваемую мощность, или при использовании неуправляемых по углу установки (заклинения) лопастей "уводом" ветроколеса из-под ветра при развороте гондолы ВЭУ в горизонтальной плоскости.
При реализации способа и достижении поставленной цели в общем случае это создает дополнительный эффект, в связи с чем вынесено в дополнительные пункты формулы изобретения.
Уровень снижения мощности 40.60% от номинальной установлен в результате моделирования процессов торможения ветроколеса и трансмиссии ВЭУ для объективно существующего диапазона рабочих параметров ветропотока в расчете на его предельную скорость 20.30 м/с. Установлено, что при ветроколесе, имеющем остаточную мощность в указанном выше диапазоне (при установке лопастей на неоптимальные углы) при приложении тормозного момента Мт=Мн, может быть достигнут устойчивый процесс торможения ВЭУ: ветроколесо теряет обороты, теряет мощность и останавливается за достаточно короткое время, не превышающее одной минуты, что является приемлемым при использовании механических или электромагнитных тормозных устройств и допустимом тепловыделении в гондоле ВЭУ.
Для повышения эффективности торможения, например при отказе системы управления положением лопастей ВЭУ после предварительного ограничения мощности или неточном выведении из-за погрешностей или ошибок, возможно дополнительное приложение тормозного момента к выходному валу мультипликатора, которое практически может быть реализовано установкой дополнительного механического на выходном валу мультипликатора или на валу генератора, причем генератор может использоваться в качестве электромагнитного тормоза.
В связи с этим признаки в части: "дополнительного приложения тормозного момента к выходному валу мультипликатора" и "к валу генератора", а и создание его за счет перевода генератора в режим электромагнитного тормоза",- вынесены в дополнительные пункты формулы изобретения.
Использование указанных признаков вместе с п. 1 способа позволяет дополнительно сократить время торможения ВЭУ и снизить тепловыделение в гондоле.
В тех случаях, когда ВЭУ работает при скоростях ветропотока Vном и развивает мощность менее номинальной, а именно менее 40% номинальной, торможение осуществляют не производя предварительного аэродинамического ограничения мощности. Этот режим как дополнительный, расширяющий возможности заявляемого способа и вынесен в дополнительный пункт формулы изобретения.
С позиций достижения максимального эффекта разъединение трансмиссии производят по истечению временного интервала t=(2.5)T во избежание наложения колебаний и возникновения увеличенных напряжений в лопастях ветроколеса, как иллюстрировано на фиг. 1 и 3, хотя даже при нарушении этого условия реализуемое в заявляемом способе динамическое нагружение лопасти существенно благоприятнее, нежели при реализации известных способов. Поэтому данный признак вынесен в дополнительный пункт формулы.
Заявляемый способ,по сути, впервые решает практическую задачу быстрого и эффективного (и многократного) останова ветроколеса при разного рода аварийных ситуациях, позволяя при этом реализовать тормозной момент наибольшей величины, объективно ограниченный прочностными возможностями конструкции ВЭУ, и позволяет создавать автономно работающие ВЭУ, не требующие обслуживающего персонала даже в потенциально аварийных ситуациях, т.к. аварийные алгоритмы работы ВЭУ могут быть четко регламентированы, в рассматриваемом режиме управления с помощью заявляемого способа.
На практике это ВЭУ для объектов Минобороны, удаленных фермерских хозяйств, маяков и др. объектов, доступ к которым затруднен.
Таким образом, заявляемый способ является прогрессивным, а его использование позволяет создать положительный эффект: расширить возможности управления ВЭУ и тем самым повысить экономичность за счет расширения диапазона рабочих скоростей рабочих ветропотоков в режиме работы ВЭУ на отдачу мощности, а и за счет сокращения продолжительности переходных процессов торможения и остановки ВЭУ; повысить надежность и безопасность работы ВЭУ за счет применения в ней дистанционно включаемых устройство торможения; повысить безопасность эксплуатации ВЭУ при работе персонала; повысить ресурс ВЭУ за счет снижения динамических нагрузок, действующих на узлы и агрегаты трансмиссии ВЭУ, силовую конструкцию и лопасти ветроколеса.
[1] Авторское свидетельство СССР N 1076617 от 28.05.82 г. кл. F 03 D 1/00 аналог.
[2] Авторское свидетельство СССР N 1325189 от 07.01.86 г. кл. F 03 D 7/04 прототип.
[3] Тормоз колодочный. Тип ТКП 300 У2 ПВ 25% 220 V, ТУ 24 -1 -1787-78.
[4] Техническое предложение. "Разработка мер предотвращение колебательных режимов при работе агрегата "Ветроэн-250". ТП.ВЭТ-250.03.94. М. Фирма "Общемаш-инжиниринг", 1994.
ФОРМУЛА ИЗОБРЕТЕНИЯ
1. Способ управления ветроэнергетической установкой, включающий аэродинамическое ограничение мощности, развиваемой ветроколесом, за счет изменения положения его лопастей относительно ветра, и остановку ветроколеса, отличающийся тем, что производят предварительное аэродинамическое ограничение мощности в течение предварительного временного интервала, за который понижают мощность на ветроколесе не менее чем на 40 60% от ее номинального значения, далее одновременно с выводом генератора из сети на аэродинамическое ограничение мощности ветроколеса дополнительно накладывают механическое торможение всей системы вращающихся элементов установки, при этом величину момента торможения задают постоянной и соответствующей величине номинального момента в трансмиссии установки, после чего, сохраняя момент торможения, скачкообразно уменьшают момент инерции вращающихся и подвергаемых торможению элементов установки путем разъединения системы вращающихся элементов установки на несколько частей, по меньшей мере на две.
2. Способ по п. 1, отличающийся тем, что изменение положения лопастей ветроколеса осуществляют уводом ветроколеса из-под ветра.
3. Способ по п. 1, отличающийся тем, что изменение положения лопастей ветроколеса осуществляют переводом лопастей во флюгерное положение.
4. Способ по п.1, отличающийся тем, что тормозной момент к вращающимся элементам установки прикладывают к промежуточному валу многоступенчатого мультипликатора.
5. Способ по пп.1 и 4, отличающийся тем, что дополнительно прикладывают тормозной момент к выходному валу мультипликатора.
6. Способ по пп.1 и 5, отличающийся тем, что дополнительный тормозной момент прикладывают к валу генератора.
7. Способ по пп.1, 5 и 6, отличающийся тем, что дополнительный тормозной момент создают за счет перевода генератора в режим электромагнитного тормоза.
8. Способ по пп. 1 и 7, отличающийся тем, что электромагнитный тормоз включают при отсутствии регулирования угла положения лопастей.
9. Способ по п.1, отличающийся тем, что на уровнях мощности ветроколеса менее 40% от номинальной торможение вращающихся элементов установки и остановку ветроколеса осуществляют непосредственно без аэродинамического ограничения мощности.
10. Способ по п.1, отличающийся тем, что скачкообразное изменение момента инерции вращающихся частей установки производят через интервал времени t (2 5)T, где T период низшей частоты колебаний лопасти ветроколеса в плоскости наименьшей жесткости.
Версия для печати
Дата публикации 02.04.2007гг
Created/Updated: 25.05.2018
|


