| Начало раздела Производственные, любительские Радиолюбительские Авиамодельные, ракетомодельные Полезные, занимательные | Хитрости мастеру Электроника Физика Технологии Изобретения | Тайны космоса Тайны Земли Тайны Океана Хитрости Карта раздела | |
| Использование материалов сайта разрешается при условии ссылки (для сайтов - гиперссылки) | |||
Навигация: => | На главную/ Каталог патентов/ В раздел каталога/ Назад / |
|
ИЗОБРЕТЕНИЕ
Патент Российской Федерации RU2075633
![]()
ВЕТРЯНОЙ ДВИГАТЕЛЬ
Имя изобретателя: Чередниченко Сергей Васильевич
Имя патентообладателя: Чередниченко Сергей Васильевич
Адрес для переписки:
Дата начала действия патента: 1994.05.19
Использование: применяется в ветроэнергетике. Сущность изобретения: ветродвигатель содержит цилиндрический кожух, состоящий из двух частей - верхней и нижней с прорезями, в котором помещено ветроколесо с изогнутыми лопастями, укрепленными на горизонтальном валу. Внутри кожуха расположен горизонтальный вал с зубчатыми колесами, укрепленный с одной стороны на несущей опоре, а с другой стороны соединен с электродвигателем и редуктором. Кроме того, внутри кожуха, между лопастями ветроколеса и стенкой кожуха на полках расположены заслонки, состоящие из отдельных пластин, прикрепленных к несущим рейкам, к которым прикреплены колеса на оси. Заслонки, располагались двумя группами по периметру, объединены с двух сторон цепью и укреплены на валу с зубчатыми колесами. Кроме того, на месте прорезей, к верхней и нижней части кожуха прикреплены диффузоры. Один конец горизонтального вала ветроколеса соединен через муфту с генератором, а на другом конце вала расположено тормозное устройство и шкив. При работе ветродвигателя предусмотрено автоматическое и неавтоматическое регулирование ветряного потока, направленного к лопастям ветроколеса.
ОПИСАНИЕ ИЗОБРЕТЕНИЯ
Предлагаемое изобретение относится к ветроэнергетике и может быть использовано для выработки электроэнергии, а и в качестве привода для насоса, маслобойки и т.д.
Известно, что был предложен ветряной двигатель (заявка N 4867617/06), в котором барабанное ветроколесо с изогнутыми лопастями на горизонтальном валу помещено в цилиндрический кожух, содержащий верхнюю и нижнюю часть, с прорезями, при этом к каждой части укреплен шарнирно раскрывающийся при необходимости щит. Ветродвигатель располагает устройствами для автоматического регулирования воздушного потока, направленного к лопастям ветроколеса. Кроме того, предложен ветродвигатель (а. с. СССР N 846776, кл. F 03 D 3/00, опубликованное 1981 г. ), содержащий ветряное колесо с изогнутыми лопастями, укрепленными на горизонтальном валу, при этом ветроколесо расположено в кожухе с управляемыми щитами, которые укреплены при помощи шарниров. Управление ветряным потоком производится с помощью флюгера. Несмотря на многие сходные технические признаки, предложенные в заявке, а и по авторскому свидетельству 1985 г. такие ветродвигатели целесообразно использовать в стационарных условиях для объединения ветродвигателей в комплексе ветростанции.
В настоящее время есть необходимость в более мобильных ветродвигателях, с расширенными возможностями мест их применения.
Осуществление такого технического результата может быть достигнуто при условии изготовления ветродвигателя с устройствами, выполняющими автоматическое регулирование воздушного потока, направленного к лопастям ветроколеса, а и оснащение его более совершенными конструктивными элементами, эстетического и технического направления, при помощи которых станет возможным более полное использование ветровой энергии. Один из таких примеров это использование ветряного потока на движущемся транспорте, как например на теплоходе класса "Ракета". Кроме того использование конфузоров различной длины даст возможность размещению ветродвигателя в закрытых помещениях в местах с экстремальными погодными условиями.
Сущность данного предложения в том, что ветроколесо с изогнутыми лопастями, укрепленными на горизонтальном валу, расположено в кожухе, состоящем из двух частей верхней и нижней, с прорезями и торцевыми стенками, при этом между стенками кожуха и ветроколесом расположены на полках 2 группы заслонок.
Заслонки состоят из отдельных пластин, укрепленных к несущим рейкам, при этом по бокам реек укреплены вращающиеся на оси колеса.
Ось вращающегося колеса, укрепленного к несущей рейке, является соединением между двумя сегментами цепи. Цепь с одной стороны и цепь с другой стороны объединяет 2 группы пластин с расстоянием между ними, равным около четверти длины периметра цилиндрического кожуха.
Полки, на которых расположены заслонки, укреплены внутри цилиндрического кожуха.
Внутри цилиндрического кожуха расположен горизонтальный вал с зубчатыми колесами, укрепленный с одной и другой стороны к опорным подшипникам и присоединенный с помощью полумуфт к электродвигателю с редуктором, при этом один из выступающих концов вала может быть соединен с другим горизонтальным валом при помощи полумуфт.
Заслонки, расположенные на полках, и горизонтальный вал с зубчатыми колесами объединены цепью с двух сторон.
Ветродвигатель снабжен диффузорами, укрепленными в верхней и нижней части цилиндрического кожуха, при этом каждый диффузор имеет перегородки.
Цилиндрический кожух, а и ветроколесо крепятся на несущей конструкции, на одном конце которой расположен опорный подшипник и электрогенератор, а на другом опорный подшипник, тормозное устройство, а и электродвигатель с редуктором.
Ветродвигатель снабжен конечными выключателями, которые производят отключение в момент полного открытия или закрытия прорезей заслонками при помощи кронштейна (флажка).
Ветродвигатель снабжен датчиками давления, которые при автоматическом регулировании ветром, включают или отключают электродвигатель в зависимости от силы ветра.
Ветродвигатель снабжен многосекционным переключателем, который переключает с автоматического режима работы на неавтоматический (ручной) режим работы и наоборот.
Пуск и остановка электродвигателя производится и с помощью реверсивных магнитных пускателей и кнопочной станцией.
![]() | ![]() |
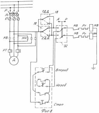
Сущность предлагаемого изобретения поясняется на чертежах, где на фиг. 1 изображен ветряной двигатель (вид сбоку), на фиг. 2 изображен ветряной двигатель (вид спереди). На фиг. 3 изображен ветряной двигатель (вид сверху). На фиг. 4 изображена часть заслонки, объединенная с горизонтальным валом с одной и другой стороны цепью (вид сверху). На фиг. 5 изображен узел крепления полок к кожуху, крепление конечного выключателя, установка несущей рейки с колесами на полке, крепление флажка, отключающего конечный выключатель (вид спереди). На фиг. 6 изображен датчик давления (вид спереди). На фиг. 7 изображен датчик давления, показанный с разрезом. На фиг. 8 изображена схема автоматического и ручного управления работы электродвигателя с редуктором. На фиг. 9 изображен удлиненный вал электродвигателя с укрепленным на нем маховиком (вид спереди).


![]() | ![]() | ![]() |
Устройство ветряного двигателя содержит в себе барабанное ветроколесо с изогнутыми лопастями (1) фиг. 1 и закрепленными на горизонтальном валу (2) фиг. 2, фиг. 3, установленное на подшипниках (3), к несущим опорам (4). Барабанное ветроколесо помещено в цилиндрический кожух (5), состоящий из верхней и нижней части, соединенных между собой с одной стороны при помощи шарниров, а с другой стороны при помощи крепежных деталей. Верхняя и нижняя часть кожуха имеет прорези и торцевые стенки. Верхняя и нижняя часть кожуха содержат полки (6) (выступы), укрепленные к торцевым стенкам. На полках, между ветроколесом и стенкой кожуха расположены заслонки, состоящие из отдельных пластин (7), укрепленных к несущим рейкам (8). К рейкам (8) укреплены по бокам вращающиеся на оси колеса (9) фиг. 4, фиг. 5. Заслонки, состоящие из 2 групп, объединены с одной и другой стороны цепью (10), при этом ось колеса (9) является и связующей осью для сегментов цепи. Внутри кожуха расположен горизонтальный вал (11) с закрепленными на нем зубчатыми колесами (12). Вал (11) укреплен к опорным подшипникам (13) и соединен с помощью полумуфт с валом электродвигателя с редуктором (14) фиг. 2, фиг. 3. Цепь (10), расположенная по периметру цилиндрического кожуха и объединяющая 2 группы заслонок, укреплена с двух сторон зубчатыми колесами (12), расположенными на горизонтальном валу (11) фиг. 4, фиг. 5. На первой и последней несущей рейке (8) укреплены флажки (15).
Ветродвигатель снабжен диффузорами (16) фиг. 1, фиг. 2 с перегородками, которые укреплены на месте прорезей верхней и нижней части кожуха. Ветродвигатель снабжен конечными включателями (17) фиг. 1, укрепленными к торцевой стенке кожуха.
![]() | ![]() |
Система управления электродвигателем снабжена датчиком давления (18) фиг. 6, фиг. 7, с укрепленными воронками-уловителями воздушного потока (19). Датчик давления состоит из корпуса (20) фиг. 7, чувствительного элемента (21) сильфонного типа, настроечной пружины (22), фиксирующей шайбы (23), маховичка (24), втулки (25), укрепленной к микропереключателю (26), пружины (27) страховочной гайки (28), а и предусмотрены три провода (29), выведенные через сальниковое уплотнение (30). К воронке-уловителю (19) укреплен полный изогнутый стержень (31), который укреплен к датчику давления (18). Кроме того система управления снабжена многосекционным переключателем (32), реверсивным пускателем и кнопочной станцией в соответствии со схемой (фиг. 8). В системе ветростанции горизонтальный вал (2) барабанного ветроколеса соединен с помощью полумуфт (33) с горизонтальным валом другого ветроколеса, при этом один из свободных концов объединенного вала соединен с помощью полумуфт (34) с электрогенератором (35), а на другом конце расположены тормозное устройство (36) и шкив (37) фиг. 3. Кроме того, один из выступающих концов горизонтального вала (11) соединен с помощью полумуфт (38) с аналогичным валом другого цилиндрического кожуха. Один из концов объединенного вала соединен с электродвигателем и редуктором (14), при этом электродвигатель имеет в задней его части удлиненный вал (39), приспособленный для крепления маховика (40) фиг. 9. Ветродвигатель снабжен флюгером, установленным на видном месте для оператора. |
Ветродвигатель используется следующим образом. Определив место установки, ветродвигатель устанавливается таким образом, чтобы верхняя часть цилиндрического кожуха (5) фиг. 1, фиг. 2 с прорезями были бы ориентированы в сторону преимущественного направления ветра. При подключении электроэнергии (аварийного освещения) к системе управления электродвигателем (14) с редуктором, который введен в режим ручного (полуавтоматического) регулирования, электродвигатель включается с помощью кнопки управления и реверсивного магнитного пускателя (на фиг. 8 многосекционный переключатель переключен на ручное управление), при этом электродвигатель создает свои усилия через редуктор на вал (11). Вал (11), вращаясь вместе с зубчатыми колесами, увлекает соединенную с двух сторон цепь, вместе с заслонками, открывая при этом прорези кожуха (5) фиг. 4, фиг. 5 как в верхней части, так и в нижней его части одновременно. При полном открытии прорезей электродвигатель отключается с помощью кнопки управления или с помощью конечного выключателя (17) и флажка (15), которые при полном открытии, а и полном закрытии отключают электродвигатель. После открытия прорезей воздушный поток, проходя через диффузор (16) фиг. 2, приобретая с помощью перегородок определенную направленность, поступает к лопастям ветроколеса. В это время воздушный поток, попадая в закрытое пространство, движется по кругу в цилиндрическом кожухе, при этом воздействуя на лопасти ветроколеса, создавая тем самым усилия для его вращения в необходимом направлении. Вращение ветроколеса через полумуфты (34) передается на генератор (35), вырабатывающий электроэнергию.
При переключении с помощью многосекционного переключателя (32) фиг. 8 на автоматизированный режим регулирования воздушного потока, направленного на лопасти ветроколеса, система управления действует следующим образом. При усилении скорости ветра выше нормы производится автоматическое закрытие прорезей цилиндрического кожуха (5) заслонками, при этом ветряной поток попадая в воронку-уловитель (19) через полный изогнутый стержень (31) фиг. 6, создает свои усилия на чувствительный элемент (21) датчика давления (18) и настроечную пружину (22) фиг. 7. Чувствительный элемент, создавая свои усилия на кнопку микропереключателя (26), размыкает цепь катушки КВ магнитного пускателя, при этом клемма микропереключателя (26), двигаясь выше, замыкает верхние контакты. В этом случае электрический ток, проходя через данную клемму, через многосекционный переключатель (32), конечный выключатель (17) расположенный на кожухе (5) фиг. 1, через тепловое реле пускателя и катушку КН. При этом электродвигатель (14) включается, вращаясь в обратную сторону, закрывая прорези верхней и нижней части кожуха заслонками. Заслонки в это время, расположенные на полках (6) двумя группами, продвигаясь на вращающихся колесах (9) с помощью цепи и укрепленного к ней горизонтального вала (11), закрывают прорези в верхней и нижней части кожуха одновременно. В момент полного закрытия прорезей флажок (15) фиг. 5 отключает конечный выключатель для катушки КН. Катушка размыкается, размыкая главные силовые контакты электродвигателя. Электродвигатель останавливается.
При ослаблении ветряного потока до нормальных значений клемма микропереключателя отпускается вниз, замыкая нижние контакты, включая цепь катушки КВ, при этом электродвигатель (14) включается, раскрывая прорези кожуха. В случае изменения ветра на противоположный, автоматическое регулирование будет проводить другой датчик давления (18) в соответствии со схемой фиг. 8, при этом второй датчик давления (18) повторяет (дублирует) работу первого. А в это время ветряной поток, проходя через диффузор (16), приобретая с помощью перегородок необходимое направление, поступает к лопастям ветроколеса через нижнюю часть кожуха (5), не изменяя при этом направление движения ветроколеса.
Для наиболее благоприятной скорости вращения ветроколеса производится настройка датчиков давления (18). Для этого с помощью маховичка (24), фиксирующей шайбы (23) и страховочной гайки (28) прижимают или отпускают настроечную пружину (22) чувствительного элемента (21) с тем, чтобы замедлить или ускорить процесс переключения датчика давления (18). Если, например, прижать настроечную пружину, то момент включения на закрытие прорезей заслонками замедлится, при этом ветроколесо будет использовать более высокую скорость ветра. Неавтоматическое (ручное) управление производится в случае ремонта датчика давления, в случае проверки работы какой-либо детали ветродвигателя, а и в случае сильного порывистого ветра. В связи с этим производится переключение с автоматического на ручной режим работы системы управления путем поворота ручки многосекционного переключателя (32). После этого, если, например, необходимо открыть прорези, нажимается кнопка управления "Вперед". Эта кнопка соединена с системой управления (фазным проводом), проходящей через кнопку "Стоп", а и через замкнутые блокирующие контакты кнопки "Назад".
В момент нажатия кнопки "Вперед" электрический ток проходит через клеммы данной кнопки, замкнутые контакты многосекционного переключателя (32) фиг. 8, конечного выключателя (17), через тепловое реле пускателя и катушку КВ, где, встречаясь с нулевым проводом, создается магнитное поле, которое притягивает сердечник магнитного пускателя вместе с подвижными силовыми контактами КВ, при этом электродвигатель включается, открывая прорези от заслонок настолько, насколько это необходимо. Если отжать (отпустить) кнопку "Вперед", то контакты данной кнопки разомкнутся. Размыкается и цепь электрической катушки КВ. В результате чего размыкается сердечник магнитного пускателя вместе с силовыми контактами КВ, и электродвигатель (14) останавливается.
Включение электродвигателя в обратном направлении производится, если нажать кнопку "НАЗАД". Эта кнопка соединена с замкнутой системой управления (фазным проводом), проходящей через кнопку "СТОП" и через замкнутые блокирующие контакты кнопки "ВПЕРЕД". В момент нажатия кнопки "НАЗАД" электрический ток проходит через клеммы данной кнопки, через замкнутые контакты многосекционного переключателя (32), через конечный выключатель (17), расположенный на кожухе ветродвигателя, через тепловое реле пускателя и катушку КН, где, встречаясь с нулевым проводом, создается магнитное поле, которое притягивает сердечник с силовыми контактами КН пускателя, в результате чего электродвигатель включается, вращаясь в обратную сторону, закрывая тем самым прорези кожуха настолько, насколько это необходимо. В случае отключения аварийного освещения, для открытия или закрытия прорезей кожуха (5) на удлиненный вал (39) электродвигателя (14) укрепляется маховик (40), с помощью которого производится вращение в необходимом направлении, открывая или закрывая прорези кожуха заслонками.
ФОРМУЛА ИЗОБРЕТЕНИЯ
1. Ветряной двигатель, содержащий ветряное колесо с изогнутыми лопастями, укрепленными на горизонтальном валу, расположенное в цилиндрическом кожухе, составленном из двух частей верхней и нижней с прорезями, снабженных заслонками, отличающийся тем, что к торцевым стенкам внутри кожуха прикреплены полки, на которых расположены заслонки, объединенные с двух сторон цепью и укрепленные на горизонтальном валу с зубчатыми колесами.
2. Двигатель по п.1, отличающийся тем, что к верхней и нижней частям кожуха на месте прорезей прикреплены диффузоры с перегородками.
3. Двигатель по п.1, отличающийся тем, что заслонки состоят из отдельных пластин, прикрепленных к несущим рейкам, снабженным вращающимися колесами на оси.
4. Двигатель по п.1, отличающийся тем, что горизонтальный вал с зубчатыми колесами прикреплен на подшипниках к несущей опоре и соединен с помощью полумуфт с электродвигателем, с редуктором, при этом вал электродвигателя в задней части удлинен и имеет приспособление для вращения его с помощью маховика.
5. Двигатель по п.1, отличающийся тем, что система управления снабжена датчиками управления с уловителями воздушного потока, конечными выключателями, многосекционным переключателем, реверсивным магнитным пускателем и кнопочной станцией.
Версия для печати
Дата публикации 02.04.2007гг
Created/Updated: 25.05.2018
|







