| Начало раздела Производственные, любительские Радиолюбительские Авиамодельные, ракетомодельные Полезные, занимательные | Хитрости мастеру Электроника Физика Технологии Изобретения | Тайны космоса Тайны Земли Тайны Океана Хитрости Карта раздела | |
| Использование материалов сайта разрешается при условии ссылки (для сайтов - гиперссылки) | |||
Навигация: => | На главную/ Каталог патентов/ В раздел каталога/ Назад / |
|
ИЗОБРЕТЕНИЕ
Патент Российской Федерации RU2199023
![]()
ВЕТРОЭНЕРГЕТИЧЕСКИЙ КОМПЛЕКС
Имя изобретателя: Чабанов Алим Иванович (UA); Чабанов В.А. (RU); Павлюк Виталий Григорьевич (UA); Андрианов Иван Тимофеевич (UA); Смарж Иван Ильич (UA); Королев В.М. (RU); Соболев В.М. (RU); Титов Н.Ф. (RU); Головченко А.И. (RU); Рыженков А.Я. (RU); Маленков А.Г. (RU); Елагин В.Ф.
Имя патентообладателя: Общество с ограниченной ответственностью Научно- производственная корпорация "Элевит"
Адрес для переписки: 400005, г.Волгоград, пр-т Ленина 88, оф.313, ООО НПК "Элевит"
Дата начала действия патента: 2000.11.27
Изобретение относится к ветрогелиоэнергетике. Ветроэнергетический комплекс включает несущую башню с установленными на ее торце на поворотной платформе ветроколесом, сочлененным с электрогенератором, два воздухопроницаемых гелиопреобразователя, расположенных один над другим на опорах над технологическим вспомогательным пространством с установленным там теплогенерирующим производственным оборудованием, накрытых светопроницаемым теплоизолирующим материалом в виде куполов, образованных из двух поверхностей. Пространство под нижним гелиопреобразователем сообщается с атмосферным воздухом посредством проема над потолком технологических вспомогательных пространств, а воздушная полость под верхним гелиопреобразователем сообщается с теплогенерирующим оборудованием, расположенным в технологическом вспомогательном пространстве, посредством вентиляционных воздуховодов. Верхний проем воздушной полости над верхним гелиопреобразователем накрыт вспомогательной втулкой, закрепленной относительно корпуса несущей башни с внутренней цилиндрической полостью, выходное отверстие которой закрыто посредством поворотного фланца, снабженного инжектирующим воздушный поток соплом. Положение ветроколеса и инжектирующего сопла синхронизировано посредством датчика направления ветра и связанных с ним управляющих устройств с перемещением поворотной платформы. Верхний гелиопреобразователь имеет дополнительный теплоаккумулирующий слой. Тепловые потоки, выходящие из инжектирующего сопла, создают область пониженного давления, что усиливает ветропоток, воздействующий на ветроколесо, и увеличивает выработку электроэнергии. Ветроэнергетический комплекс позволяет вырабатывать на 50% и больше товарной электроэнергии при минимальных затратах и дает дополнительный эффект от эксплуатации созданных технологически связанных с выработкой электроэнергии производственных помещений, представляет владельцам эксплуатируемых ветроэлектроагрегатов провести их экономически эффективную реконструкцию.
ОПИСАНИЕ ИЗОБРЕТЕНИЯ
Изобретение относится к ветрогелиоэнергетике, а именно к установкам, преобразующим энергию ветра и солнечных лучей в электрическую и тепловую.
Известно техническое решение, использующее разность температурных режимов, создающих воздушные потолки восходящего типа и ветронагрузку для выработки экологически чистой энергии [патент России "Башенный двигатель" 2038511, F 03 D 3/04, опубл. 27.06.95], включающее полую башню, ветроколесо и генератор, кинематически связанный посредством вала с ветроколесом, при этом башня выполнена в виде вертикального конфузора, с входными каналами в нижней своей части, снабженными заслонками, а ветродвигатель снабжен вытяжной трубой, сообщающейся с источником тепла, в т.ч. гелиотепла от чердачных помещений.
Недостатком данного технического решения является нестабильность его работы вследствие перепадов ветровой нагрузки и малой мощности используемых тепловых источников для создания восходящих воздушных потоков.
Известно техническое решение "Солнечная ветроустановка" [см. заявку ФРГ 3312977, F 03 D 9/00, опубл. 1984], включающее ветроколесо и электрогенератор, полую несущую башню, гелионагреватель воздуха с расположенным над ним прозрачным покрытием, образующим воздушный канал, сообщающийся с полостью несущей башни.
Данное техническое решение позволяет получить более мощные восходящие потоки воздуха, повышающие КПД энергоустановки.
К недостаткам данной установки относится дороговизна элементов гелионагревателя, нестабильность работы при различных погодных условиях.
Наиболее близким техническим решением к предлагаемому является устройство, включающее несущую башню с ветроколесом, сочлененным с электрогенератором, гелиопреобразователь с прозрачным сужающимся куполом, образующим полость над гелиопреобразователем, и имеющим нижний и верхний проемы для прохода воздуха, теплоаккумулятор, установленный в полости [см. а.с. СССР 1625999 "Солнечный двигатель", F 03 G 6/00, F 24 J 2/42, опубл. 07.02.91].
Данное техническое решение позволяет стабилизировать выработку электроэнергии во времени, но и не обеспечивает достаточно высоких КПД и мощности вырабатываемой электроэнергии, отличается высокими капитальными вложениями и высокой стоимостью единицы производимой электроэнергии.
В то же время ветроэлектроэнергетика является быстро развивающейся отраслью электроэнергетики в промышленно развитых государствах. Уже достигнуто во многих моделях ветроэлектроагрегатов снижение стоимости одного киловатта установленной мощности до уровня строящихся электростанций на угле и продолжается работа над ее снижением до уровня электростанций, работающих на газе.
Самым существенным недостатком ветроэлектроагрегатов, однако, является относительно невысокий коэффициент среднегодового использования их проектной мощности, составляющий, как правило, 40-50%.
Это объясняется тем, что осредненная по году скорость естественного ветропотока (чаще всего она находится в пределах 5-6 м/сек) реально снижена относительно ее значений для проектной мощности ветроэлектроагрегата, который рассчитывается на номинальную нагрузку при скорости 11-12 м/сек ветрового потока.
Превышение скорости ветра в пределах 12-25 м/сек не находит соответствующего надежного сбыта ветроэлектроэнергии в случайные промежутки времени из-за плановой работы других электростанций в мощных энергосистемах, ибо спорадические снижения нагрузок этих электростанций снижают их экономические показатели; кроме того имеет место и конкуренция производителей электрической энергии.
Задача аккумулирования ветроэлектроэнергии в подавляющем большинстве случаев не находит удовлетворительного решения в части недорогих конструктивных исполнений.
На преодоление указанных негативных факторов направлено предлагаемое техническое решение.
Техническим результатом предлагаемого технического решения является повышение КПД эксплуатируемых и проектируемых ветроэнергетических установок, увеличение мощности вырабатываемой ими электроэнергии, снижение удельных капитальных вложений и себестоимости единицы вырабатываемой электроэнергии при обеспечении максимальной эффективности занимаемых ветроэнергоустановкой прилегающих территорий.
Указанный технический результат при осуществлении изобретения достигается тем, что относительно известного устройства, включающего несущую башню с ветроколесом, сочлененным с электрогенератором, гелиопреобразователь с прозрачным суживающимся куполом, образующим полость над гелиопреобразователем и имеющим нижний и верхний проемы для прохода воздуха, теплоаккумулятор, установленный в полости, имеются отличия, а именно: прозрачный суживающийся купол, выполненный из светопроницаемото теплоизолирующего материала, образован из двух поверхностей, закрывающих в виде куполов две последовательно соединенные полости, в основании которых расположены гелиопреобразователи, установленные один над другим на опорах, проходящих через образованные нижним гелиопреобразователем технологические вспомогательные пространства с установленным там оборудованием, в том числе экзотермическим, при этом нижний гелиопреобразователь выполнен в виде охватывающей корпус несущей башни, по крайней мере с 3-х сторон, гелиопоглощающей воздухопроницаемой платформы с размещенным на ней гелиопоглощающим слоем, а верхний, с геометрически подобным основанием меньшей площади, выполнен в виде гелиопреобразующей платформы, состоящей из двух энергопреобразующих воздухопроницаемых слоев, в том числе, верхнего - гелиопоглощающего и нижнего - теплоаккумулирующего с высокой тепло- и воздухопроводностью и несущего воздухопроницаемого основания, причем под нижним гелиопреобразователем образован проем для прохождения нагреваемого атмосферного воздуха, для чего технологические вспомогательные пространства оборудованы дополнительным потолком, при этом верхний проем нижнего прозрачного купола состыкован по периметру с несущим воздухопроницаемым основанием гелиопреобразующей платформы, а верхний проем верхнего - со вспомогательной втулкой с внутренней цилиндрической полостью, закрепленной относительно корпуса несущей башни, причем ее верхнее выходное отверстие закрыто посредством поворотного фланца, кинематически сочлененного с корпусом вспомогательной втулки и снабженного инжектирующим воздушный поток соплом, при этом поворотный фланец соединен с электроприводом, который через устройство управления электрически связан с датчиком направления атмосферного ветра и синхронизирован по перемещению с установленной на верхнем торце несущей башни поворотной платформой со смонтированными на ней ветроколесом и электрогенератором, при этом к несущему воздухопроницаемому основанию гелиопреобразующей платформы закреплены съемные подвески с расположенными в них теплогенерирующими устройствами, которые через устройства управления электрически связаны с электрическим выходом электрогенератора, и пристыкованы теплогенерирующие воздухоканалы вентиляционных систем из технологических вспомогательных пространств, причем в потолке и гелиопоглощающей платформе выполнены открывающиеся посредством управляемых приводов технологические проемы.
Создание системы сообщающихся замкнутых полостей и пространств, воспринимающих гелиотепло, а и тепло производственных экзотермических процессов, концентрирующих и преобразующих их в энергию воздухопотока в сочетании с системой, синхронизирующей движение этого воздухопотока с направлением естественного ветра, и направляющей его с тыльной стороны ветроколеса вверх и в направлении ветра, позволяет увеличить выработку электроэнергии генератором, а и увеличить КПД установки даже при незначительных скоростях естественного ветра.
Конструкция системы теплоаккумуляции солнечной и ветровой энергий, представляющая и возможность совместного использования тепла экзотермических производств, выполненная из дешевых и доступных материалов, позволяет снизить капитальные затраты на строительство ветроэнергокомплекса, уменьшить себестоимость единицы вырабатываемой электроэнергии при увеличении эффективности используемых ветроэнергоустановкой охватываемых ею площадей.
Кроме того, отличие от известного устройства состоит в том, что в технологических вспомогательных пространствах созданы теплоизолированные помещения, где размещены холодильные агрегаты овощехранилищ и морозильников, теплогенерирующие элементы которых размещены в воздухоканалах вентиляционных систем.
Создание теплоизолированных помещений, оборудованных холодильными агрегатами, с целью обеспечения холодным воздухом, например, морозильников и овощехранилищ, позволяет высокоэкономичным путем дополнительно повысить эффективность использования занятых ветроэнергоустановкой площадей и включить бросовое тепло, вырабатываемое теплогенерирующими элементами этих устройств в процессе извлечения холода из окружающей среды, в общую систему, концентрирующую тепло в инжектируемом воздухопотоке, и тем самым повысить КПД ветроэнергоустановки и ее мощность.
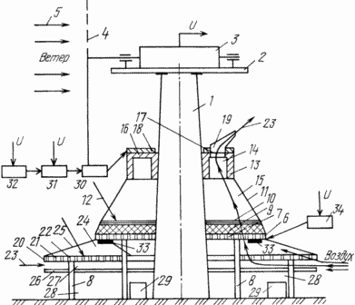
На чертеже представлена схематическая компоновка ветроэнергокомплекса.
![]() | На несущей башне 1 установлена поворотная платформа 2, на которой установлен электрогенератор 3, вырабатывающий электрическую энергию с электрическим напряжением U. Электрогенератор 3 посредством соединительного вала сочленен с ветроколесом 4, лопасти которого находятся под воздействием потока естественного ветра 5. |
К корпусу несущей башни 1 закреплено несущее воздухопроницаемое основание 6 охватывающее несущую башню 1, по меньшей мере, с трех сторон, и выполненное, например, из металлических листов с множеством отверстий 7 малого диаметра. В предложенном ветроэнергокомплексе северная часть несущего воздухопроницаемого основания 6 имеет проем, как и связанные с ней сопряженные конструктивные элементы комплекса, для обеспечения условий технологического обслуживания различного назначения. Несущее воздухопроницаемое основание 6 установлено на опоры 8. На несущем воздухопроницаемом основании 6 размещен воздухопроницаемый теплоаккумулятор 9 в виде теплоаккумулирующего слоя, верхняя плоскость которого выполнена и воздухопроницаемой и покрыта воздухопроницаемой гелиопоглощающей поверхностью 10 из теплопроводящего материала, например, из слоя мелких форм, изготовленных из темного гелиопоглощающего материала, которые совместно составляют гелиопреобразующую платформу. Последняя накрыта сверху светопроницаемым теплоизолирующим материалом 11 в виде купола с конической или призматической поверхностью, соответствующей форме периметра гелиопреобразующей платформы. На чертеже солнечные лучи обозначены номером 12. Верхний проем светопроводящего купола - светопроницаемого покрытия 11 присоединен к нижнему основанию вспомогательной втулки 13, охватывающей наружную поверхность несущей башни 1 и закрепленной относительно нее. Внутренняя цилиндрическая полость 14 вспомогательной втулки 13 является вертикальным продолжением внутренней полости 15, образованной гелиопреобразующей платформой и светопроводящим куполом 11. Верхнее основание 16 вспомогательной втулки 13 содержит выходное отверстие 17, которое закрыто поворотным фланцем 18, закрепленным относительно поверхности верхнего основания 16 вспомогательной втулки 13 посредством, например, опоры скольжения, которая на чертеже не показана. На поворотном фланце 18 по всему проходному сечению выходного отверстия 17 установлено инжекторное сопло 19, внутренняя свободная полость которого через выходное отверстие 17 и внутреннюю цилиндрическую полость 14 связана с внутренней полостью 15 под светопроводящим куполом 11.
Под гелиопреобразующей платформой размещена гелиопоглощающая воздухопроницаемая платформа 20 с размещенным на ней слоем темного теплопроводящего материала 21 с высокой плотностью воздушных каналов 22 в нем. Гелиопоглощающая воздухопроницаемая платформа 20 выходит по своему внешнему периметру за пределы гелиопреобразующей платформы и повторяет, в основном, геометрический контур периметра последней. Воздушные каналы 22 служат для прохождения воздуха 23 из окружающей среды в надплатформенную полость 24, образованную гелиопоглощающей воздухопроницаемой платформой 20 и выполненным над ней покрытием из светопроницаемого теплоизолирующего материала 25 в виде купола, имеющего коническую или призматическую поверхность в зависимости от формы внешнего периметра гелиопоглощающей платформы 20. Верхний проем купола 25 присоединен по всему периметру к несущему воздухопроницаемому основанию 6, так что внутренняя полость 24 под куполом 25 имеет свое продолжение между обеими названными платформами, и в центральной части она ограничена наружной поверхностью несущей башни 1. Гелиопоглощающая платформа 20 охватывает своим внутренним периметром несущую башню 1 и плотно пристыкована к ней, а относительно поверхности земли она поддерживается опорами 8. Под гелиопоглощающей платформой 20 выполнен потолок 26, образующий технологический проем по всему периметру последней для поступления воздуха 23 из окружающей среды в подплатформенное пространство 27. Под потолком 26 образованы технологические вспомогательные пространства 28 для размещения производственного оборудования, в первую очередь для установки в нем экзотермического оборудования 29.
Для автоматической ориентации инжектирующего сопла 19 по направлению ветра 5 поворотный фланец 18 кинематически соединен с электроприводом 30, который через устройство управления 31 электрически связан с датчиком 32 направления ветра 5.
Для использования внутренней полости 24 под гелиопреобразующей платформой во вспомогательных, совместимых с энергопроизводством, технологических процессах, а и для использования избыточной электрической энергии, вырабатываемой в период повышенных скоростей ветра 5, на несущем воздухопроницаемом основании 6 закреплены теплогенерирующие устройства 33 с теплообрабатываемыми продуктами, находящиеся и в воздухотермическом контакте и с теплоемким материалом теплоаккумулятора 9, которые электрически связаны с выходом электрогенератора 3 через устройство управления 34 и которые закреплены относительно несущего воздухопроницаемого основания 6 на съемных подвесках. Их производственно-технологическое обслуживание осуществляется через проемы, выполненные в потолке 26 и гелиопоглощающей платформе 20, что на чертеже не показано. Кроме того, на чертеже не показаны воздуховоды и вентиляционные системы, которые отводят тепловые потоки и испарения от экзотермического оборудования 29 непосредственно к несущему воздухопроницаемому основанию 6, а и установка холодильных агрегатов и размещение их теплогенерирующих элементов в вентиляционных воздухопроводах, так как это понятно и делает чертеж более простым для восприятия.
РАБОТАЕТ УСТРОЙСТВО СЛЕДУЮЩИМ ОБРАЗОМ
Естественный ветер 5, воздействуя на ветроколесо 4, приводит во вращение электрогенератор 3, который вырабатывает электроэнергию с электрическим напряжением U, которая поступает в электрическую сеть и далее к потребителям. При изменении направления естественного ветра 5 поступает сигнал от датчика направления ветра в управляющее устройство, которое приводит к повороту поворотной платформы 2, и таким образом устанавливается положение ветроколеса 4 так, что ветер протекает перпендикулярно к плоскости вращения ветроколеса и далее вдоль оси вала, соединяющего ветроколесо 4 с электрогенератором 3, обтекает корпус последнего. На чертеже электрическая схема управления вращательным движением поворотной платформы 2 не показана.
Одновременно с этим датчик 32 направления ветра 5 через устройство управления 31 воздействует на положение электропривода 30, который приводит во вращение поворотный фланец 18, вследствие чего инжектирующее сопло 19 занимает положение с тыльной стороны несущей башни 1 в отношении положения ветроколеса 4, и по направлению ветра 5. Поверхность инжектирующего сопла 19 может быть выполнена таким образом, что она сама поворачивает выходной проем инжектирующего сопла 19 в подветренное положение, но для этого должно быть обеспечено повышенное качество опоры скольжения поворотного фланца 18. Воздух 23, нагретый воздухопроницаемым теплоаккумулятором 9, гелиопоглощающей поверхностью 10 и гелиопоглощающим материалом 21, если на последние поступает солнечная энергия, через инжектирующее сопло 19 выходит в окружающую среду теплым скоростньм воздухопотоком 23. Этот воздухопоток направляется вверх, расширяясь в объеме, так как его температура превышает температуру окружающей среды, а и и по направлению движения ветра 5. Повышенная температура воздуха 23 за пределами инжектирующего сопла 19 вызывает образование области уменьшенного давления в окружающей среде с тыльной стороны ветроколеса 4, и вследствие наличия ветра 5, даже небольшой его скорости, создаются условия для усиления ветропотока через ветроколесо 4. За счет этого величина вырабатываемой электроэнергии электрогенератором 3 возрастает. Кроме того, для увеличения эффективности использования нагретого воздухопотока 23, выходящего из инжектирующего сопла 19, могут дополнительно закрепляться относительно поворотной платформы 3 и поворотного фланца 18 две параллельные стенки из пленки, отстоящие от оси башни на расстоянии величины радиуса ветроколеса с его подветренной стороны, и сориентированные вдоль ветропотока 5, что ограничивает приток воздуха с боков в область пониженного давления.
Нагрев воздуха 23, поток которого выходит из инжектирующего сопла 19, происходит следующим образом. Солнечные лучи 12, попадая на гелиопоглощающую поверхность 10, нагревают ее, и она передает тепло просачивающемуся конвективным образом воздуху 23 через воздухопроницаемый теплоаккумулятор 9 и гелиопоглощающую поверхность 10, которая выполнена из тонкого слоя мелких форм темного гелиопоглощающего материала, например, щебня из темного или отемненного камня или прессованных мелких форм из угольной пыли. Дополнительно воздух 23 нагревается, благодаря воздействию солнечных лучей 12, проходя через гелиопоглощающую платформу 20 посредством каналов 22, которые обеспечивают возможность конвективного продвижения воздуха вверх через гелиопоглощающий материал 21 в полость 24 под светопроницаемой поверхностью 25. Гелиопоглощающий слой материала 21 выполнен из темных металлических плит с множеством отверстий. Он может быть выполнен и, как и в предыдущем случае. Далее предварительно нагретый воздух в гелиопоглощающей платформе 20 поступает через расположенное вверху несущее воздухопроницаемое основание 6 по его воздухопроводящим каналам 7 - в воздухопроницаемый теплоаккумулятор 9, где частично отдает тепло и проходит через гелиопоглощающую воздухопроницаемую поверхность 10, а далее поступает во внутреннюю полость 15 под светопроницаемым материалом 11. Воздух, проходя через вторую гелиопоглощающую поверхность 10, дополнительно нагревается, и вместе с тем в солнечный период последняя передает тепло и теплоемкому материалу в воздухопроницаемом теплоаккумуляторе 9. За счет обоих процессов теплопередачи в нем происходит накопление тепловой энергии для работы устройства в несолнечный период суток. Из полости 15 воздух через внутреннюю цилиндрическую полость во вспомогательной втулке 13 и проходное отверстие 17 в верхнем ее основании поступает в инжектирующее сопло 19 и своим выходящим нагретым воздухопотоком 23 создает зону пониженного давления в окружающем пространстве с тыльной стороны ветроколеса 4, обеспечивая условия для увеличения выработки электроэнергии.
Кроме того, в предложенном устройстве используется технологически вспомогательные пространства 28, заключенные между потолком 26 и поверхностью земли.
Использование в пространстве 28 экзотермического оборудования 29, которое может вырабатывать ценную товарную продукцию и одновременно отдавать свои неизбежные и значительные тепловые потери по описанному выше технологическому каналу, способствует дополнительному весьма существенному увеличению выработки электроэнергии. Для этого воздуховоды вентиляционных систем, необходимых для обеспечения работы экзотермического оборудования (на чертеже они не показаны), подводятся через потолок 26 и гелиопоглощающую платформу 20 к гелиопреобразующей платформе и пристыковываются к несущему воздухопроницаемому основанию 6. В качестве экзотермического оборудования могут быть использованы технологические установки для выпечки хлебобулочных изделий, горячего консервирования продуктов, горячего копчения мясо- и рыбопродукции и др. Особенно ценным технологическим оборудованием для размещения в производственном пространстве 28 является комплекс для переработки отходов птицеферм, свиноферм и коммунальных фекальных отходов с содержанием влажности до 80%, который дает весьма ценные товарные продукты в виде органических удобрений (40% от веса отходов), особо эффективных кормов (10%) и особо дорогостоящего хитина (1-2%). Такой комплекс только за счет товарной продукции самоокупается в течение 12 месяцев вместе со стоимостью производственных помещений и технологического оборудования. Этот процесс является экзотермическим, и его реализация в производственном пространстве 29 будет давать весомую круглосуточную прибавку в выработке электрической энергии предложенным устройством. При установке такого устройства возле промышленных поселений, в пространстве 28 может быть установлено и оборудование по изготовлению литых изделий из алюминия и пластмасс.
Таким же особо ценным для работы ветрогелиоэнергетического комплекса является использование его территории под гелиопоглощающей платформой 20 и потолком 26 холодильных агрегатов для овощехранилищ и морозильников. В этих агрегатах дорогостоящий холод производится, а сопутствующее процессу тепло в обычных случаях рассеивается. В предложенном устройстве такое тепло утилизируется, отдавая в процессе энергопреобразования весьма мощный тепловой поток.
Расчеты показывают, что за счет использования экзотермического оборудования 29 в пространстве 28 окупаемость всех дополнительно пристроенных конструкций, согласно изобретению, к стандартным ветроэлектроагрегатам будет находиться в пределах 12-24 месяцев без учета дополнительного увеличения выработки электроэнергии.
Для дополнительной стабилизации выработки электроэнергии, особенно в периоды повышенных скоростей ветра и солнечной радиации, к установленным теплогенераторам 33 совместно с теплообрабатываемыми продуктами через устройство управления 34 подводится электроэнергия от электрогенератора 3. На чертеже связь между электрогенератором 3 и устройством управления 34 схематично представлена подачей напряжения U на вход устройства управления 34. Теплогенераторы, обеспечивающие сушку и финишную тепловую обработку продуктов, например, сушку ягод, фруктов, овощей, рыбы, располагаемых в съемных подвесках, в которых размещены и электропреобразователи финишного подогрева, преобразуют поступающую электроэнергию в тепло, осуществляют завершение технологических процессов обработки продуктов и нагревают одновременно теплоаккумулирующее вещество в воздухопроницаемом теплоаккумуляторе 9, чем создается запас тепловой энергии. Сушка и горячая финишная обработка продуктов, содержащих влагу, обеспечивает образование водяных паров, которые в итоге вместе с нагретым воздухом выходят через инжекционное сопло 19 наружу, содействуя увеличению выработки электроэнергии, так как влажный теплый воздух легче сухого. В этом случае теплогенераторы являются и и энергопарогенераторами. Устройства 34 задают теплогенерирующий режим финишной обработки продуктов, то есть температурный ее режим, а и в допустимых пределах регулируют временные интервалы подачи электроэнергии в теплогенерирующие устройства, исходя из текущего состояния выработки электроэнергии электрогенератором 3.
Воздухопроницаемый теплоаккумулятор может содержать в себе такой объем дешевого теплоемкого вещества, чтобы обеспечивать запас тепловой энергии в нем на несколько суток.
Настоящее изобретение позволяет повысить эффективности действующих ветроэлектроагрегатов, хотя оно может быть использовано и в новых проектах.
Энергия солнечных лучей дает существенную добавку к величине выработки электроэнергии. Например, в средней полосе Европы осредненная по году солнечная радиация составляет около 0,2 кВт/м2, а в дневное летнее время - около 0,6 кВт/м2.
В зимнее время этот осредненный показатель оставляет 0,1-0,15 кВт/м2, но в этот период имеет место повышенный ветропотенциал. Если наружный диаметр гелиопоглощающей платформы составляет 100 м, то общая площадь поглощения солнечных лучей, в целом, в устройстве составляет около 9 тыс. м2, и, следовательно, в течение зимних суток, в осредненном исчислении, гелиопоглощающая платформа 20 и гелиопоглощающая поверхность 10, как минимум, будут совместно воспринимать 800 кВт солнечной энергии. С учетом коэффициента полезного действия установки, дополнительная прибавка к вырабатываемой электрической мощности будет составлять в зимнее время около 200 кВт, а в летнее время - не менее 700 кВт. Это существенная прибавка к выработке электроэнергии ветроэлектроагрегатами установленной мощности 1000-1500 кВт, которые в среднем по году, в осредненном значении, вырабатывают фактическую мощность 500-750 кВт из-за пониженного осредненного ветропотенциала. Следовательно, фактическое увеличение действующей мощности ветроэлектроагрегатов будет, благодаря предложенному устройству, составлять около 40-60% и более при величине капитальных затрат на реализацию предложенного устройства не более 10% от стоимости ветроэлектроагрегата.
Изобретение одновременно позволяет эффективно использовать площади, занятые ветроэнергетическим комплексом, как в смысле увеличения производства электроэнергии, так и в смысле организации выпуска ценной товарной продукции, что повышает экономическую эффективность комплекса.
ФОРМУЛА ИЗОБРЕТЕНИЯ
1. Ветроэнергетический комплекс, включающий несущую башню с ветроколесом, сочлененным с электрогенератором, гелиопреобразователь с прозрачным сужающимся куполом, образующим полость над гелиопреобразователем и имеющим нижний и верхний проемы для прохода воздуха, теплоаккумулятор, установленный в полости, отличающийся тем, что прозрачный сужающийся купол, выполненный из светопроницаемого теплоизолирующего материала, образован из двух поверхностей, закрывающих в виде куполов две последовательно соединенные полости, в основании которых расположены гелиопреобразователи, установленные один над другим на опорах, проходящих через образованные нижним гелиопреобразователем технологические вспомогательные пространства с установленным там оборудованием, в том числе экзотермическим, при этом нижний гелиопреобразователь выполнен в виде охватывающей корпус башни, по крайней мере, с трех сторон, гелиопоглощающей воздухопроницаемой платформы с размещенным на ней гелиопоглощающим слоем, а верхний, с геометрически подобным основанием меньшей площади, выполнен в виде гелиопреобразующей платформы, состоящей из двух энергопреобразующих воздухопроницаемых слоев, в том числе, верхнего - гелиопоглощающего и нижнего - теплоаккумулирующего с высокой тепло- и воздухопроводностью и несущего воздухопроницаемого основания, причем под нижним гелиопреобразователем образован проем для прохождения нагреваемого атмосферного воздуха, для чего технологические вспомогательные пространства оборудованы дополнительным потолком, при этом верхний проем нижнего прозрачного купола состыкован по периметру с несущим воздухопроницаемым основанием гелиопреобразующей платформы, а верхний проем верхнего - со вспомогательной втулкой с внутренней цилиндрической полостью, закрепленной относительно корпуса несущей башни, причем ее верхнее выходное отверстие закрыто посредством поворотного фланца, кинематически сочлененного с корпусом вспомогательной втулки и снабженного инжектирующим воздушный поток соплом, при этом поворотный фланец соединен с электроприводом, который через устройство управления электрически связан с датчиком направления атмосферного ветра и синхронизирован по перемещению с установленной на верхнем торце несущей башни поворотной платформой со смонтированными на ней ветроколесом и электрогенератором, при этом к несущему воздухопроницаемому основанию гелиопреобразующей платформы закреплены съемные подвески с расположенными в них теплогенерирующими устройствами, которые через устройства управления электрически связаны с электрическим выходом электрогенератора, и пристыкованы теплогенерирующие воздухоканалы вентиляционных систем из технологических вспомогательных пространств, причем в потолке и гелиопоглощающей платформе выполнены открывающиеся посредством управляемых приводов технологические проемы.
2. Гелиоветроэнергоустановка по п.1, отличающаяся тем, что в технологических вспомогательных пространствах созданы теплоизолированные помещения, где размещены холодильные агрегаты овощехранилищ и морозильников, теплогенерирующие элементы которых размещены в воздухоканалах вентиляционных систем.
Версия для печати
Дата публикации 17.02.2007гг
Created/Updated: 25.05.2018
|

