| Начало раздела Производственные, любительские Радиолюбительские Авиамодельные, ракетомодельные Полезные, занимательные | Хитрости мастеру Электроника Физика Технологии Изобретения | Тайны космоса Тайны Земли Тайны Океана Хитрости Карта раздела | |
| Использование материалов сайта разрешается при условии ссылки (для сайтов - гиперссылки) | |||
Навигация: => | На главную/ Каталог патентов/ В раздел каталога/ Назад / |
|
ИЗОБРЕТЕНИЕ
Патент Российской Федерации RU2013644
![]()
ВЕТРОДВИГАТЕЛЬ
Имя изобретателя: Чередниченко Сергей Васильевич
Имя патентообладателя: Чередниченко Сергей Васильевич
Адрес для переписки:
Дата начала действия патента: 1990.08.06
Применение: в ветроэнергетике. Сущность: ветродвигатель содержит ветроколесо с изогнутыми лопастями, укрепленными на горизонтальном валу, расположенные в цилиндрическом кожухе, составном из верхней и нижней частей с прорезями, шарнирно установленными управляемыми щитами, флюгер.
ОПИСАНИЕ ИЗОБРЕТЕНИЯ
Изобретение относится к ветроэнергетике и может быть использовано в различных назначениях и мощности.
Известен ветряной двигатель, содержащий ветроколесо с изогнутыми лопастями, укрепленными на горизонтальном валу, при этом ветроколесо расположено в кожухе с управляемыми щитами, которые укреплены при помощи шарниров. Управление ветряным потоком производится с помощью флюгера.
Недостатком такого ветродвигателя является исключение возможности автоматизации процесса регулирования воздушного потока, поступающего к лопастям ветроколеса.
Целью изобретения является изготовление ветродвигателя с устройствами, выполняющими автоматизацию процесса регулировки воздушного потока, поступающего на лопасти ветроколеса.
Сущность данного предложения в том, что барабанное ветроколесо с лопастями расположено с двух сторон на стояковых подшипниках и помещено в цилиндрический кожух с прорезями и торцовыми стенками, состоящий из двух частей; верхней и нижней, которые соединяются при помощи шарнирного устройства с одной стороны и крепежного устройства с противоположной стороны, при этом в верхней части кожуха и в нижней его части расположены раскрывающиеся при необходимости щиты, укрепленные к кожуху при помощи шарнирного устройства.
Шарнирное устройство щита включает в себя шарнирные втулки и ось, которая с одной стороны выступает из кожуха, при этом выступающая часть оси укреплена с помощью соединительной муфты к электродвигателю с редуктором.
Устройство редуктора, используемого для открытия и закрытия щита, представляет скрещивающиеся оси с профилями шестеренчатых колес, а и червячной передачей, которые создают условия для фиксации в определенном положении щита после остановки электродвигателя.
Щит кожуха, расположенный выше горизонтального вала ветроколеса, и щит, расположенный ниже вала, снабжены кронштейнами для жесткости конструкций щита и для фиксации щита в открытом положении.
Корпус кожуха крепится на опорах.
Ветродвигатель снабжен конечными выключателями, которые производят отключение при полном открытии и полном закрытии щитов.
Ветродвигатель снабжен переключателем, укрепленным непосредственно у указателя направления ветра (флюгера) и, взаимодействуя с ним, включает или размыкает цепь управления электродвигателями в зависимости от направлении ветра.
Ветродвигатель снабжен датчиками давления, которые при автоматизированной регулировке включают или отключают электродвигатели в зависимости от силы ветра.
Ветродвигатель снабжен многополюсным переключателем, который переключает с автоматического режима работы ветродвигатель на неавтоматический режим (ручной) и наоборот.
Пуск и остановка электродвигателя неавтоматической регулировки производятся с помощью кнопочной станции.
При автоматизированном управлении, а и при неавтоматизированном управлении используются для пуска и отключения электродвигателей реверсивные магнитные пускатели.

Фиг. 1 изображен ветряной двигатель, вид сбоку.

Фиг. 2 изображен ветряной двигатель, вид сверху.
![]() | ![]() | ![]() |
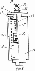
Фиг. 3 изображен переключатель, расположенный рядом с указателем направления ветра (флюгером). Вал указателя направления ветра изображен в разрезе, вид сверху; на фиг. 4 изображены датчики давления с укрепленными воронками-уловителями воздушного потока; на фиг. 5 изображен датчик давления, вид сбоку.
![]() | ![]() |
Фиг. 6 и 7 изображена принципиальная схема автоматического и ручного (полуавтоматического) управления электродвигателями ветроустановки.
Устройство ветряного двигателя содержит в себе барабанное ветроколесо 1 с лопастями 2,
закрепленными на горизонтальном валу 3, который установлен на стояковых подшипниках 4,
а стояковые подшипники укреплены к опорам 5, при этом каждая лопасть 2 изогнута в
поперечном сечении и закреплена на валу 3 по винтовой линии. Барабанное ветроколесо 1
помещено в цилиндрический кожух 6 с прорезями и торцовыми стенками, при этом кожух
состоит из двух частей, верхней и нижней. Верхняя и нижняя части кожуха 6 соединены при
помощи шарнирного устройства 7, а с противоположной стороны - при помощи крепежных
деталей 8. В верхней части кожуха расположен раскрывающийся при необходимости щит 9, а в
нижней его части - щит 10, при этом щит 9 расположен выше горизонтального вала 3, а щит 10 -
ниже вала. Щиты 9, 10 укреплены к кожуху при помощи шарнирного устройства 11. Шарнирное
устройство 11 включает в себя шарнирные втулки и ось, которая с одной стороны выступает
из кожуха и укреплена при помощи соединительной муфты 12 к электродвигателю с
редуктором 13. Электродвигатель с редуктором 13 укреплен к торцовой стенке кожуха 6, а
и к опоре 14, которая удерживает кожух 6. Щит 9, 10 снабжен кронштейнами 15, необходимыми
для жесткости конструкции щита, а и для фиксации щита 9, 10 в открытом положении. Со
стороны щита 9 к опоре 14 укреплен кронштейн 16. В торцовых стенках кожуха 6, в центральной
его части, как с одной, так и с другой стороны имеются отверстия 17. Каждый щит снабжен
конечными выключателями 18. Для необходимости автоматического регулирования
воздушного потока, поступающего к лопастям ветроколеса 1, вблизи от ветродвигателя
расположен указатель направления ветра (флюгер) 19, на вращающемся валу которого
укреплен сухарик 20. У вращающегося вала укреплен переключатель электроэнергии 21. Для
определения необходимости открытия или закрытия щита 9, 10 находящийся в автоматическом
режиме регулирования ветродвигатель снабжен датчиками давления 22 с укрепленными
воронками-уловителями воздушного потока 23. Датчик давления состоит из корпуса 24,
чувствительного элемента 25 сильфонного типа, настроечной пружины 26, фиксирующей шайбы
27, маховичка 28, втулки 29, укрепленной к микропереключателю 30, пружины 31, страховочной
гайки 32. Для подключения датчика давления в электрическую цепь предусмотрены три
провода 33, выведенные через сальниковое уплотнение 34. К воронке уловителя 23
подсоединен полый изогнутый стержень 35, а тот в свою очередь свободным своим концом
подсоединен к датчику-реле 22. При необходимости переключения с автоматического на
ручной режим работы регулирования щитов 9, 10 используется переключатель 36. Кроме того,
система управления электродвигателями щитов 9, 10 состоит из реверсивных пускателей и
кнопочных станций. При использовании ветродвигателя в составе энергетического
устройства, например в составе ветроэлектростанций, горизонтальный вал 3 соединен из
отдельных частей при помощи соединительных муфт 37, при этом на каждой отдельной части
вала укреплено барабанное ветроколесо 1, а каждый кожух 6 с помещенным внутри него
ветроколесом 1 расположены друг за другом с зазором между собой. Кроме того, вал 3 одним
своим концом соединен через редуктор 38 с электрогенератором 39. На другом конце вала 3
установлен шкив 40, с которым при необходимости может быть связан другой исполнительный
механизм, например привод насоса. Для проведения ремонтных работ и регламентных работ
с ветроколесом или другой частью ветродвигателя на валу 3 установлено тормозное
устройство 41.
ВЕТРОДВИГАТЕЛЬ ИСПОЛЬЗУЕТСЯ СЛЕДУЮЩИМ ОБРАЗОМ
Определив место установки, ветродвигатель устанавливается таким образом, чтобы верхняя часть кожуха со стороны раскрывающегося при необходимости щита 9 была бы ориентирована в сторону преимущественного направления ветра. При подключении электроэнергии (аварийного освещения) к системе управления, например, щита 9 электродвигатель 13 включается и он, создавая свои усилия через редуктор на ось шарнирного устройства 11, открывает щит 9 настолько, насколько это необходимо для нормального вращения ветроколеса. В это время воздушный поток, попадая в пространство кожуха 6, вызывает вращение ветроколеса 1, которое передает усилия ветра на редуктор 38, а затем и на генератор 39, вырабатывающий электрическую энергию. Воздушный поток, попадая в закрытое пространство, движется по кругу в цилиндрическом кожухе, при этом воздействуя на лопасти ветроколеса.
При автоматическом включении и выключении электродвигателя, например щита 9, система управления действует следующим образом. При поступлении воздушного потока достаточной скорости вал указателя направления ветра (флюгера) 19 повернется таким образом, что сухарик 20 прижмет рычажок переключателя электроэнергии 21, который, в свою очередь, нажимая на кнопку переключателя, переключит систему управления (фазный провод) в необходимом направлении, например, цепь управления щита 9. В связи с этим электрический ток проходит через первый датчик давления 22. Здесь датчик давления при помощи воронок-уловителей 23 и определенных усилий ветра на чувствительный элемент 25, который, перемещаясь, действует на кнопку микропереключателя 30, замыкает цепь на открытие щита 9. В связи с этим электрический ток проходит через клемму данного датчика давления, через замкнутую клемму многополюсного переключателя 36 (на фиг. 7 переключатель 36 переключен на ручной режим работы регулирования ветродвигателя), а и через конечный выключатель 18, установленный на кронштейне 16, тепловое реле и через катушку IКВ. Так как один из концов катушки соединен с нулевым проводом, который является рабочим в предложенной схеме, то в катушке 1КВ в этот момент возникает магнитное поле, которое притянет сердечник вместе с подвижными контактами IКВ, которые, замыкаясь с неподвижными контактами IКВ реверсивного магнитного пускателя, включает электродвигатель, открывая щит 9. При полном открытии щита конечный выключатель 18 размыкается, отключая электрическую цепь катушки IКВ, в результате чего главные силовые контакты пускателя IКВ размыкаются и электродвигатель останавливается. При усилении ветра выше нормы, вплоть до буревого, производится автоматическое закрытие щита 9, при этом ветровой поток, попадая в воронку уловителя через полый изогнутый стержень 35, создает свои усилия на чувствительный элемент датчика давления 25 и настроечную пружину 26.
Чувствительный элемент, создавая усилия на кнопку микропереключателя 30, размыкает цепь катушки IКВ, при этом клемма микропереключателя, двигаясь выше, замыкает верхние контакты. В этом случае электрический ток проходит через данную клемму, через многополюсный переключатель, через конечный выключатель 18, расположенный на кожухе 6, через тепловое реле пускателя и катушку IКН. При этом электродвигатель 13 включается в обратную сторону, закрывая щит 9. В этот момент конечный выключатель 18, расположенный на кронштейне 16, замыкает цепь для катушки IКВ, создавая готовность для ее включения. Кроме того, в случае ослабления ветрового потока во время закрытия щита 9 верхние контакты размыкаются и электродвигатель 13 останавливается, при этом щит 9 находится в полузакрытом положении, а клемма микропереключателя 30 располагается в это время между верхними и нижними контактами. При стойком усилении ветра верхние клеммы опять замыкаются, соединяя электрическую цепь для катушки IКН, при этом электродвигатель 13 включается, закрывая щит 9. При полном закрытии щита 9 конечный выключатель 18, расположенный на кожухе, размыкает цепь катушки IКН, в результате чего главные силовые контакты пускателя IКН размыкаются и электродвигатель останавливается. При ослаблении ветра до нормальных значений клемма микропереключателя опускается вниз, замыкая нижние контакты, включая цепь катушки IКВ. Электродвигатель включается, раскрывая щит 9 для работы ветродвигателя. В случае изменения направления ветра на противоположное вал 19 указателя направления ветра (флюгера) развернется в противоположную сторону, в результате чего сухарик 20 освободит рычажок переключателя электроэнергии 21, а рычажок в свою очередь освободит кнопку данного переключателя. В результате разомкнется ранее замкнутая и замкнется другая цепь управления, то есть электрическая цепь электродвигателя щита 10 (фиг. 6, 7). При этом электрическая цепь управления будет проходить через второй датчик давления в соответствии со схемой фиг. 6, 7. Автоматизированное открытие и закрытие щита 10 производится таким же образом, каким оно производится для щита 9.
Для наиболее благоприятной скорости вращения ветроколеса 1 производится настройка датчиков давления. Для этого с помощью маховичка 28, фиксирующей шайбы 27 и страховочной гайки 32 прижимают или опускают настроечную пружину 26 чувствительного элемента 25 с тем, чтобы замедлить или ускорить процесс переключения датчика давления. Если, например, прижать настроечную пружину 26, то момент включения на закрытие щита 9, 10 замедлится, при этом ветроколесо будет использовать более высокую скорость ветра. Неавтоматическое (ручное) управление производится в случае ремонта датчика давления 22 или же в случае проверки работы какой-либо детали щита 9, 10 после ремонта. В связи с этим при необходимости открыть, например, щит 9 нажимается кнопка "Вперед" кнопочной станции. Эта кнопка соединена с системой управления (фазным проводом), проходящей через кнопку "Стоп", а и с замкнутым блокирующим контактом кнопки "Назад". В момент нажатия кнопки "Вперед" электрический ток проходит через клеммы данной кнопки, замкнутые контакты многополюсного переключателя 36, конечный выключатель 18, расположенный на кронштейне 16, через тепловое реле пускателя и катушку IКВ, где, встречаясь с нулевым проводом, создается магнитное поле, которое притягивает сердечник магнитного пускателя вместе с подвижными контактами IКВ реверсивного магнитного пускателя, при этом электродвигатель включается, открывая щит 9 настолько, насколько это необходимо. Если отжать кнопку "Вперед", то контакты данной кнопки размыкаются. Размыкается и электрическая цепь катушки IКВ, в результате чего размыкается сердечник магнитного пускателя с силовыми контактами IКВ и электродвигатель останавливается. Включение электродвигателя щита 9 в обратное направление производится, если нажать на кнопку "Назад". Эта кнопка соединена с замкнутой системой управления (фазным проводом), проходящей через кнопку "Стоп" и через замкнутые блокирующие контакты кнопки "Вперед". В момент нажатия кнопки "Назад" электрический ток проходит через клеммы данной кнопки, через замкнутые контакты многополюсного переключателя 36 (фиг. 7), через конечный выключатель 18, расположенный на кожухе ветродвигателя, через тепловое реле пускателя и катушку IКН, где, встречаясь с нулевым проводом, создается магнитное поле, которое притягивает сердечник пускателя вместе с подвижными контактами, в результате чего подвижные контакты IКН включают электродвигатель щита 9 с вращением в другую сторону, согласно предложенной схеме, закрывая тем самым щит 9. В случае изменения направления ветра на противоположное открытие и закрытие щита 10 будет производиться так же как и открытие и закрытие щита 9. Однако в этом случае будут задействованы другая кнопочная станция и устройства пускателей 2КВ и 2КН, согласно схеме фиг. 6.
Применение предложенного ветряного двигателя создает преимущество перед известными устройствами тем, что с использованием такого ветродвигателя появляется возможность к автоматизации процесса регулировки воздушного потока, поступающего на лопасти ветроколеса. Кроме того, появляется возможность использования ветровой энергии в местах, где происходит наиболее сильное движение воздушных потоков.
ФОРМУЛА ИЗОБРЕТЕНИЯ
1. ВЕТРОДВИГАТЕЛЬ, содержащий ветроколесо с изогнутыми лопастями, укрепленными на горизонтальном валу, расположенное в кожухе с шарнирно установленными управляемыми щитами, и флюгер, отличающийся тем, что, с целью повышения точности регулировки, кожух выполнен цилиндрическим из составленных верхней и нижней частей с прорезями, а щиты шарнирно связаны с частями кожуха.
2. Ветродвигатель по п. 1, отличающийся тем, что система управления снабжена датчиками давления с уловителями потока.
3. Ветродвигатель по пп. 1 и 2, отличающийся тем, что флюгер снабжен сухариком, укрепленным на валу флюгера, а система управления - конечными выключателями, реверсивными магнитными пускателями, переключателем электроэнергии, при этом последний установлен с возможностью взаимодействия с сухариком флюгера.
4. Ветродвигатель по пп. 1 - 3, отличающийся тем, что система управления снабжена многосекционным переключателем электроэнергии.
Версия для печати
Дата публикации 11.02.2007гг
Created/Updated: 25.05.2018
|





