| Начало раздела Производственные, любительские Радиолюбительские Авиамодельные, ракетомодельные Полезные, занимательные | Хитрости мастеру Электроника Физика Технологии Изобретения | Тайны космоса Тайны Земли Тайны Океана Хитрости Карта раздела | |
| Использование материалов сайта разрешается при условии ссылки (для сайтов - гиперссылки) | |||
Навигация: => | На главную/ Каталог патентов/ В раздел каталога/ Назад / |
|
ИЗОБРЕТЕНИЕ
Патент Российской Федерации RU2240443
![]()
ВЕТРОЭНЕРГЕТИЧЕСКАЯ УСТАНОВКА С ВЕРТИКАЛЬНОЙ ОСЬЮ ВРАЩЕНИЯ
Имя изобретателя: Лятхер Виктор Михайлович
Имя патентообладателя: Лятхер Виктор Михайлович
Адрес для переписки: 125363, Москва, ул. Штурвальная, 5, корп.1, кв.129, В.М.Лятхеру
Дата начала действия патента: 2003.05.05
Ветроэнергетическая установка с вертикальной осью вращения относится к ветроэнергетике, в частности к роторным ветроэнергоустановкам. Технический результат заключается в повышении надежности и эффективности установки в суровых климатических условиях. Установка представляет собой ветроагрегат, состоящий из нескольких (трех или более) равнобедренных треугольников, боковые стороны каждого из которых образуют наклонную лопасть, каждое горизонтальное сечение которой имеет полый аэродинамический профиль, ориентированный вдоль касательной к окружности, описываемой центром этого профиля при работе установки. Основания треугольников расположены горизонтально на небольшой высоте от земли и соединены между собой. Плоскости треугольников расположены так, что вершины треугольников соединены между собой траверсами, образующими горизонтальный правильный многоугольник. Пирамида, сформированная наклонными лопастями и горизонтальными траверсами, в нижней части закреплена на плоском стальном кольце с электропроводной накладкой, выполняющем функции ротора линейного (дугового) генератора, индукторы которого вместе с электромагнитами вертикальной разгрузки и вертикальными опорами упруго закреплены на нескольких стойках по периметру стального кольца. Индукторы снабжены вентиляторами обдува, направляющими теплый воздух в сторону стального кольца, на котором, кроме лопастей, закреплен кожух с подвижными жалюзи, принимающий теплый воздух от вентиляторов и направляющий его во внутренние полости лопастей. Вершины нижнего многоугольника по схеме спиц велосипедного колеса соединены с центральным подшипником, насаженным на короткий опорный вал, воспринимающий горизонтальную силу.
ОПИСАНИЕ ИЗОБРЕТЕНИЯ
Изобретение относится к ветроэнергетике, а именно к роторным ортогональным энергоагрегатам, и может использоваться для получения энергии из воздушных потоков, в частности, в суровых климатических условиях.
Известны геликоидные турбины с вертикальной осью вращения и лопастями, изогнутыми по винтовой линии (патент США №5451137).
Недостатком этого решения является наличие центрального вала и траверс, соединяющий лопасти с валом, что препятствует значительному увеличению габаритов агрегата и его единичной мощности, а и создает благоприятные условия для обледенения частей установки и отказов в работе в районах с суровым климатом.
Наиболее близким для указанного изобретения является самонесущая ветроустановка с лопастями, изогнутыми по пересекающимся винтовым линиям, образующим цилиндрическую ферму из гнутых элементов, опирающуюся на консольные траверсы, закрепленные на оси тихоходного генератора (Авторское свидетельство СССР №1150395).
Недостатком этого технического решения является сложность конструкции, представляющей трудности в изготовлении и монтаже, большая нагрузка на опорные траверсы и вал генератора.
Техническим результатом изобретения является повышение надежности, особенно в суровых климатических условиях, а и определенное упрощение конструкции.
Технический результат достигается тем, что ветроэнергетическая установка с вертикальной осью вращения, содержащая лопасти, закрепленные на основании, траверсы, генератор, содержит сборку из по меньшей мере трех плоских элементов в виде равнобедренных треугольников, боковые стороны каждого из которых образуют наклонную лопасть, а сама плоскость треугольника слегка отклонена от вертикали наружу так, что вершины треугольников соединены между собой траверсами, образующими горизонтальный правильный многоугольник, каждое горизонтальное сечение лопасти ветроустановки имеет полый аэродинамический профиль, ориентированный наружу от касательной к окружности, описываемой центром этого профиля, основания треугольников расположены горизонтально на небольшой высоте от земли и соединены между собой. Кроме того, в ветроэнергетической установке пирамида, сформированная наклонными лопастями и горизонтальными траверсами, в нижней части закреплена на роторе линейного (дугового) генератора, выполненном в виде плоского стального кольца с электропроводной накладкой, индукторы которого вместе с электромагнитами вертикальной разгрузки и вертикальными опорами упруго закреплены на нескольких стойках по периметру стального кольца.
Кроме того, в ветроэнергетической установке индукторы снабжены вентиляторами обдува с направлением обдува в сторону стального кольца, на котором дополнительно закреплен кожух с подвижными жалюзи.
Технический результат достигается и и тем, что вершины нижнего многоугольника соединены с центральным подшипником, насаженным на короткий опорный вал.
Благодаря указанным усовершенствованиям установка приобретает повышенную сопротивляемость сильным ветрам и обледенению при сравнительно простой конструкции с сохранением высокой эффективности в работе.
![]() | ![]() | ![]() | |
![]() | ![]() | ||
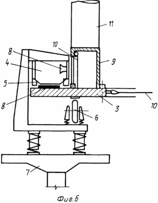
![]() | На фиг.1 изображена ветроэнергоустановка, общий вид; на фиг.2 - вид I-I по фиг.1, на фиг.3 - вид II-II по фиг.1, на фиг.4 - вид III-III по фиг.1, фиг.5 ветроэнергоустановка с лопостями и траверсами, общий вид, на фиг.6 - опорный узел установки. Ветроэнергетическая установка с вертикальной осью вращения состоит из трех или более вертикальных элементов в виде равнобедренных треугольников 1, боковые стороны каждого из которых образуют наклонную лопасть, каждое горизонтальное сечение которой имеет полый аэродинамический профиль, ориентированный вдоль касательной к окружности, описываемой центром этого профиля. Основания треугольников 1 расположены горизонтально на небольшой высоте от земли и соединены между собой. Плоскости треугольников 1 расположены так, что их вершины соединены между собой траверсами 2, образующими горизонтальный правильный многоугольник (на фиг.1 -треугольник). Пирамида, сформированная наклонными лопастями треугольников 1 и горизонтальными траверсами, в нижней части закреплена на роторе 3 линейного (дугового) генератора в виде плоского стального кольца с электропроводной накладкой, индукторы 4 (фиг.2) которого вместе с электромагнитами вертикальной разгрузки 5 и вертикальными опорами 6 упруго закреплены на нескольких стойках 7 по периметру стального кольца 3. Индукторы 4 снабжены вентиляторами обдува 8 с направлением обдува теплым воздухом в сторону стального кольца 3, на котором дополнительно закреплен легкий кожух 9 с подвижными жалюзи 10, принимающими теплый воздух от вентиляторов 8 и направляющий его во внутренние полости лопастей 11 треугольников 3. Концевые участки лопастей в верхней части снабжены дефлекторами (не показаны), создающими аэродинамическую тягу, способствующую движению теплого воздуха по внутренним каналам лопастей 11 снизу вверх. | ||
Вершины нижнего многоугольника по схеме спиц велосипедного колеса соединены с центральным подшипником 12 (фиг.1), насаженным на короткий опорный вал 13, воспринимающий горизонтальную силу.
УСТАНОВКА РАБОТАЕТ СЛЕДУЮЩИМ ОБРАЗОМ
При небольшой скорости ветра включаются электромагниты 5 разгрузки опор 6, и отключается стояночный тормоз. Под действием ветра установка начинает вращаться, и при достижении скорости вращения определенного значения индукторы 4 линейного генератора включаются в электрическую сеть. Выделяющееся в индукторах тепло направляется вентиляторами 8 через жалюзи 10 и короб 9 в лопасти 11, освобождая их от намерзшего снега и льда. Улучшающееся аэродинамическое качество лопастей 11 обеспечивает дальнейшую раскрутку лопастей и увеличение мощности, выдаваемой индукторами 4 в электрическую сеть.
ФОРМУЛА ИЗОБРЕТЕНИЯ
1. Ветроэнергетическая установка с вертикальной осью вращения, содержащая полые лопасти аэродинамического профиля, закрепленные на основании, траверсы, генераторы, отличающаяся тем, что содержит сборку из, по меньшей мере, трех плоских элементов в виде равнобедренных треугольников, боковые стороны каждого из которых образуют наклонную лопасть, каждое горизонтальное сечение которой имеет полый аэродинамический профиль, ориентированный вдоль касательной к окружности, описываемой центром этого профиля, основания треугольников расположены горизонтально на небольшой высоте от земли и соединены между собой, плоскости треугольников расположены так, что вершины треугольников соединены между собой траверсами, образующими горизонтальный правильный многоугольник.
2. Ветроэнергетическая установка по п.1, отличающаяся тем, что пирамида, сформированная наклонными лопастями и горизонтальными траверсами, в нижней части закреплена на роторе линейного (дугового) генератора в виде плоского стального кольца с электропроводной накладкой, индукторы которого вместе с электромагнитами вертикальной разгрузки и вертикальными опорами упруго закреплены на нескольких стойках по периметру стального кольца.
3. Ветроэнергетическая установка по п.1 или 2, отличающаяся тем, что индукторы снабжены вентиляторами обдува с направлением обдува в сторону стального кольца, на котором дополнительно закреплен кожух с подвижными жалюзи.
4. Ветроэнергетическая установка по п.1, или 2, или 3, отличающаяся тем, что вершины нижнего многоугольника соединены с центральным подшипником, насаженным на короткий опорный вал.
Версия для печати
Дата публикации 02.02.2007гг
Created/Updated: 25.05.2018
|






