| Начало раздела Производственные, любительские Радиолюбительские Авиамодельные, ракетомодельные Полезные, занимательные | Хитрости мастеру Электроника Физика Технологии Изобретения | Тайны космоса Тайны Земли Тайны Океана Хитрости Карта раздела | |
| Использование материалов сайта разрешается при условии ссылки (для сайтов - гиперссылки) | |||
Навигация: => | На главную/ Каталог патентов/ В раздел каталога/ Назад / |
|
ИЗОБРЕТЕНИЕ
Патент Российской Федерации RU2251023
![]()
ОРТОГОНАЛЬНЫЙ РОТОР ВЕТРОДВИГАТЕЛЯ ВЕТРЯКА
Имя изобретателя: Историк Б.Л. (RU); Рудяк М.С. (RU); Шполянский Ю.Б.
Имя патентообладателя: Закрытое акционерное общество "Объединение "Ингеоком" (RU); Историк Борис Львович (RU); Рудяк Михаил Семенович (RU); Шполянский Юлий Борисович
Адрес для переписки: 119334, Москва, ул. Косыгина, 5, кв.35, М.Б. Щедрину
Дата начала действия патента: 2003.10.30
Изобретение относится к области ветроэнергетики и предназначено для использования в ветродвигателях, вращающие лопасти которых параллельны оси вращения. Технический результат заключается в улучшении аэродинамики, повышении КПД, надежности ограничения частоты вращения ротора и точности поддержания ее номинального значения. Ротор содержит вал вращения, предназначенный для установки в одной или более опорах ветродвигателя, и один или несколько закрепленных на валу вращения и снабженных тормозным щитком кронштейнов, на каждом из которых параллельно валу вращения жестко закреплена вращающая лопасть крыловидного профиля. При этом тормозной щиток через блок кинематической связи соединен с датчиком угловой скорости и через упругий элемент связан с элементом конструкции ротора, неподвижным относительно вала вращения.
ОПИСАНИЕ ИЗОБРЕТЕНИЯ
Изобретение относится к области ветроэнергетики и предназначено для использования в ветродвигателях, вращающие лопасти которых параллельны оси вращения. Роторы таких двигателей получили название ортогональных, поскольку ось их вращения ортогональна направлению воздушного потока. Ортогональные роторы, как правило, используются в ветродвигателях с вертикальной осью вращения, поскольку при этом они не нуждаются в ориентировании по направлению ветра.
Известен ортогональный ротор ветродвигателя, содержащий вал вращения, предназначенный для размещения в вертикальной опорной стойке ветродвигателя, и закрепленные на валу вращения кронштейны, каждый из которых снабжен вертикальной лопастью крыловидного профиля (вертикальным крылом) и тормозным щитком. При этом лопасть и тормозной щиток установлены с возможностью поворота относительно оси кронштейна и закреплены на внешнем конце торсиона (упругого на закручивание стержня), внутренний конец которого закреплен в основании кронштейна (патент RU 2039309, МПК F 03 D 7/06 [1]).
В устройстве [1] лопасти, помимо основной функции (вращение ротора), выполняют функцию датчика угловой скорости, поворачивающегося относительно оси кронштейна при возрастании угловой скорости. Поворот лопасти - датчика - относительно оси кронштейна вызывает поворот тормозного щитка, закрепленного на том же конце торсиона, в результате чего возрастает аэродинамическое сопротивление ротора и ограничивается максимальная частота его вращения.
Торсион в устройстве [1] выполняет функцию упругого элемента, удерживающего лопасть и щиток в исходном положении, соответствующем минимальному аэродинамическому сопротивлению.
Недостаток технического решения [1] - высокие требования, предъявляемые к торсиону, слабость крепления лопасти (она крепится в одной точке к торсиону) и большие консольные вылеты лопасти относительно точки крепления. Предложенное там же дополнительное техническое решение по усилению крепления лопасти профилированными оттяжками потребовало введения дополнительной вращающейся опоры в основании кронштейна, что усложняет и удорожает конструкцию.
Кроме того, поворот тормозного щитка и лопасти на один и тот же угол приводит к тому, что максимальная частота вращения ротора значительно превышает номинальную частоту (в 1,4 раза).
Известен выбранный в качестве прототипа ортогональный ротор ветродвигателя, содержащий вал вращения, предназначенный для установки в вертикальной опорной стойке ветродвигателя, и закрепленные на валу вращения кронштейны, на каждом из которых жестко закреплена вращающая лопасть крыловидного профиля (патент RU 2136960, МПК F 03 D 7/06 [2]. В устройстве-прототипе каждый кронштейн (названный в [2] траверсой) снабжен полукрылом, выполняющим функцию тормозного щитка, и жестко закрепленной на концевой части полукрыла дополнительной лопастью уменьшенных размеров, выполняющей функцию датчика угловой скорости. Для этого полукрыло установлено с возможностью поворота относительно оси кронштейна, который выполнен полым и снабжен торсионом, концы которого закреплены в корневых частях кронштейна и полукрыла.
Благодаря жесткой связи основной лопасти с кронштейном она может быть выполнена увеличенных размеров и без использования вспомогательных подшипниковых узлов закреплена на валу вращения ротора дополнительными кронштейнами, профилированными оттяжками или другими конструктивными элементами, неподвижными относительно вала вращения. Уменьшенные размеры дополнительной лопасти снижают требования к торсиону, что соответственно уменьшает его размеры, массу и стоимость.
Недостаток прототипа - дополнительные аэродинамические потери и снижение КПД в режиме номинальной частоты вращения.
Это обусловлено тем, что выполняющая в роторе-прототипе функцию датчика угловой скорости дополнительная лопасть закреплена вместе с полукрылом с внешней стороны основной вращающей лопасти и поэтому затеняет ее от ветра, уменьшая тянущую силу. Это уменьшение тянущей силы основной вращающей лопасти не компенсируется полностью тянущей силой дополнительной лопасти.
Еще одна причина дополнительных аэродинамических потерь, общая для устройств [1] и [2], состоит в том, что тормозной щиток начинает поворачиваться и выходит из горизонтального положения, соответствующего минимуму аэродинамических потерь, преждевременно - еще до достижения ротором номинальной частоты вращения.
Задача изобретения - улучшение аэродинамики, повышение КПД, надежности ограничения частоты вращения ротора и точности поддержания ее номинального значения.
РАСКРЫТИЕ ИЗОБРЕТЕНИЯ
Предметом изобретения является ортогональный ротор ветродвигателя, содержащий вал вращения, предназначенный для установки, по меньшей мере, в одной опоре ветродвигателя, и, по меньшей мере, один закрепленный на валу вращения и снабженный тормозным щитком кронштейн, на котором параллельно валу вращения жестко закреплена вращающая лопасть крыловидного профиля, при этом тормозной щиток через блок кинематической связи соединен с датчиком угловой скорости и через упругий элемент связан с элементом конструкции ротора, неподвижным относительно вала вращения.
Эта совокупность признаков позволяет улучшить аэродинамику и КПД ротора.
ИЗОБРЕТЕНИЕ ИМЕЕТ РАЗВИТИЕ
Одно из них состоит в том, что датчик угловой скорости установлен с отклонением его оси от плоскости тормозного щитка на 70-90 градусов, а упругий элемент предварительно напряжен дополнительно введенным ограничителем перемещения.
Это позволяет повысить точность поддержания номинального значения частоты вращения и надежность ее ограничения допустимой величиной при сохранении улучшенных аэродинамических качеств и КПД ротора.
Другое развитие изобретения состоит в том, что блок кинематической связи может быть выполнен в виде вала поворота или в виде мультипликатора, на тихоходном валу которого размещается датчик угловой скорости, а на быстроходном - тормозной щиток. При этом мультипликатор может быть выполнен либо на основе зубчатой (цилиндрической или конической) или цепной передачи, либо на основе рычажно-шарнирного механизма. Использование мультипликатора в качестве блока кинематической связи позволяет дополнительно повысить эффективность стабилизации номинальной частоты вращения вала, а возможность выбора модификаций мультипликатора позволяет оптимизировать конструкторскую компоновку элементов ротора в частных случаях его исполнения. Предпочтительный коэффициент передачи мультипликатора лежит в пределах от 2-х до 5-ти.
Для частного случая реализации ротора с двумя и более кронштейнами дальнейшее развитие изобретения предусматривает возможность осуществления кинематической связи между всеми тормозными щитками ротора с помощью общего элемента (например, конической шестерни), введенного в блок кинематической связи.
Это позволяет обеспечить лучшую сбалансированность ротора в процессе его торможения щитками.
Другие развития изобретения предусматривают различные исполнения упругого элемента:
- в виде одного торсиона, размещенного в полости блока кинематической связи;
- в виде пружины кручения, охватывающей вал блока кинематической связи;
- комбинированным - в виде одного торсиона и кинематически связанной с ним пружины кручения;
а и различные варианты размещения датчика угловой скорости:
- на кронштейне;
- в полости, выполненной во вращающей лопасти;
- в полой ступице, выполненной на валу вращения.
Эти развития позволяют оптимизировать конструкцию ротора в частных случаях его реализации.
Еще одно развитие изобретения предусматривает двухконсольное выполнение кронштейна с размещением тормозного щитка на основной консоли кронштейна, а датчика угловой скорости - на его дополнительной укороченной консоли.
Такая модификация конструкции ротора позволяет использовать в качестве упругого элемента торсион с большим отношением длины к диаметру, что снижает касательные напряжения, возникающие в торсионе при его закручивании.
КРАТКОЕ ОПИСАНИЕ ЧЕРТЕЖЕЙ
![]() | ![]() |
![]() | ![]() |
![]() | ![]() |
![]() | ![]() |
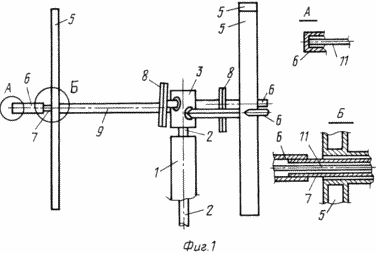
Фиг.1-4 иллюстрируют пример осуществления изобретения (с учетом его развития) в трехлопастном роторе. На фиг.1 и 2 представлен пример выполнения ротора с двухконсольными кронштейнами, на фиг.3 и 4 - с одноконсольными. На фиг.1, 3 представлен общий вид ротора, установленного в опорную стойку ветродвигателя, на фиг.2, 4 - его вид в плане. На фиг.5, иллюстрирующей пример размещения датчика на одноконсольном кронштейне, представлен поперечный разрез кронштейна в плоскости, проходящей через ось датчика. Фиг.6 иллюстрирует пример выполнения мультипликатора с размещением его в ступице вала вращения. Фиг.7 и 8 иллюстрируют усиление крепления лопастей дополнительно установленными оттяжками.
На фиг.1-4 показаны:
1 - опора ветродвигателя;
2 - вал вращения ротора, установленный в опору 1;
3 - ступица, выполненная на валу 2;
4 - кронштейны, закрепленные на ступице 3 (см. фиг.3, 4);
5 - вращающие лопасти крыловидного профиля, установленные на кронштейнах 4;
6 - тормозные щитки, которыми снабжены кронштейны 4;
7 - валы поворота, представляющие собой частный случай выполнения блока кинематической связи;
8 - датчики угловой скорости ротора, каждый из которых соединен валом 7 с тормозным щитком 6;
9 - основная консоль кронштейна (см. фиг.1 и 2);
10 - дополнительная укороченная консоль кронштейна (см. фиг.1 и 2);
11 - упругие элементы, выполненные в виде торсионов;
12 - ограничители углового перемещения.
Представленный на фиг.1-4 пример реализации изобретения относится к ротору с валом 2, предназначенным для вертикальной установки в одной опоре 1 ветродвигателя. В местах с преобладающим или постоянным направлением ветра (например, в ущельях) изобретение может быть реализовано (при очевидном изменении фигур) с валом 2, предназначенным для горизонтальной установки в двух опорах 1.
На фиг.1 и 2 представлен пример выполнения ротора с двухконсольными кронштейнами 4, когда тормозные щитки 6 размещены на периферийном конце основных консолей 9 кронштейна 4 за лопастями 5, а датчики 8 - на дополнительных укороченных консолях 10, установленных с противоположной стороны ступицы 3.
На фиг.3 и 4 показан пример выполнения ротора с одноконсольными кронштейнами, когда тормозные щитки 6 и размещены на периферии кронштейнов, а датчики 8 размещены в полости ступицы 3.
Показанные на фиг.1- 4 ступица 3, кронштейны 4 и щитки 6 выполнены полыми. В полости каждого кронштейна 4, отверстии, выполненном в лопасти 5, и в полости ступицы 3 расположен вал 7.
Кронштейны 4 или его консоли 9 и 10 (в случае двухконсольного исполнения) выполнены в виде трубы, закрытой обтекателем.
На фиг.1 - 4 показан наиболее простой вариант выполнения кинематической связи между щитком 6 и датчиком 8 - они жестко закреплены на общем валу 7. При этом датчик 8 установлен перпендикулярно валу 7, а щиток 6 так, что в его плоскости лежит ось вала 7.
В примере, показанном на фиг.1 и 2, датчики 8 выполнены в виде коротких лопастей крыловидного профиля, установленных на дополнительной укороченной консоли 10, на фиг.3 и 4 показан пример выполнения датчиков в виде стержней, размещенных в полой ступице 3. На фиг.6 показан случай выполнения датчика 8 в виде гантели.
Показанные на фиг.1 и 2 валы 7 перекрещиваются внутри ступицы 3. Поэтому они выполнены со смещением по вертикали друг относительно друга на величину, немного превышающую диаметр этих валов.
Каждый вал 7 выполнен в виде трубы круглого сечения, внутри которой помещен торсион (длинный тонкий стержень) 11, выполняющий функцию упругого элемента. Один (поворотный) конец торсиона 11 прикреплен к щитку 6 (см. узел А на фиг.1), а другой (фиксированный) - к элементу конструкции ротора, неподвижному относительно вала 2. В примере, показанном на фиг.1, 2, фиксированный конец торсиона крепится к консоли 10, а на фиг.3. 4 - к крепежному элементу 13 (см. узел А на фиг.3), установленному в полости ступицы 3. Крепление конца торсиона 11 к консоли 10 обеспечивается и с помощью соответствующего крепежного элемента (на фигурах не показан), который размещается в прорезях, выполненных в стенках полого вала 7.
Другой возможный вариант размещения датчика 8 при одноконсольном выполнении кронштейна (не требующий выполнения полой ступицы на валу 2) иллюстрирует фиг.5, на которой датчик 8 размещен на участке вала 7, проходящем внутри кронштейна 4. Как показано на фиг.5 в стенке кронштейна 4, выполненного в виде трубы, закрытой обтекателем, имеются прорези 14 для размещения датчика 8, в исходном состоянии упирающегося в ограничитель 12.
Возможен и вариант размещения датчика 8 в полости, выполненной в лопасти 5, не показанной на фигурах.
В примерах выполнения ротора, представленных на фиг.1-4, щиток 6 размещен за лопастью 5. Возможен и, например, вариант размещения щитка 6 с внутренней стороны лопасти 5, примененный в [1].
Как видно на фиг.2 (вид по стрелке С) и на фиг.5, датчик 8 установлен на валу 7 с небольшим
наклоном в
0 градусов
относительно вертикальной оси (
0не превышает 20°). Щиток 6 в исходном состоянии занимает горизонтальное положение, и,
следовательно, угол между плоскостью щитка 6 и осью датчика 8, установленными на валу 7,
составляет (90 -
0) градусов. При
этом упругий элемент 11 с помощью ограничителя 12 углового перемещения предварительно
напряжен так, чтобы угол его закручивания и составлял
0 градусов.
Блок кинематической связи может быть выполнен в виде мультипликатора. На фиг.6 в качестве примера показан мультипликатор, имеющий тихоходный вал 15, быстроходный вал 16 и преобразователь угловых перемещений в виде цилиндрических шестерней 17 и 18, насаженных на эти валы. Валы 15 и 16 установлены в подшипниковых опорах 19. На валу 15 закреплен датчик 8, а на валу 16 - щиток 6, который на фиг.6 не показан. Упругий элемент, выполненный в виде торсиона 11, размещен в полости вала 16. Неподвижный конец торсиона 11, как и на фиг.3 (узел А), закреплен элементом 13, а другой (подвижный) конец закреплен в полости щитка 6 так, как показано на фиг.1 (узел А). Возможна и установка второго торсиона внутри полого вала 15.
Упругий элемент 11 может быть выполнен в виде пружины любого типа с соответствующими приспособлениями, например, в виде одной или более пружин кручения, охватывающих валы блока кинематической связи (вал 7 на фиг.1-4 или валы 15 и 16, показанные на фиг.6). При этом один из концов пружины кручения крепится к соответствующему валу, а другой - к какому-либо конструктивному элементу ротора, неподвижному относительно вала 2.
Возможно и использование комбинированного упругого элемента в виде торсиона и кинематически связанной с ним пружины кручения. При этом, например, в валу 15 размещен торсион, а вал 16 охвачен пружиной кручения. В другом случае в каждом из валов 15 и 16 может быть размещен торсион и каждый из валов охвачен пружиной кручения.
Возможность использования упругих элементов различного вида позволяет оптимизировать конструкцию ротора в частных случаях его реализации.
Преобразователь угловых перемещений мультипликатора может быть и выполнен на основе рычажно-шарнирного механизма, конической зубчатой или цепной передачи.
Показанный на фиг.6 преобразователь угловых перемещений вместе с датчиком 8 размещен в ступице 3. Возможны другие варианты их размещения - в полостях кронштейна 4 или лопастей 5.
Использование мультипликатора в качестве блока кинематической связи позволяет дополнительно повысить эффективность стабилизации номинальной частоты вращения вала 2 за счет увеличения угла поворота щитка 6 по сравнению с углом поворота датчика 8.
Использование различных вариантов мультипликатора вместо вала поворота позволяет расширить конструктивные возможности компоновки дополнительных консолей 10 с датчиками 8 по отношению к основным консолям 9 (размещение консолей 9 и 10 под углом друг к другу или друг под другом).
В блок кинематической связи может быть введен общий элемент, например коническая шестерня, связывающий все тормозные щитки.
Это позволяет обеспечить более точную центральную симметрию элементов ротора при отклонении тормозных щитков 6 от исходного положения и тем самым улучшить сбалансированность ротора в процессе торможения.
При увеличении размеров лопастей 5 их крепление может быть усилено с помощью дополнительно установленных кронштейнов и/или оттяжек обтекаемой формы. На фиг.7 и 8 показан пример выполнения ротора с усилением крепления лопастей 5 оттяжками 20, которые соединяют дополнительные элементы ступицы (стойку 21 и юбку 22) с лопастями 5.
Ротор, установленный в опорную стойку 1 ветродвигателя, работает следующим образом.
В исходном положении (при отсутствии ветра) ротор неподвижен, а щиток 6 установлен в
плоскости, перпендикулярной валу 2. При этом аэродинамическое сопротивление щитка 6
минимально, а ось датчика 8, кинематически связанного со щитком 6, наклонена
относительно вертикального вала 2 на угол
0 градусов. Щиток 6 и датчик 8 удерживаются в этом положении с помощью ограничителя
12 и упругого элемента 11, например торсиона, угол предварительного закручивания
которого составляет и
0градусов.
В диапазоне рабочих скоростей ветра, начиная с некоторого минимального значения, и отсутствии нагрузки на валу 2 ротор самозапускается - лопасти 5 начинают вращать вал 2, постепенно ускоряя свое движение под действием ветра. Возможен и и принудительный запуск и разгон ротора. Более подробно принцип действия ортогональных роторов описан, например, в статье: Историк Б.Л., Шполянский Ю.Б. Исследование верикальной ветроэнергетической установки с аэродинамическим регулированием. /Энергетическое строительство/ 1991, №3, с.37-39.
Когда частота вращения ротора превысит определенную величину (линейная скорость кругового движения лопасти 5 при этом в несколько раз превышает скорость ветра), подключается нагрузка, например, в виде потребителя электроэнергии, вырабатываемой генератором, установленным на валу 2. При этом возможна работа нагруженного ротора с переменной или постоянной частотой вращения. В обоих случаях, однако, частота вращения ротора не должна превышать некоторой номинальной величины np, после которой центробежные силы, действующие на ротор, могут представлять опасность. Пока частота вращения ротора меньше np, предварительно напряженный упругий элемент 11 не позволяет щитку 6 и датчику 8, жестко соединенным между собой через блок кинематической связи, выйти из начального положения, заданного ограничителем 12.
Если по какой-либо причине (повышение скорости ветра, снижение нагрузки на валу 2, например, из-за аварийного отключения потребителя) частота вращения ротора превысит номинальную, щиток 6 должен обеспечить аэродинамическое торможение ротора.
Это осуществляется следующим образом.
Под действием возросших центробежных сил, действующих на датчик 8, выполненный,
например, в виде массивного стержня, преодолевает момент закручивания упругого
элемента 11, отрывается от ограничителя 12 и поворачивается на угол
.
При этом выходит из начального положения и поворачивается щиток 6, связанный с датчиком
8 через блок кинематической связи (на фиг.1-4 это вал 7).
Угол
поворота щитка равен k·
,
где k - коэффициент мультипликации блока кинематической связи (для ротора на фиг.1-4
коэффициент k=1).
С увеличением угла поворота щитка возрастает аэродинамическое сопротивление ротора и рост частоты его вращения прекращается.
С устранением причин, вызвавших превышение частоты вращения ротора над n p, упругий элемент 11 возвращает датчик 8 и тормозной щиток 6 в исходное состояние.
Как показали расчеты, подтвержденные экспериментально, вращающий момент,
развиваемый датчиком 8, не зависит от его удаления от оси вала 2, а определяется
величиной (
0+
)
угла наклона и угловой скоростью вращения ротора. Поэтому перемещение датчика из
периферийной области ротора, где он установлен в прототипе, в центральную область не
вызывает снижения момента, передаваемого от датчика 8 щитку 6. Однако при этом
устраняется затенение датчиком вращающей лопасти, уменьшаются потери, вносимые
аэродинамическим сопротивлением самого датчика и, следовательно, увеличивается КПД
ветродвигателя.
Установка датчика с отклонением его оси от плоскости тормозного щитка 6 на угол (90-
0) градусов позволяет при горизонтальном исходном положении щитка 6 получить
начальный наклон датчика относительно оси вала 2, равный
0 градусов. Этот начальный наклон при наличии соответствующего предварительного
напряжения упругого элемента позволяет обеспечить своевременное отклонение
тормозного щитка 6 при превышении частотой вращения номинального значения nр.
Выполнение блока кинематической связи в виде мультипликатора дает возможность
выбрать оптимальное соответствие между углом (
0+
) наклона датчика 8 и углом
отклонения щитка 6. Это позволяет обеспечить эффективное торможение ротора при меньшем
превышении частоты его вращения над n р, а и при меньшей площади тормозных
щитков 6. Уменьшение площади тормозных щитков позволяет снизить аэродинамические
потери на них до начала торможения.
ФОРМУЛА ИЗОБРЕТЕНИЯ
1. Ортогональный ротор ветродвигателя, содержащий вал вращения, предназначенный для установки по меньшей мере в одной опоре ветродвигателя, и по меньшей мере один закрепленный на валу вращения и снабженный тормозным щитком кронштейн, на котором параллельно валу вращения жестко закреплена вращающая лопасть крыловидного профиля, при этом тормозной щиток через блок кинематической связи соединен с датчиком угловой скорости и через упругий элемент связан с элементом конструкции ротора, неподвижным относительно вала вращения.
2. Ротор по п.1, в котором датчик угловой скорости установлен с отклонением его оси от плоскости тормозного щитка на 70-90°, а упругий элемент предварительно напряжен дополнительно введенным ограничителем перемещения.
3. Ротор по п.1, в котором кронштейн выполнен двухконсольным, при этом тормозной щиток размещен на основной консоли кронштейна, а датчик угловой скорости - на его дополнительной укороченной консоли.
4. Ротор по п.1, в котором блок кинематической связи выполнен в виде вала поворота.
5. Ротор по п.1, в котором блок кинематической связи выполнен в виде мультипликатора, при этом датчик угловой скорости размещен на тихоходном валу, а тормозной щиток - на быстроходном валу мультипликатора.
6. Ротор по п.5, в котором коэффициент передачи мультипликатора лежит в пределах 2-5.
7. Ротор по п.5, в котором мультипликатор выполнен на основе зубчатой или цепной передачи.
8. Ротор по п.5, в котором мультипликатор выполнен на основе рычажно-шарнирного механизма.
9. Ротор по п.1, в котором блок кинематической связи содержит общий элемент, связывающий все тормозные щитки.
10. Ротор по п.1 или 2, в котором упругий элемент выполнен в виде по меньшей мере одного торсиона, размещенного в полости блока кинематической связи.
11. Ротор по п.1 или 2, в котором упругий элемент выполнен в виде по меньшей мере одной пружины кручения, охватывающей вал блока кинематической связи.
12. Ротор по п.1 или 2, в котором упругий элемент выполнен в виде по меньшей мере одного торсиона и кинематически связанной с ним по меньшей мере одной пружины кручения.
13. Ротор по п.1, в котором датчик угловой скорости размещен в полой ступице, выполненной на валу вращения.
14. Ротор по п.1, в котором датчик угловой скорости размещен на кронштейне.
15. Ротор по п.1, в котором датчик угловой скорости размещен в полости, выполненной во вращающей лопасти.
Версия для печати
Дата публикации 31.01.2007гг
Created/Updated: 25.05.2018
|








