| Начало раздела Производственные, любительские Радиолюбительские Авиамодельные, ракетомодельные Полезные, занимательные | Хитрости мастеру Электроника Физика Технологии Изобретения | Тайны космоса Тайны Земли Тайны Океана Хитрости Карта раздела | |
| Использование материалов сайта разрешается при условии ссылки (для сайтов - гиперссылки) | |||
Навигация: => | На главную/ Каталог патентов/ В раздел каталога/ Назад / |
|
ИЗОБРЕТЕНИЕ
Патент Российской Федерации RU2247861
![]()
ВЕТРОДВИГАТЕЛЬ ДЛЯ ВЕТРЯКА
Имя изобретателя: Гроховский Рудольф Львович
Имя патентообладателя: Гроховский Рудольф Львович
Адрес для переписки: 238450, Калининградская обл., г. Мамоново, ул. Портовая, 22, Р.Л. Гроховскому
Дата начала действия патента: 2003.12.18
Изобретение относится к области ветроэнергетики. Технический результат заключается в создании ветродвигателя, способного в больших масштабах преобразовывать в механическую работу энергию ветровых потоков и приводить в движение любые виды водяных насосов, компрессоров и генераторов. Ветродвигатель содержит статор и ротор с парусоподобными плоскостями, расположенными по всей окружности ротора, причем ротор выполнен в виде перевернутой на 180° кольцевой рельсовой колеи, а статор - в виде горизонтально установленной под ротором кольцевой площадки, на которой размещен непрерывный ряд электрогенераторов, на валу которых расположены колесные пары, на которые опирается ротор рельсовой колеей.
ОПИСАНИЕ ИЗОБРЕТЕНИЯ
Заявляемое изобретение относится к ветроэнергетике и является устройством для использования энергии ветровых потоков атмосферного воздуха как в производственных так и в бытовых нуждах.
Аналогом (прототипом) является ветродвигатель, содержащий статор и ротор с парусоподобными плоскостями, расположенными по всей окружности ротора (см. RU, 2125182 С1, кл. F 03 D 5/04, 20.01.1999, 2 с.).
Недостатками этого устройства являются ограниченная мощность, шумность в эксплуатации и неудобство в обслуживании.
Целью заявляемого изобретения является создание ветродвигателя, способного в больших масштабах преобразовывать в механическую работу энергию ветровых потоков атмосферного воздуха и за счет этого приводить в движение любые виды водяных насосов, воздушных компрессоров и генераторов электрического тока разнообразных конструкций.
Сущностью изобретения является то, что ротор ветродвигателя выполнен в виде горизонтально расположенного кольца, изготовленного из жестких материалов и несущего на своей поверхности один или несколько рядов парусообразных плоскостей, каждая из которых в нужный момент имеет возможность поворачиваться вокруг своей оси на любой, необходимый для движения ротора угол.
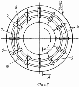
На прилагаемых чертежах изображен один из конструктивных вариантов ротора ветродвигателя, корпус которого выполнен в виде кольцевой многометровой рельсовой колеи, перевернутой на 180° и установленной над кольцевой статорной площадкой на вращающиеся опоры, выполненные в виде замкнутого кольцевого ряда колесных пар.
![]() | ![]() |
![]() | На фиг.1 изображен общий вид сбоку ветродвигателя. На фиг.2 изображен вид сверху ветродвигателя. На фиг.3 изображен разрез по А-А на фиг.2. Ветродвигатель состоит из ротора 1 и статора 2, причем ротор 1 выполнен в виде перевернутой на 180° многометровой кольцевой рельсовой колеи 3, имеющей два рельса 4, скрепленных между собой непрерывным рядом шпал 5. На шпалах 5 располагаются установленные на шарнирах 6 парусоподобные плоскости 7, которые фиксируются в рабочем положении упорами 8. Парусоподобные плоскости 7 оборудованы мачтовыми штоками 9 и флюгерными элементами 10. |
Статор 2 выполнен в виде горизонтально установленной под ротором 1 кольцевой площадки, на которой размещен непрерывный ряд электрических генераторов 11. На валу электрических генераторов 11 расположены колесные пары 12. На эти колесные пары 12 опирается ротор 1 своей перевернутой рельсовой колеей 3.
РАБОТА ВЕТРОДВИГАТЕЛЯ ДЛЯ ВЕТРЯКА ОСУЩЕСТВЛЯЕТСЯ СЛЕДУЮЩИМ ОБРАЗОМ
Под воздействием набегающего ветрового потока все парусоподобные плоскости 7 с помощью флюгерных элементов 10 разворачиваются на своих шарнирах 6 в нужном для вращения ротора 1 направлении. На фиг.2 видно, как каждая из ряда парусоподобных плоскостей 7, расположенных в правом секторе окружности ротора 1, зафиксировалась в рабочем положении с помощью упора 8. В левом секторе окружности ротора 1 видно, как флюгерные элементы 10 развернули парусоподобные плоскости 7 в положение самого низкого аэродинамического сопротивления движущемуся навстречу ветровому потоку.
С таким расположением парусоподобных плоскостей 7 ротор ветродвигателя, опираясь рельсами 4 на колесные пары, начинает вращаться по часовой стрелке.
Работающий ротор 1 ветродвигателя передает свое вращательное движение с помощью рельсовой колеи 3 через колесные пары 12 на оси электрических генераторов 11, последовательно расположенных на кольцевой поверхности статора 2.
Например, парусоподобные плоскости 7 могут осуществлять разворот и фиксацию в рабочее положение не только с помощью ветра и упоров 8, но и с помощью элементарных автоматических систем, давно применяющихся на многих существующих конструкциях ветровых устройств.
Изобретение предусматривает целый ряд вариантов компоновки механизмов и устройств на поверхности ротора и статора заявляемого здесь устройства ветродвигателя. Эти варианты не требуют эскизного подтверждения на дополнительных фигурах прилагаемого чертежа.
Существенные признаки изобретения позволяют, например, превратить ветродвигатель в единый кольцевой ветроэлектрогенератор высокой мощности с горизонтально расположенным статором и ротором многометрового диаметра.
Повороты парусоподобных плоскостей ветродвигателя могут и осуществлять элементарные автоматические системы управления.
ФОРМУЛА ИЗОБРЕТЕНИЯ
1. Ветродвигатель, содержащий статор и ротор с парусоподобными плоскостями, расположенными по всей окружности ротора, отличающийся тем, что ротор выполнен в виде перевернутой на 180° кольцевой рельсовой колеи.
2. Ветродвигатель по п.1, отличающийся тем, что статор выполнен в виде горизонтально установленной под ротором кольцевой площадки, на которой размещен непрерывный ряд электрических генераторов, на валу которых расположены колесные пары, на которые опирается ротор рельсовой колеей.
Версия для печати
Дата публикации 31.01.2007гг
Created/Updated: 25.05.2018
|



